GM Service Manual Online
For 1990-2009 cars only
Makes
🢒
Isuzu
🢒
2000
🢒
S/T Isuzu - 2WD
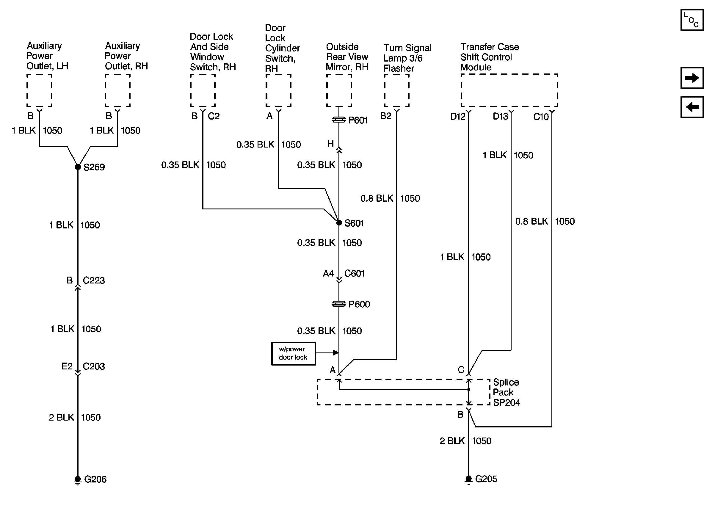
🢒 Cell 14: G205 and G206
Cell 14: G205 and G206
Cell 14: G205 and G206
Power and Grounding Components
Cell 14: G203 and G204
Cell 14: G402, G422 and G475