GM Service Manual Online
For 1990-2009 cars only

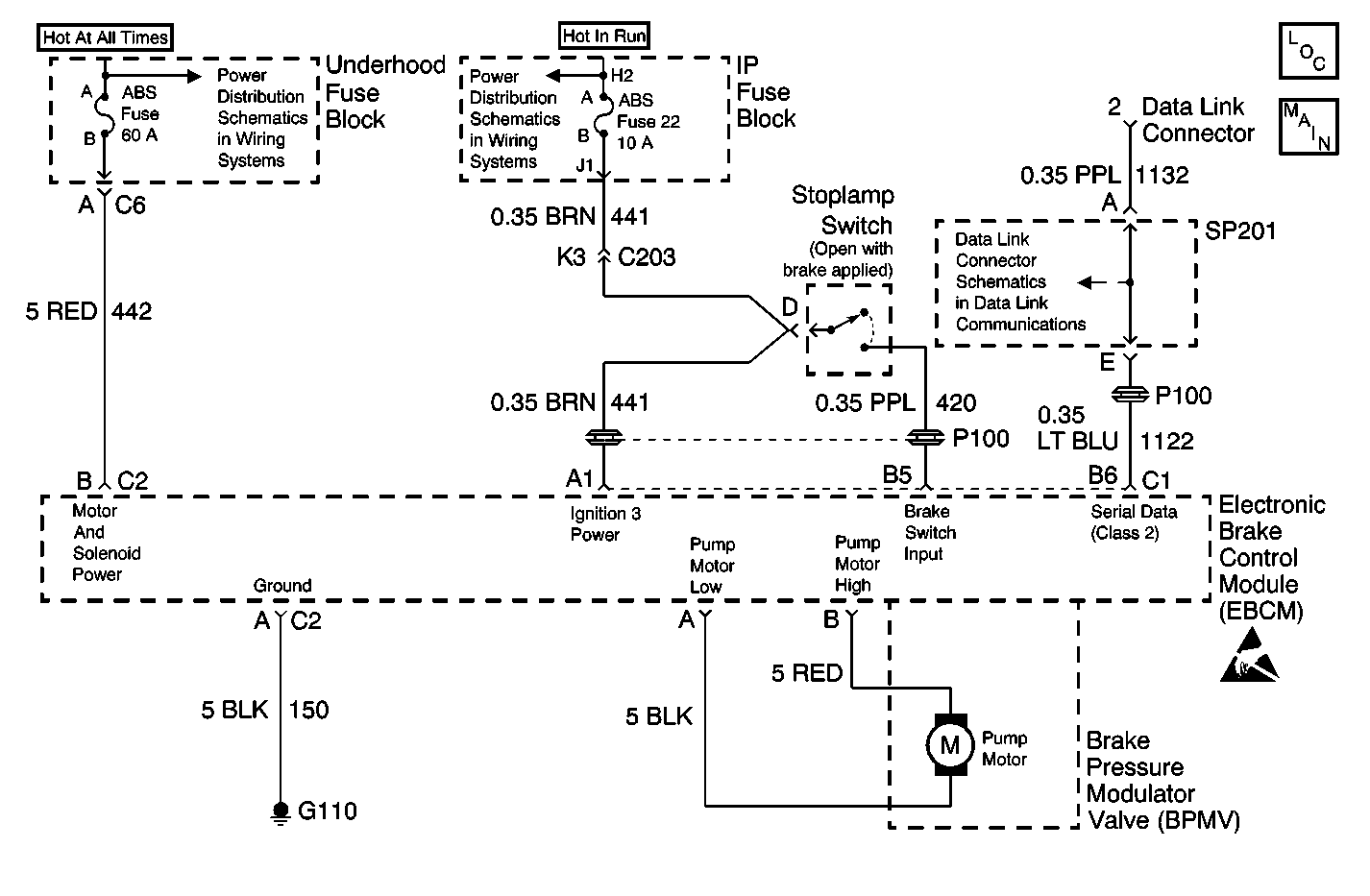
Object Number: 550738  Size: MF
ABS Components
Power and Ground

Circuit Description

The EBCM relay closes and vehicle battery voltage is applied to the high side of all six solenoid coils (three isolation solenoid coils and three dump solenoid coils) whenever ABS valve activity may be required. Each valve solenoid is energized when the EBCM microprocessor turns on an output driver transistor to short the low side of the solenoid coil to ground. The EBCM microprocessor monitors the state of the circuit on the low side of each solenoid coil with a feedback circuit to the EBCM microprocessor. Whenever the EBCM relay is closed and a solenoid coil output driver transistor is not turned on, the feedback voltage should be high. If it is not, and the problem persists long enough, the open solenoid coil DTC will set. If the EBCM relay is not turned on, the feedback voltage should be low. If it is not, and the problem persists long enough, the shorted solenoid coil DTC will set. The relay and the six solenoid coils are located within the EBCM.

Conditions for Running the DTC

    • Ignition switch in the RUN position.
    • The ABS bulb check is complete
    • EBCM internal relay closed

Conditions for Setting the DTC

Open Circuit

Low voltage is present on the EBCM solenoid driver circuit when the voltage is expected to be high (solenoid not energized).

Shorted Circuit

High voltage is present on the EBCM solenoid driver circuit when the voltage is expected to be low (solenoid energized).

Action Taken When the DTC Sets

    • The ABS indicator lamp turns on
    • The ABS disables

Malfunction responses to DTC C0241--C0254 vary, depending on the affected subsystem.

   • 

ABS--Ignition latched

   • 

DRP--DRP critical (all except DTC C0243/44, C0247/48 which are DRP non critical)

For a detailed explanation of DTC malfunction responses, refer to Self-Diagnostics

Conditions for Clearing the DTC

    • Repair the conditions responsible for setting the DTC.
    • Use the Clear DTCs function on the Scan Tool

Diagnostic Aids

This DTC usually sets because of an open/shorted solenoid coil within the EBCM. The solenoid coil is located within the BPMV and is not serviceable. If the test does not repair the DTC, then replace the EBCM.

If this DTC sets with other DTCs, check for the following conditions:

    • A poor EBCM power or signal ground
    • A poor EBCM power or ignition feed

Test Description

The numbers below refer to the steps in the diagnostic table:

  1. The function test turns ON the solenoids. The DTC sets if the malfunction is present and the solenoids are commanded ON.

Step

Action

Value(s)

Yes

No

1

Did you perform the ABS Diagnostic System Check?

--

Go to Step 2

Go to Diagnostic System Check

2

  1. Install the scan tool.
  2. Use the scan tool in order to clear the DTCs.
  3. Using the special functions of the scan tool, perform a Function Test .

Does the DTC set?

--

Go to Step 3

Go to Step 4

3

Replace the EBCM.

Refer to Electronic Brake Control Module Replacement .

Did you complete the replacement?

--

Go to Step 4

--

4

Operate the vehicle under the conditions for running the DTC as specified in the supporting text.

Does the DTC set?

--

Go to Step 2

System OK