GM Service Manual Online
For 1990-2009 cars only

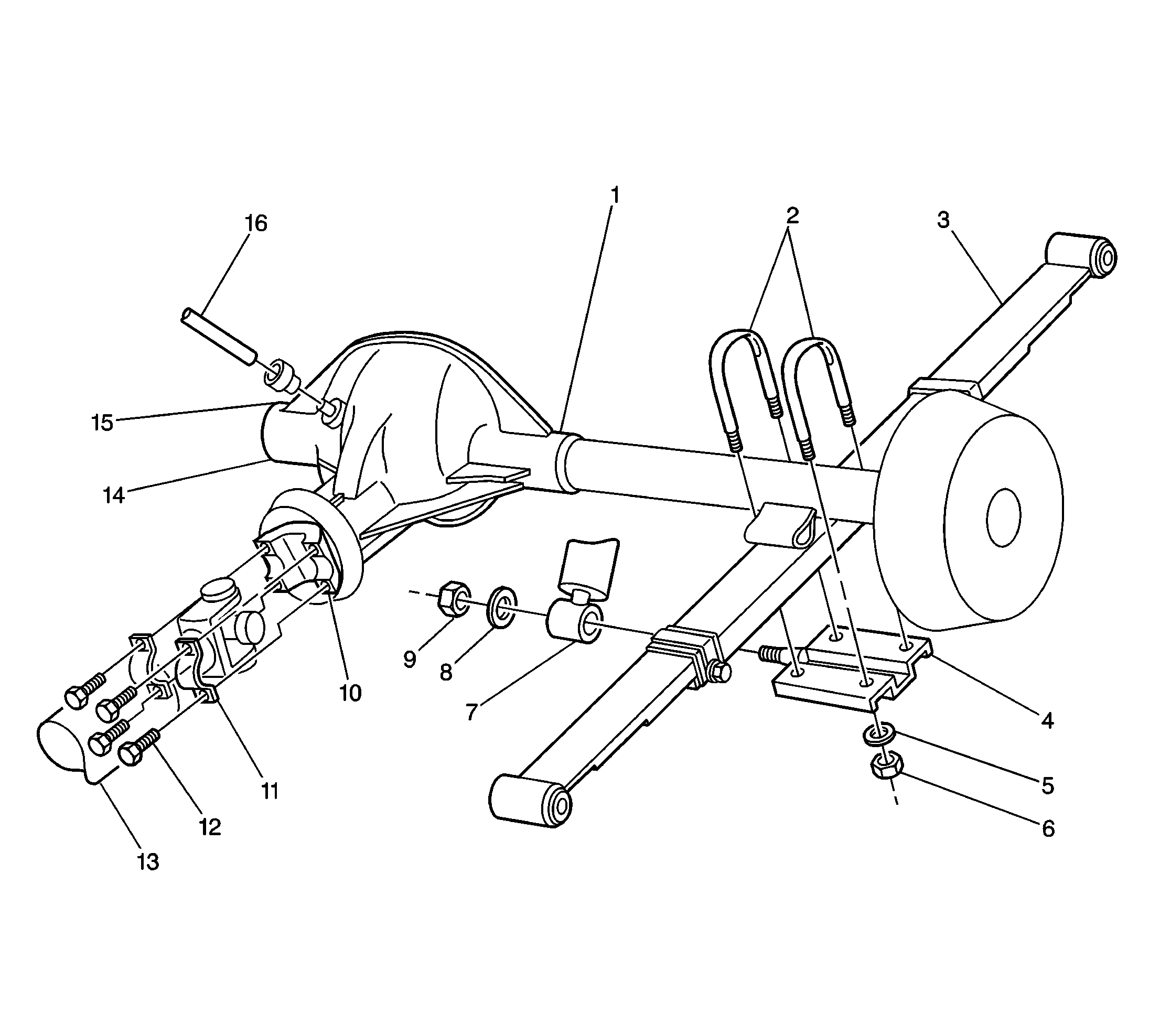
Object Number: 141862  Size: LF
(1)Axle Housing
(2)U-Bolts
(3)Spring Assembly
(4)Anchor Plate
(5)Washer
(6)Nut
(7)Shock Absorber
(8)Washer
(9)Nut
(10)Pinion Flange
(11)Retainer
(12)Bolt
(13)Propeller Shaft
(14)Axle Housing
(15)Axle Housing
(16)Vent Hose

The 7 5/8 inch ring gear rear axle uses a conventional ring and pinion gear set in order to transmit the force of the engine to the rear wheels. This gear set transfers driving force at a 90° angle from the propeller shaft to the axle shafts. The centerline of the pinion gear is below the centerline of the ring gear (hypoid drive).

All parts necessary to transmit power from the propeller shaft to the rear wheels are enclosed in a salisbury-type axle housing (a carrier casting with tubes pressed and welded into the carrier). This axle is designed for use with an open driveline and leaf springs.

The axle assembly is a semi-floating type in which the vehicle weight is carried on the axle housing. The axle shafts are supported at the wheel end of the shaft by a roller bearing that is pressed into the housing. The shafts are retained in the housing by retaining clips within the differential case. The pinion gear is supported by two tapered roller bearings. The pinion depth is set by a shim pack located between the gear end of the pinion and the roller bearing that is pressed onto the pinion. The pinion bearing preload is set by crushing a collapsible spacer between the bearings in the axle housing.

The differential allows the wheels to turn at different rates of speed while the rear axle continues to transmit the driving force. This prevents tire scuffing when going around corners and prevents premature wear on internal axle parts.

Two tapered roller bearings support the differential case. The differential ring gear is meshed with the pinion gear by using selective shims and spacers between the bearings and the axle housing. The ring gear is bolted onto the differential case with ten left-hand thread bolts. In order to move the ring gear, remove shims from one side and add an equal number to the other side. These shims preload the bearings which are pressed onto the differential case. Two bearing caps hold the differential into the rear axle housing.

The rear axle is sealed with a pinion seal, a seal at each axle shaft end, and by a gasket between the rear cover and the axle housing.

A removable steel cover at the rear of the differential case permits rear axle service without removing the entire assembly from the vehicle. The carrier cover does not have a drain plug.