Inspection Procedure
The brake pads must have freedom of movement within the caliper and
knuckle. If movement is restricted by debris or buildup of corrosion, the
brake pads may remain against the rotor after the service brake pedal is
released.
- Remove the wheel from the vehicle. Refer to
Wheel Removal
.
Notice: Use care to avoid permanently bending the anti-rattle clips
on the outboard brake pad.
- Move the caliper (2) outward in relation to the rotor (3) and the knuckle
(1) using a C-clamp.
Important: The brake pads should move easily within the knuckle.
- Check the outer brake pad (2) for freedom of movement relative to the
knuckle abutment (1).
- Push the caliper (2) inward as far as possible
using your hands.
Important: The brake pads should move easily within the knuckle.
- Check the inner brake pad (4) for freedom of movement relative to the
knuckle abutment (1).
- Repeat this procedure for the other side of the vehicle.
| • | RESTRICTED MOVEMENT on one or more brake pads - Go to the
Cleaning Procedure |
| • | FREEDOM OF MOVEMENT on all brake pads - Go to the Installation
Procedure |
Cleaning Procedure
- Remove the brake pads from the caliper. Refer to
Brake Pads Replacement
.
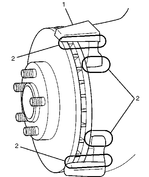
- Remove all of the debris and corrosion from the
knuckle (1) using a wire brush at the points (2) where the brake pads come
in contact with the knuckle.
- Remove all of the debris and corrosion from the
brake pad shoes (1) using a wire brush at the points (2) where the shoes
come in contact with the knuckle.
- Coat the knuckle (1) with silicone grease in
the areas (2) of the knuckle (1) where the brake pads come in
contact. Use silicone grease P/N 18010909.
- Install the brake pads and the caliper on the vehicle. Refer to
Brake Pads Replacement
.
- Perform the Cleaning Procedure Steps 1 through 5 for the other
caliper if necessary.
Installation Procedure
- Install the wheel on the vehicle. Refer to
Wheel Installation
.
Caution: Do not move the vehicle until a firm brake pedal is obtained. Air in
the brake system can cause the loss of brakes with possible personal injury.
- Pump the brake pedal as many times as necessary to obtain a firm brake
pedal.