GM Service Manual Online
For 1990-2009 cars only

Removal Procedure

  1. Drain the engine coolant. Refer to Cooling System Draining and Filling in Engine Cooling.
  2. Remove the right sound insulator.
  3. Remove the left sound insulator.
  4. Remove the console, if equipped. Refer to Console Replacement in Instrument Panel, Gauges, and Console.
  5. Remove the floor air outlet duct. Refer to Floor Air Outlet Replacement .
  6. Raise and support the vehicle. Refer to Lifting and Jacking the Vehicle in General Information.
  7. Remove the heater hoses at the core. Refer to Heater Hoses Replacement .
  8. Lower the vehicle.

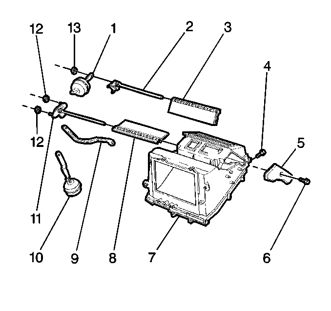
  9. Object Number: 367436  Size: SH
  10. Remove the heater core cover (5).
  11. Remove the heater core (2).

  12. Object Number: 367476  Size: MH
  13. Remove the heater core shroud (7).

  14. Object Number: 367478  Size: SH
  15. Remove the mode valve vacuum actuator (1).
  16. Remove the mode valve shaft (2).
  17. Remove the mode valve (3).

Installation Procedure


    Object Number: 367478  Size: SH
  1. Install the mode valve (3).
  2. Install the mode valve shaft (2).
  3. Install the mode valve vacuum actuator (1).

  4. Object Number: 367476  Size: MH

    Notice: Use the correct fastener in the correct location. Replacement fasteners must be the correct part number for that application. Fasteners requiring replacement or fasteners requiring the use of thread locking compound or sealant are identified in the service procedure. Do not use paints, lubricants, or corrosion inhibitors on fasteners or fastener joint surfaces unless specified. These coatings affect fastener torque and joint clamping force and may damage the fastener. Use the correct tightening sequence and specifications when installing fasteners in order to avoid damage to parts and systems.

  5. Install the heater core shroud (7).
  6. Tighten
    Tighten the screws to 1 N·m (9 lb in).


    Object Number: 367436  Size: SH
  7. Install the heater core (2).
  8. Tighten
    Tighten the screws to 1 N·m (9 lb in).

  9. Install the heater core cover (5).
  10. Tighten
    Tighten the screws to 1 N·m (9 lb in).

  11. Raise and suitably support the vehicle. Refer to Lifting and Jacking the Vehicle in General Information.
  12. Install the heater hoses at the core. Refer to Heater Hoses Replacement .
  13. Lower the vehicle.
  14. Install the floor air outlet duct.
  15. Tighten
    Tighten the screws to 1 N·m (9 lb in).

  16. Install the console, if equipped. Refer to Console Replacement in instrument Panel, Gauges, and Console.
  17. Install the right sound insulator.
  18. Install the left sound insulator.
  19. Refill the engine coolant. Refer to Cooling System Draining and Filling in Engine Cooling.