GM Service Manual Online
For 1990-2009 cars only

Emergency Locking Retractor Checks Emergency Locking Retractors

    Caution: Perform this test in an area clear of other vehicles or obstructions. Do not conduct this test on the open road. A large, empty parking lot is suitable. Failure to observe this precaution may result in damage to the vehicle and possible personal injury.

  1. Fasten the seat belts. An assistant is needed when the retractor under test is not part of the driver seat belt.
  2. Accelerate the vehicle slowly to 16 km/h (10 mph) and apply the brakes firmly.
  3. Verify that the seat belt locks when braking firmly.
  4. If the seat belt does not lock, proceed with steps 5 through 8.
  5. Remove the seat belt retractor assembly.
  6. Tilt the seat belt retractor slowly.
  7. Check that the seat belt webbing can be pulled from the retractor at an inclination of 15 degrees or less and cannot be pulled from the retractor at an inclination of 45 degrees or more.
  8. If the seat belt retractor does not operate as described, replace the retractor assembly.

Emergency Locking Retractor Checks Driver Retractor Inspection

Removal Procedure

Caution: The passenger and driver side retractors use an emergency absorbing feature which allows the retractor to move in relation to the mounting surface. The retractor or the energy absorbing feature cannot be repaired and must be replaced. Replace the driver or passenger retractor side belt assembly if retractor movement is indicated or if there is any question. Damage, whether visible or not, could result in serious personal injury in the event of an accident.

To inspect the retractor perform the following steps:

  1. (Sedan Only) Remove the center pillar upper trim panel. Refer to Roof.
  2. (Sedan Only) Remove the center pillar lower trim panel. Refer to Seat and Carpet.
  3. (Coupe Only) Remove the rear quarter trim panel. Refer to Rear Quarters.

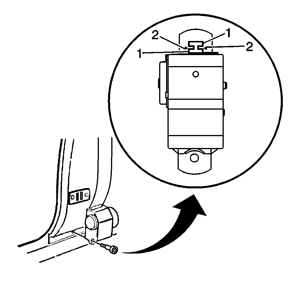
Object Number: 183839  Size: SH

There are two arrows (2) marked on the energy absorbing feature that are visible without removing the retractor. Also, part of the grid (1) for the energy absorbing feature is visible without removing the retractor. If the arrows (2) are not visible, or less of the retractor grid (1) is visible than is shown in the figure, or if there is any question, replace the driver or passenger retractor side belt assembly.

Installation Procedure

  1. (Coupe Only) Install the rear quarter trim panel. Refer to Rear Quarters.
  2. (Sedan Only) Install the carpet retainer. Refer to Seats and Carpet.
  3. (Sedan Only) Install the center pillar upper trim panel. Refer to Roof.