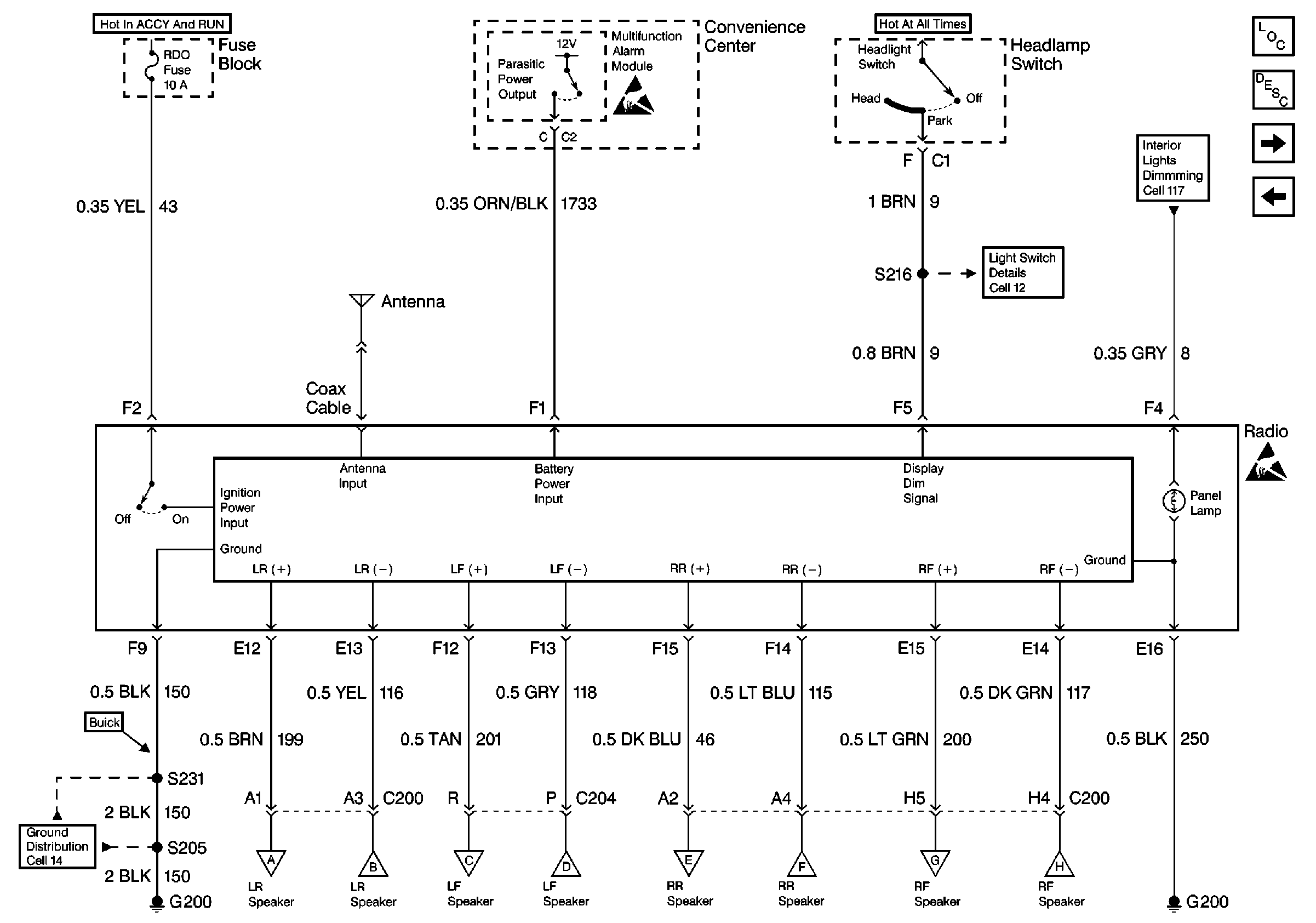
| Figure 1: |
Cell 150: Radio (1 of 4)
|
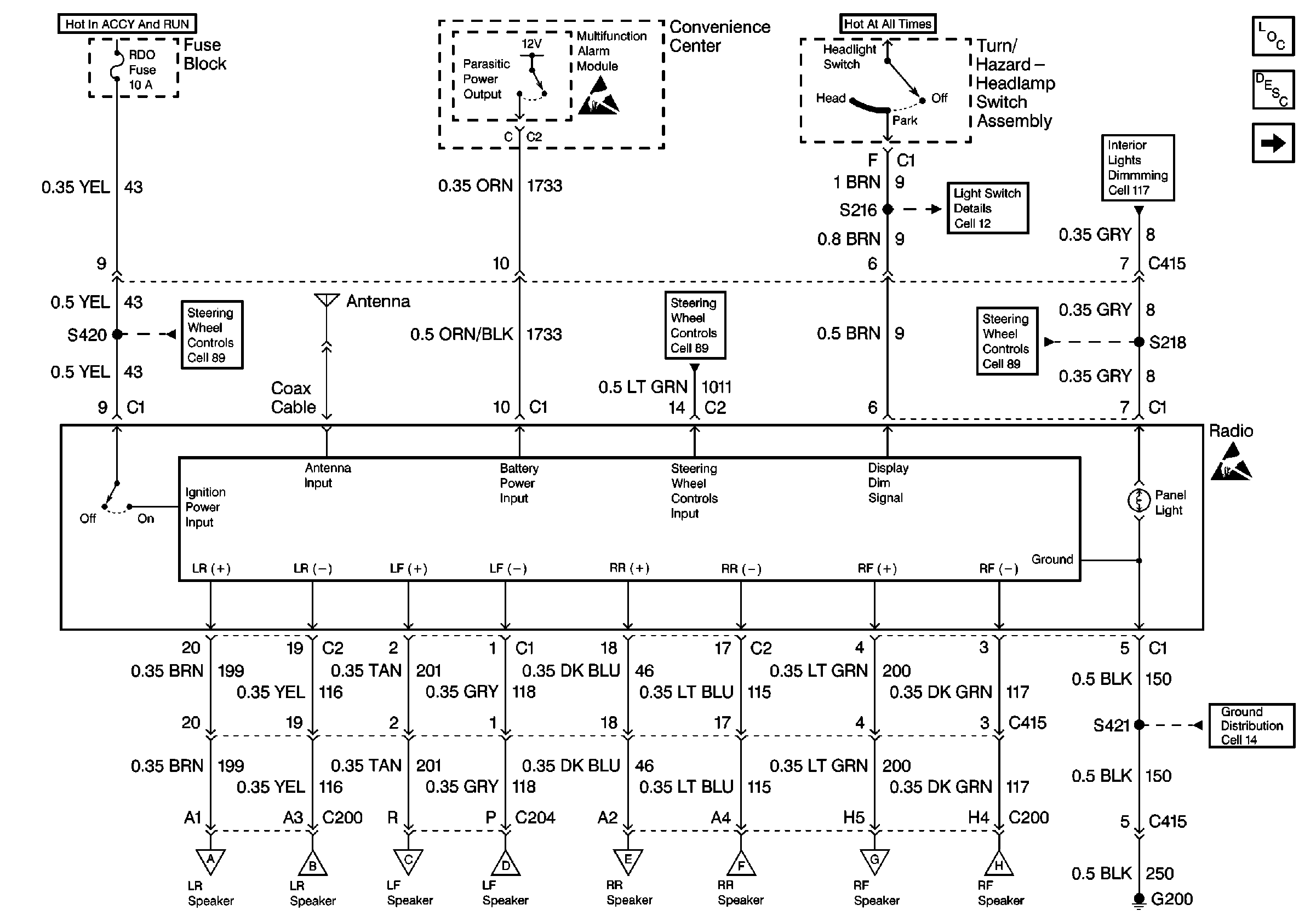
| Figure 2: |
Cell 150: Radio (2 of 4)
|
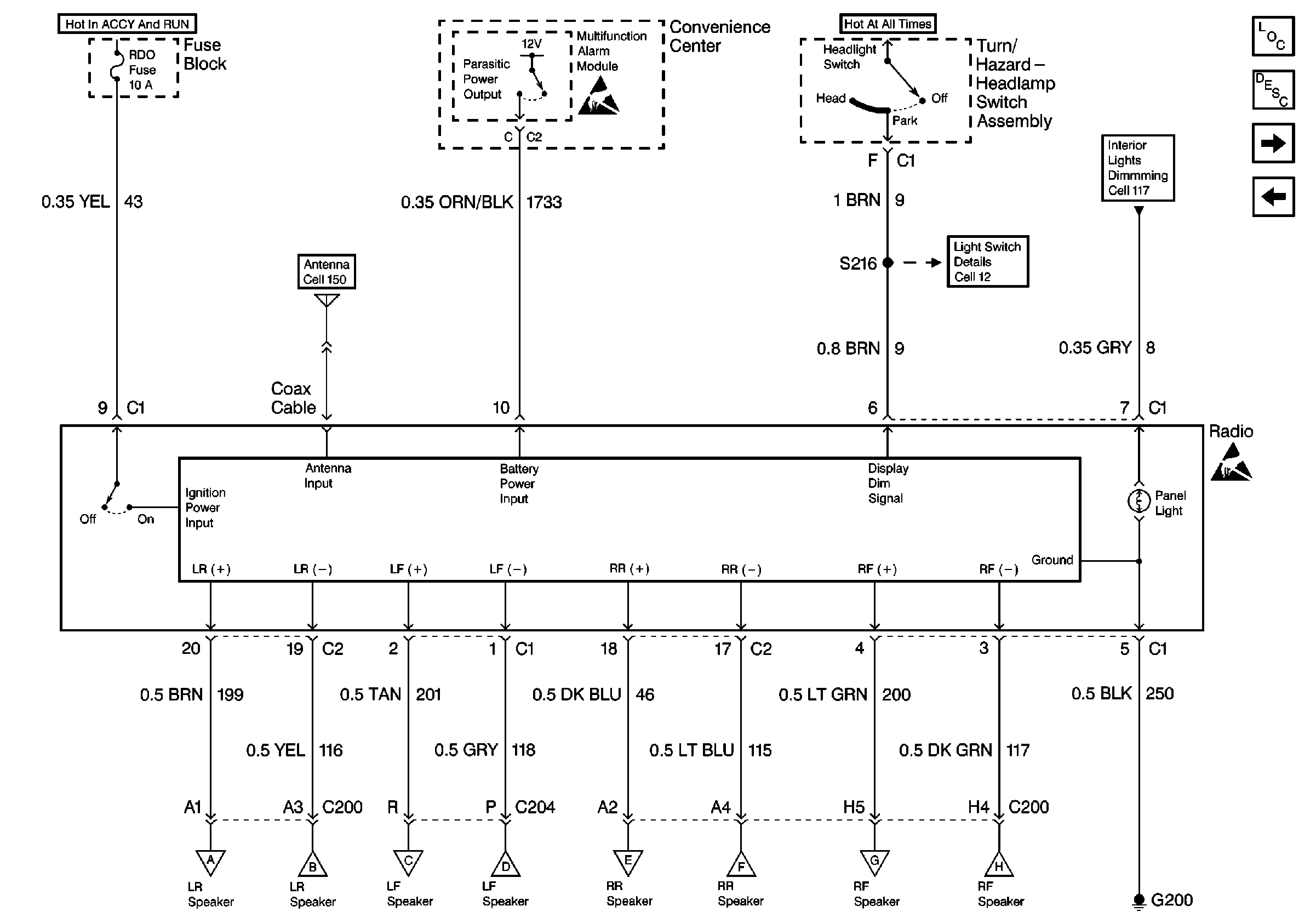
| Figure 3: |
Cell 150: Radio (3 of 4)
|
| Figure 4: |
Cell 150: Radio (4 of 4)
|
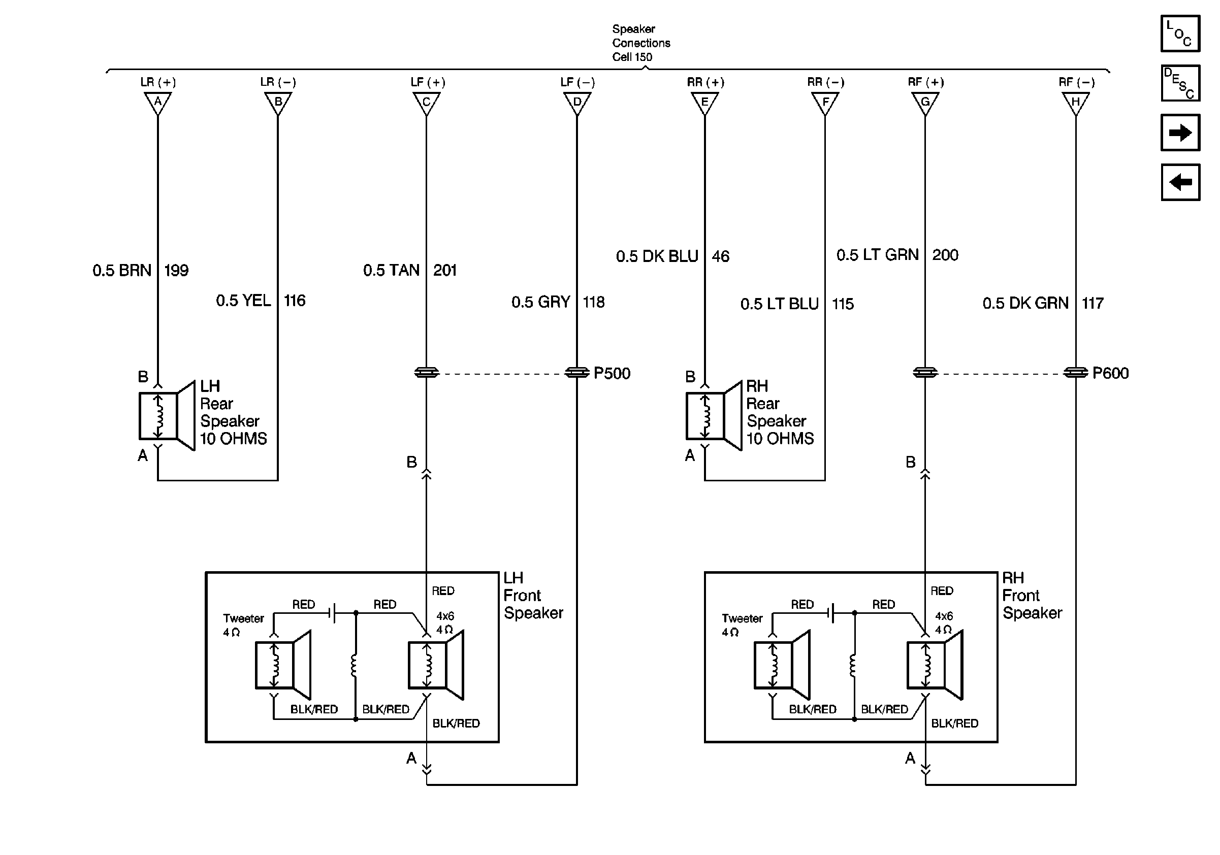
| Figure 5: |
Cell 150: Front and Rear Speakers (1 of 2)
|
| Figure 6: |
Cell 150: Front and Rear Speakers (2 of 2)
|
| Figure 7: |
Cell 150: Remote Cassette Player
|
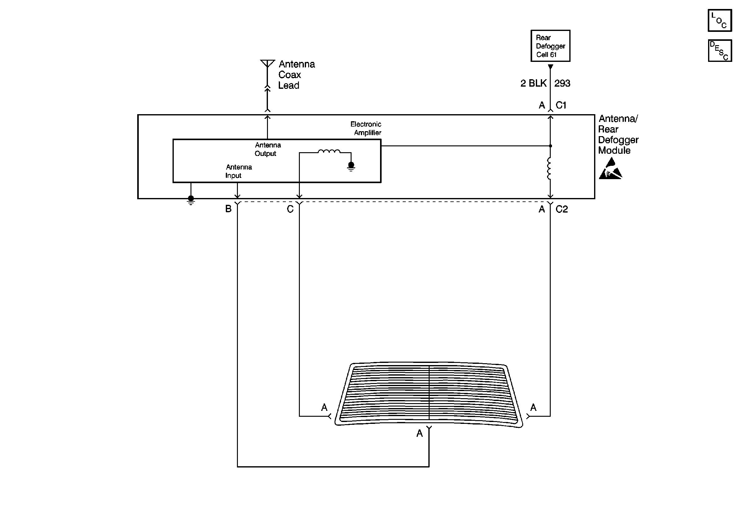
| Figure 8: |
Cell 150: Antenna/Rear Defogger
|