GM Service Manual Online
For 1990-2009 cars only
Figure 1:

Cell 11: Fan, PCM Bat, HVAC BLO MOT, and ABS/EVO Fuse


Object Number: 523352  Size: FS
Power and Grounding Component Views
Cell 11: ERLS and ABS Fuse
OBD II Symbol Description Notice
Handling ESD Sensitive Parts Notice
Handling ESD Sensitive Parts Notice
Figure 2:

Cell 11: ERLS and ABS Fuse


Object Number: 523366  Size: FS
Power and Grounding Component Views
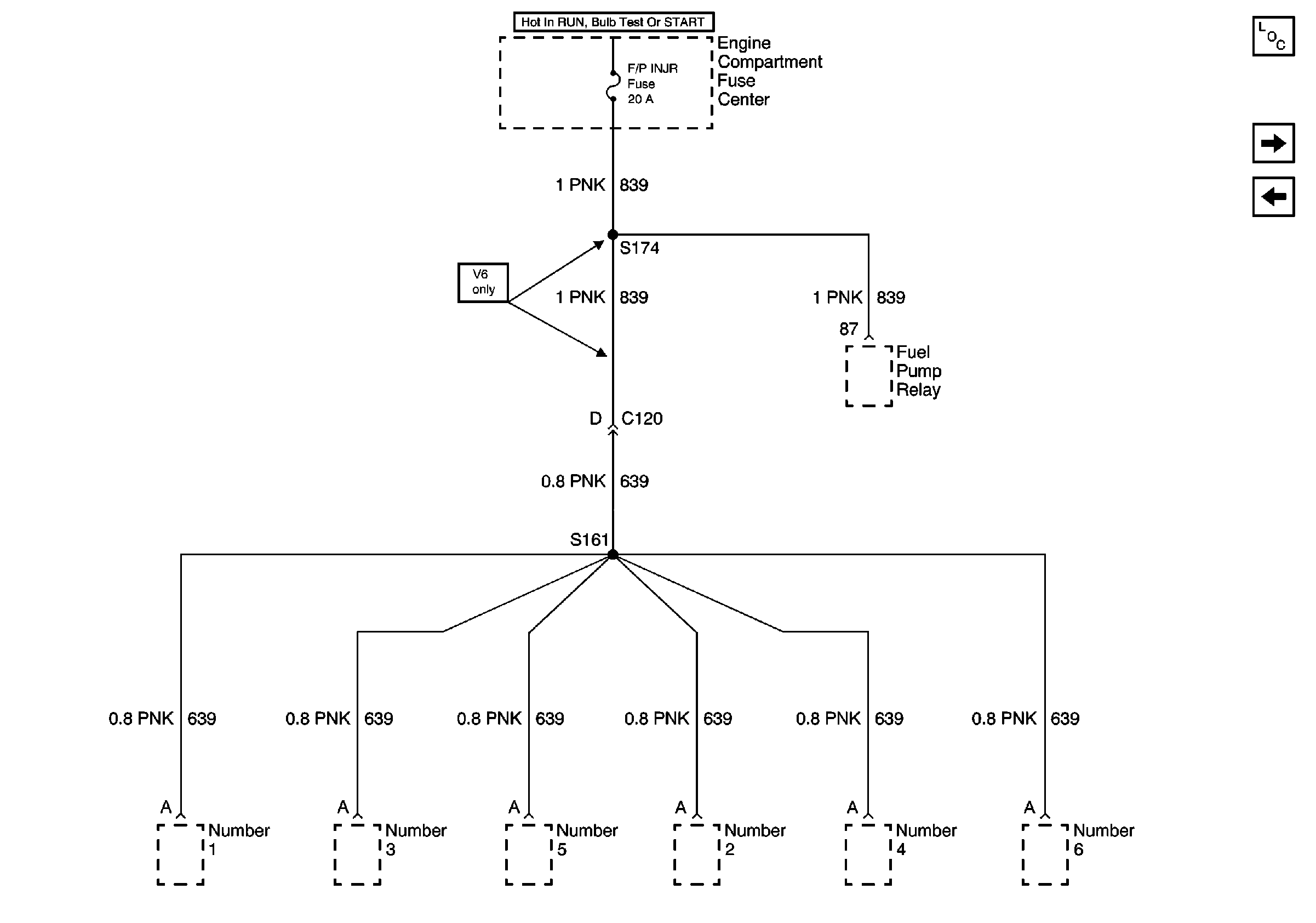
Cell 11: F/R INJR Fuse
Cell 11: Fan, PCM Bat, HVAC BLO MOT, and ABS/EVO Fuse
Handling ESD Sensitive Parts Notice
SIR Caution
Figure 3:

Cell 11: F/R INJR Fuse


Object Number: 523422  Size: FS
Cell 11: Horn, DR LK 1 and Tail LPS Fuse
Cell 11: ERLS and ABS Fuse
Power and Grounding Component Views
Figure 4:

Cell 11: Horn, DR LK 1 and Tail LPS Fuse


Object Number: 523435  Size: FS
Power and Grounding Component Views
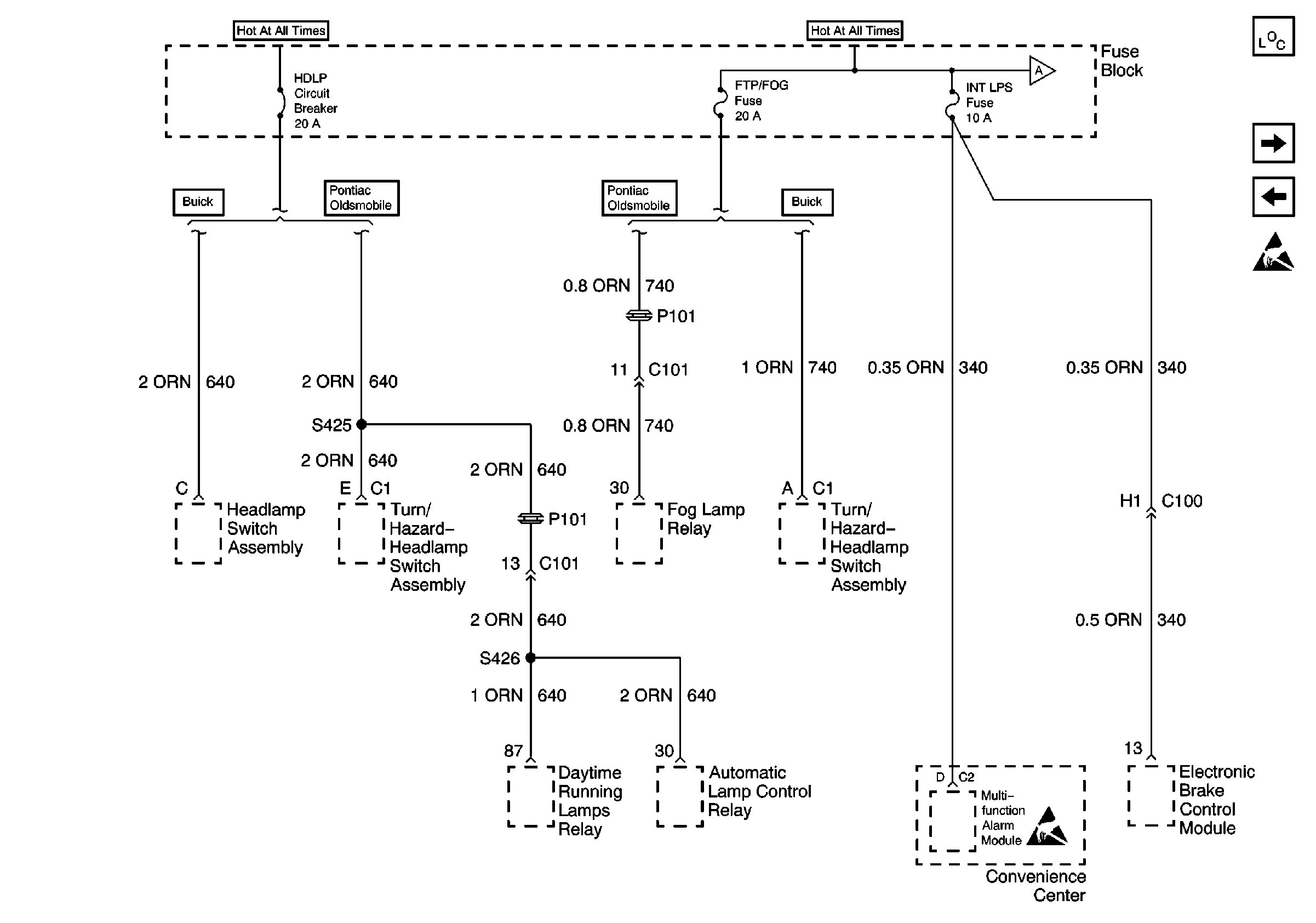
Cell 11: FTP/FOG and INT LPS Fuse and HDLP Circuit Breaker
Cell 11: F/R INJR Fuse
Figure 5:

Cell 11: FTP/FOG and INT LPS Fuse and HDLP Circuit Breaker


Object Number: 523426  Size: FS
Power and Grounding Component Views
Cell 11: PRNDL Fuse
Cell 11: Horn, DR LK 1 and Tail LPS Fuse
Handling ESD Sensitive Parts Notice
Handling ESD Sensitive Parts Notice
Figure 6:

Cell 11: PRNDL Fuse


Object Number: 523440  Size: FS
Power and Grounding Component Views
Cell 11: Air Bag and Cruise Fuse
Cell 11: FTP/FOG and INT LPS Fuse and HDLP Circuit Breaker
Handling ESD Sensitive Parts Notice
SIR Caution
Figure 7:

Cell 11: Air Bag and Cruise Fuse


Object Number: 523443  Size: FS
Power and Grounding Component Views
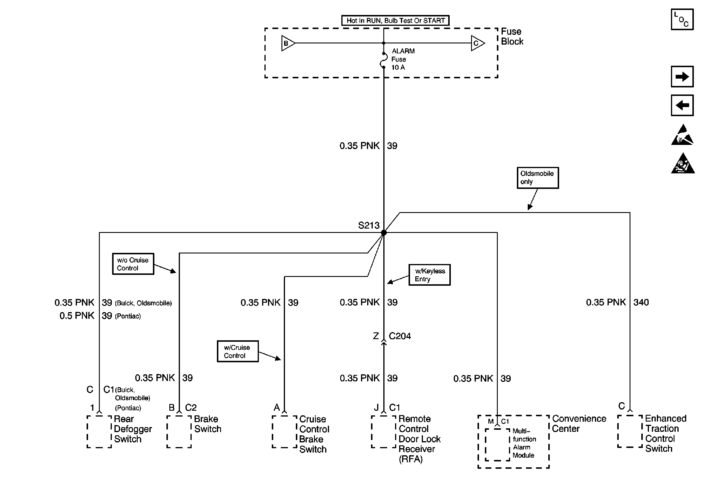
Cell 11: Alarm Fuse
Cell 11: PRNDL Fuse
Handling ESD Sensitive Parts Notice
Figure 8:

Cell 11: Alarm Fuse


Object Number: 523448  Size: FS
Power and Grounding Component Views
Cell 11: Turn and RR Defogger Fuse
Cell 11: Air Bag and Cruise Fuse
Handling ESD Sensitive Parts Notice
SIR Caution
Figure 9:

Cell 11: Turn and RR Defogger Fuse


Object Number: 523451  Size: FS
Power and Grounding Component Views
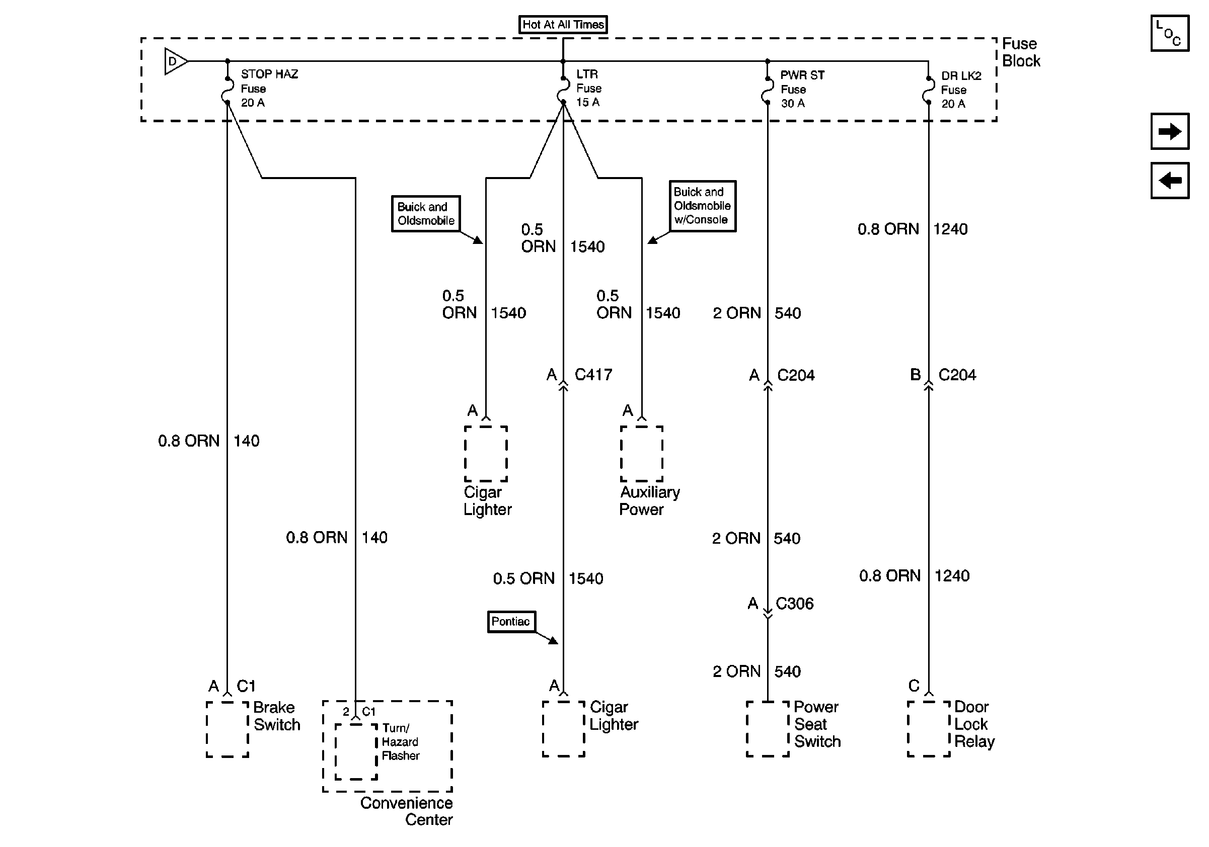
Cell 11: Stop Hazard, LTR, PWR ST and DR LK 2 Fuse
Cell 11: Alarm Fuse
Handling ESD Sensitive Parts Notice
Figure 10:

Cell 11: Stop Hazard, LTR, PWR ST and DR LK 2 Fuse


Object Number: 523455  Size: FS
Power and Grounding Component Views
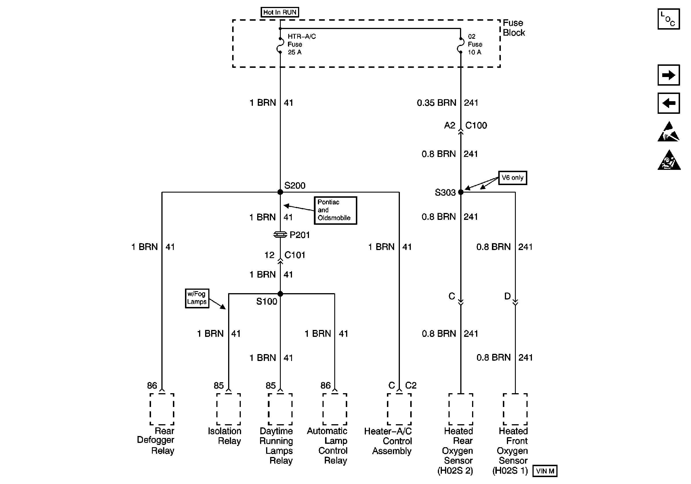
Cell 11: A/C and O2 Fuse
Cell 11: Turn and RR Defogger Fuse
Figure 11:

Cell 11: A/C and O2 Fuse


Object Number: 523463  Size: FS
Power and Grounding Component Views
Cell 11: DR UNLK, INST LPS Fuse
Cell 11: Stop Hazard, LTR, PWR ST and DR LK 2 Fuse
Handling ESD Sensitive Parts Notice
SIR Caution
Figure 12:

Cell 11: DR UNLK, INST LPS Fuse


Object Number: 523470  Size: FS
Power and Grounding Component Views
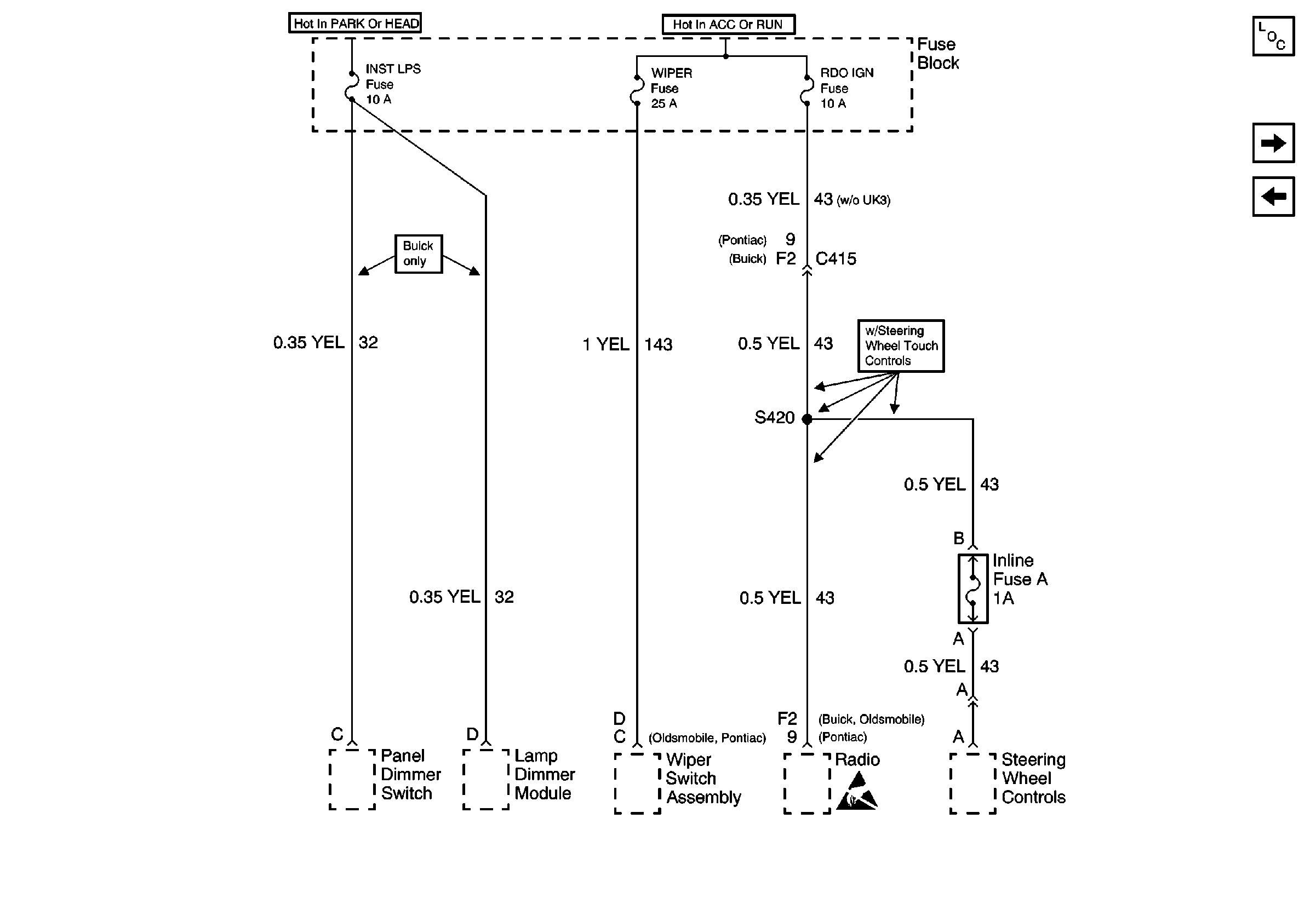
Cell 11: INST LPS, Wiper, and RDO IGN Fuse
Cell 11: A/C and O2 Fuse
Handling ESD Sensitive Parts Notice
Handling ESD Sensitive Parts Notice
Handling ESD Sensitive Parts Notice
Handling ESD Sensitive Parts Notice
Figure 13:

Cell 11: INST LPS, Wiper, and RDO IGN Fuse


Object Number: 523545  Size: FS
Power and Grounding Component Views
Cell 11: DR UNLK, INST LPS Fuse
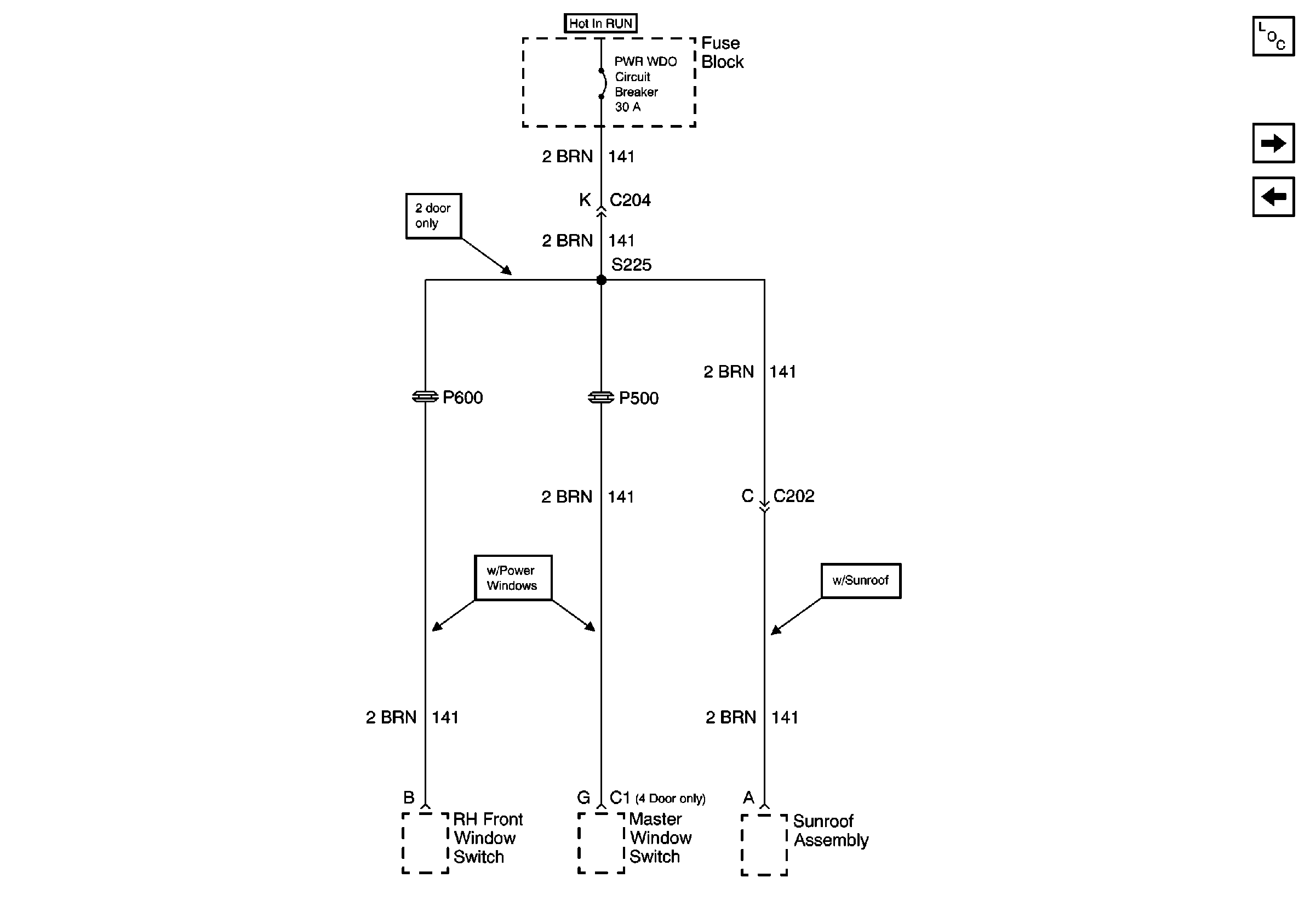
Cell 11: PWR WDO Circuit Breaker
Handling ESD Sensitive Parts Notice
Figure 14:

Cell 11: PWR WDO Circuit Breaker


Object Number: 523547  Size: FS
Power and Grounding Component Views
Cell 11: INST LPS, Wiper, and RDO IGN Fuse