GM Service Manual Online
For 1990-2009 cars only
Makes
🢒
Oldsmobile
🢒
1998
🢒
Achieva
🢒
Body and Accessories
🢒
Body Front End
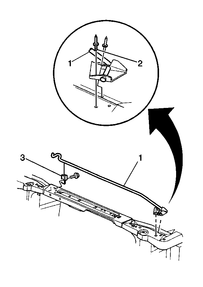
🢒 Hood Open Assist Rod Replacement
Removal Procedure
Raise and support the hood.
Remove the hood prop rod rivets (2).
Remove the hood prop rod (1).
Installation Procedure
Install the hood prop rod (1).
Install the hood prop rod rivets (2).