GM Service Manual Online
For 1990-2009 cars only

Outside Rearview Mirror Replacement Manual

Removal Procedure

  1. Remove the door rear view mirror bezel screw.
  2. Remove the door rear view mirror bezel.
  3. Remove remote control from the bezel.

  4. Object Number: 532428  Size: SH
  5. Remove the insulator (1).
  6. Remove the rear view mirror nuts (3).
  7. Remove the rear view mirror (4).

Installation Procedure


    Object Number: 532428  Size: SH
  1. Install the rear view mirror (4).
  2. Notice: Use the correct fastener in the correct location. Replacement fasteners must be the correct part number for that application. Fasteners requiring replacement or fasteners requiring the use of thread locking compound or sealant are identified in the service procedure. Do not use paints, lubricants, or corrosion inhibitors on fasteners or fastener joint surfaces unless specified. These coatings affect fastener torque and joint clamping force and may damage the fastener. Use the correct tightening sequence and specifications when installing fasteners in order to avoid damage to parts and systems.

  3. Install the rear view mirror nuts (3).
  4. Tighten
    Tighten the nut to 5.6 N·m (50 lb in).

  5. Install the insulator (1).
  6. Install remote control from the bezel.
  7. Install the door rear view mirror bezel.
  8. Install the door rear view mirror bezel screw.
  9. Tighten
    Tighten the screw to 1 N·m (9 lb in).

Outside Rearview Mirror Replacement Power

Removal Procedure

  1. Remove the door rear view mirror bezel screw.
  2. Remove the door rear view mirror bezel.

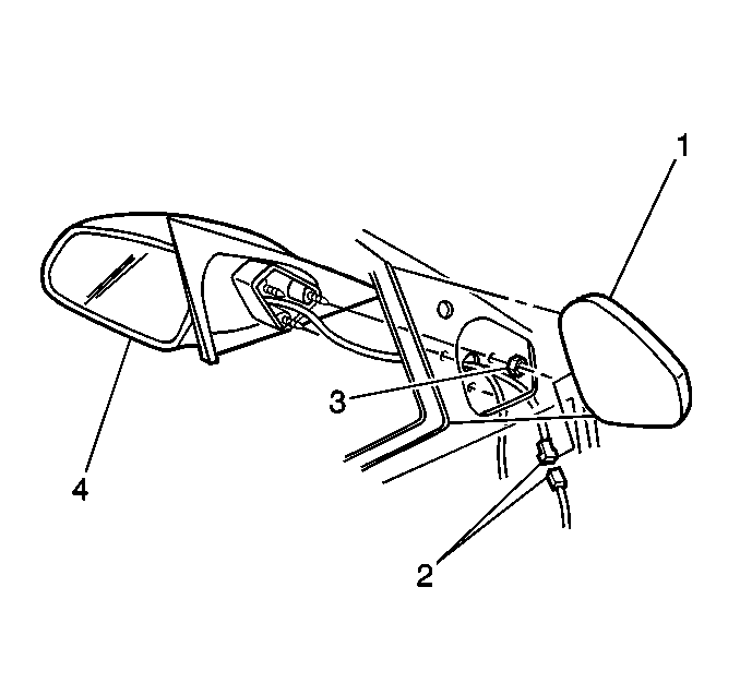
  3. Object Number: 383016  Size: SH
  4. Remove power mirror wire harness (2).
  5. Remove the insulator (1).
  6. Remove the rear view mirror nuts (3).
  7. Remove the rear view mirror (4).

Installation Procedure


    Object Number: 383016  Size: SH
  1. Install the rear view mirror (4).
  2. Notice: Use the correct fastener in the correct location. Replacement fasteners must be the correct part number for that application. Fasteners requiring replacement or fasteners requiring the use of thread locking compound or sealant are identified in the service procedure. Do not use paints, lubricants, or corrosion inhibitors on fasteners or fastener joint surfaces unless specified. These coatings affect fastener torque and joint clamping force and may damage the fastener. Use the correct tightening sequence and specifications when installing fasteners in order to avoid damage to parts and systems.

  3. Install the rear view mirror nuts (3).
  4. Tighten
    Tighten the nut to 5.6 N·m (50 lb in).

  5. Install the insulator (1).
  6. Install the power mirror wire harness (2).
  7. Install the door rear view mirror bezel.
  8. Install the door rear view mirror bezel screw.
  9. Tighten
    Tighten the screw to 1 N·m (9 lb in).