GM Service Manual Online
For 1990-2009 cars only
Figure 1:

LH Instrument Panel


Object Number: 520296  Size: MF
(1)C202
(2)C204
(3)Door Lock Relay
(4)S308, S436
(5)S432
(6)S431
(6)S431
(7)S330
(8)S418
(9)S437
(10)S307
(11)S225
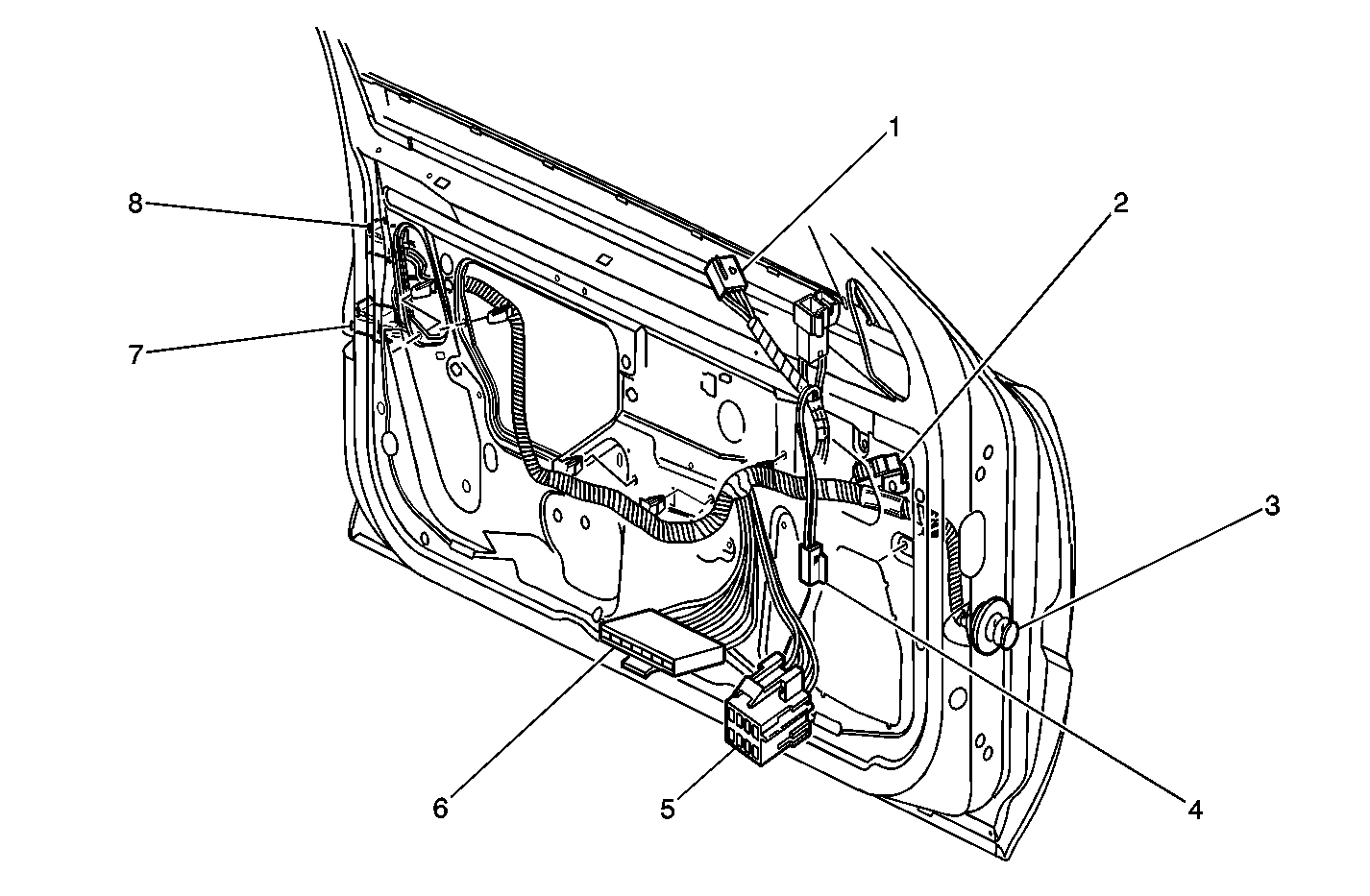
Figure 2:

LH Front Door


Object Number: 520301  Size: MF
(1)Power Mirror Switch Connector
(2)LH Front Window Motor Connector
(3)P500
(4)LH Front Speaker Connector
(5)Door Lock Switch Connector
(6)Master Window Switch Connector
(7)Power Door Lock Motor Connector
(8)LH Front Door Handle Switch Connector
Figure 3:

LH Rear Door


Object Number: 520413  Size: MF
(1)Door Jamb Switch Connector
(2)S328
(3)Power Window Switch Connector
(4)Power Window Motor Connector
(5)Electronic Door Lock Motor Connector
Figure 4:

LH Instrument Panel near Steering Column


Object Number: 520588  Size: MF
(1)Multifunction Alarm Module
(2)G200
(3)S206
(4)S321
(5)S101, S435
(6)S207
(7)Lamp Dimmer Module Connector
(8)S232
(9)S216
(10)S201
(11)Convenience Center-to-MICAM Connector
(12)MICAM Connector
Figure 5:

RH Front Door


Object Number: 520312  Size: MF
(1)RH Outside Mirror Connector
(2)RH Front Door Handle Switch Connector
(3)RH Front Door Lock Motor
(4)RH Front Window Switch Connector
(5)RH Door Lock Switch Connector
(6)RH Front Speaker Connector
(7)P600
(8)RH Front Window Motor Connector
Figure 6:

RH Rear Door


Object Number: 520411  Size: MF
(1)Electronic Door Lock Motor Connector
(2)Power Window Motor Connector
(3)Power Window Switch Connector
(4)Door Jamb Switch Connector