This DTC determines if a fault exists that renders the generator PWM continuously LOW.
All of the following conditions must be met:
| • | The powertrain control module (PCM) is sending the engine-is-running Class 2 Serial Data message. |
| • | The Field Terminal Present calibration is enabled in the PCM. |
| • | The PCM is sending the class 2 serial data message indicating that the generator PWM < 1.96%. |
| • | The engine is running at no more than 3000 RPM for 30 seconds. |
| • | The Instrument Cluster stores DTC B1492 in memory. |
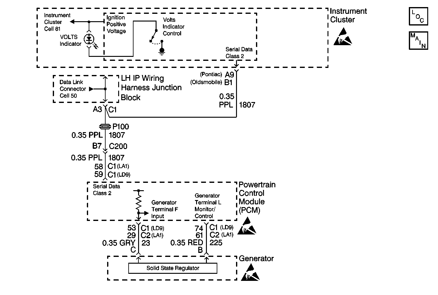
| • | The volts indicator will illuminate. |
| • | The instrument cluster goes to sleep. The cluster reinitializes with the fault cleared. |
| • | All instrument cluster history codes will be cleared after 100 ignition cycles (from OFF to RUN) with no current codes active during the 100 ignition cycles. |
| • | Use the scan tool. |
| • | The generator F-terminal is low while the engine is running. |
| • | When the diagnostics direct you to take electrical measurements at the terminal assignments of the Wiring Harness Junction Blocks, refer to Power Distribution. This measurement is for terminal assignments of the Wiring Harness Junction Blocks. |
If the DTC is a history DTC, the problem may be intermittent. Perform the tests shown while wiggling the wiring and connectors. This may often cause the malfunction to appear.
An intermittent may be caused by any of the following conditions:
| • | A poor connection |
| • | Wire insulation that has been rubbed through |
| • | A broken wire inside the insulation |
Inspect for a poor connection of a damaged harness. Inspect all of the harnesses and connectors for the following conditions:
| • | Improper mating |
| • | Broken locks |
| • | Improperly formed or damaged terminals |
| • | Poor terminal-to-wire connections |
| • | Damaged harnesses |
The numbers listed below refer to the numbers on the diagnostic table.
This step determines if the 23 circuit has a short to ground condition.
This step determines if CKT 23 is open.
This step determines if the Powertrain Control Module (PCM) is reading a low generator PWM with the generator connector terminal C and terminal D jumped.
This step determines if the Powertrain Control Module (PCM) is reading the proper generator PWM through the scan tool.
Step | Action | Value(s) | Yes | No |
|---|---|---|---|---|
|
Important: A short to ground will cause an open fuse(s). Before performing this diagnostic procedure, inspect the fuse(s) for an open. | ||||
1 | Was the Instrument Cluster Diagnostic System Check performed? | -- | Go to Step 2 | |
Is the measured resistance equal to the specified value? | ∞ | Go to Step 4 | Go to Step 3 | |
3 | Repair the short to ground in the open CKT 23 between the Powertrain Control Module (PCM) connector C2 terminal 29 (connector C1 terminal 53 for LD9) and the generator connector. Refer to Wiring Repairs in Wiring Systems. Is the circuit repair complete? | -- | Go to Step 4 | -- |
Use the J 39200 DMM in order to measure the resistance in CKT 23 between the Powertrain Control Module (PCM) connector C2 terminal 29 (connector C1 terminal 53 for LD9) and the generator connector terminal C. Is the measured resistance within the specified range? | 0-2 ohms | Go to Step 6 | Go to Step 5 | |
5 | Repair the open in CKT 23 between the Powertrain Control Module (PCM) connector C2 terminal 29 (connector C1 terminal 53 for LD9) and the generator connector terminal C. Refer to Wiring Repairs in Wiring Systems. Is the circuit repair complete? | -- | Go to Step 10 | -- |
Is the generator PWM greater than the specified value? | 50% | Go to Step 7 | Go to Step 8 | |
Does the Powertrain Control Module (PCM) generator PWM oscillate? | -- | Go to Step 10 | Go to Step 9 | |
8 | Replace the Powertrain Control Module (PCM). Refer to Powertrain Control Module Replacement (2.4L) or Powertrain Control Module Replacement/Programming (3.4L) in Engine Controls. Is the repair complete? | -- | Go to Step 10 | -- |
9 | Replace the generator. Refer to Generator Replacement in Engine Electrical. Is the circuit repair complete? | -- | Go to Step 10 | -- |
10 | Clear the DTCs from the memory. Are the DTCs cleared from the memory? | -- | -- | |