GM Service Manual Online
For 1990-2009 cars only

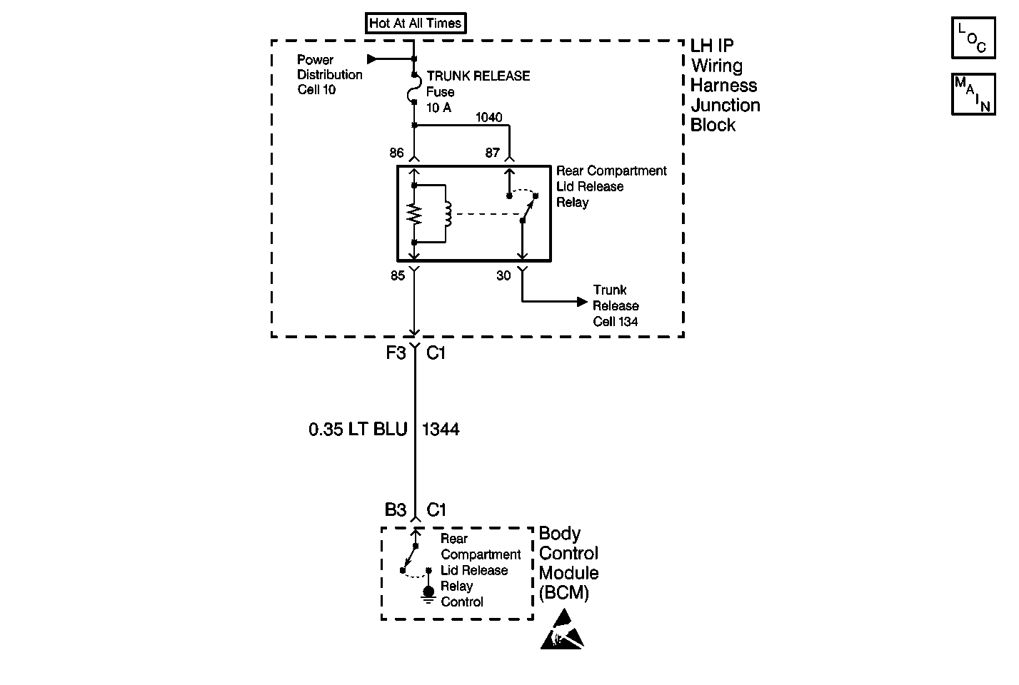
Object Number: 399514  Size: MF
Power Distribution Schematics
Release Systems Schematics
Body Control Module Components
Body Control System Schematics

Circuit Description

This trouble code (both current and history) indicates that CKT 1344 is shorted to ground or is open.

Conditions for Setting the DTC

All of the following conditions must be met:

    • CKT 1344 is shorted to ground or is open.
    • The system voltage must be between 9-16 volts.
    • The above conditions must be met for 0.5 seconds.

Action Taken When the DTC Sets

Stores DTC B3267 in the body control module (BCM) memory.

Conditions for Clearing the DTC

    • The BCM goes to sleep and reinitializes with the fault cleared.
    • All of the BCM history codes clear after 100 ignition cycles (from OFF to ON) with no current codes active during the 100 ignition cycles.
    • Use the Scan Tool in order to clear DTCs.

Diagnostic Aids

    • When the diagnostics directs you to take electrical measurements at the wiring harness junction block, refer to Power Distribution Schematics in Wiring Systems for the terminal assignments of the wiring harness junction block.
    • If the DTC is a history DTC, the problem may be intermittent. Perform the above tests while wiggling the wiring and connectors. This will cause the malfunction to appear.
    • If CKT 1344 is shorted to ground, the deck lid will not close until the fuse blows.

Test Description

The numbers below refer to the numbers on the diagnostic table.

  1. This step determines if the rear compartment lid release relay is operating properly.

  2. This step determines a short to ground between the left IP wiring harness junction block and the Body Control Module (BCM).

  3. This step determines an open between the left IP wiring harness junction block and the Body Control Module (BCM).

Step

Action

Value(s)

Yes

No

Important: A short to ground will cause an open fuse(s). Before performing this diagnostic procedure, inspect the fuse(s) for an open.

1

Was the Body Control Module (BCM) System Check performed?

--

Go to Step 2

Go to Body Control Module System Check

2

  1. Replace the rear compartment lid release relay with a known good relay on the left IP wiring harness junction block.
  2. Using the Scan Tool , select Body and Special Function in order to enable the trunk release relay.

Does the rear compartment lid release work properly?

--

Go to Step 11

Go to Step 3

3

  1. Turn the ignition switch to the OFF position.
  2. Disconnect the left IP wiring harness junction block connector C1.
  3. Using a test lamp, probe the BCM connector C1 terminal F3 CKT 1344.

Is the test lamp on?

--

Go to Step 4

Go to Step 6

4

Test for poor terminal connections at the BCM and at the relay.

Did you find a poor terminal connection?

--

Go to Step 5

Go to Step 12

5

Repair the poor terminal connection at BCM or at the relay.

Is the repair complete?

--

Go to Step 13

--

6

  1. Remove the trunk release relay.
  2. Using J 39200 DMM, probe CKT 1040 at the relay connector socket.

Is the measured voltage equal to the specified value?

B+

Go to Step 8

Go to Step 7

7

Test CKT 1040 for an open or a short to ground. Repair as necessary.

Is the repair complete?

--

Go to Step 13

--

8

  1. Disconnect the BCM connector C1.
  2. Remove the trunk release relay.
  3. Using a test lamp connected to B+, test CKT 1344 at either end.

Did the test lamp light?

--

Go to Step 9

Go to Step 10

9

Test for a short to ground in CKT 1344. Repair as necessary.

Is the repair complete?

--

Go to Step 13

--

10

Test for an open in CKT 1344 or test for poor terminal connections at BCM and at the relay connector. Repair as needed.

Is the repair complete?

--

Go to Step 13

--

11

Replace the trunk release relay.

Is the repair complete?

--

Go to Step 13

--

12

Replace the Body Control Module (BCM). Refer to the following procedures:

    • BCM Replacement

Is the repair complete?

--

Go to Step 13

--

13

Clear the DTCs from the memory.

Are the DTCs cleared from the memory?

--

Go to Body Control Module System Check

--