GM Service Manual Online
For 1990-2009 cars only

INTERMITTENT OPERATION OF THE RH REAR DOOR AJAR

SUBJECT: INTERMITTENT OPERATION OF THE RH REAR DOOR AJAR TELLTALE ON DRIVER INFORMATION CENTER (CHANGE PIN-OUT OF RH REAR LOCK SWITCH CONNECTOR)

MODELS: 1995 OLDSMOBILE AURORA - BUILT PRIOR TO VIN BREAKPOINT S4134890

CONDITION:

SOME VEHICLES MAY EXHIBIT AN INOPERATIVE DOOR AJAR TELLTALE (ON THE DRIVER'S INFORMATION CENTER) WHEN THE RH REAR DOOR IS IN THE SECONDARY LATCHED POSITION. HOWEVER, THIS SAME TELLTALE DOES FUNCTION WHEN THE DOOR IS IN THE UNLATCHED POSITION.

CAUSE:

THE RH REAR DOOR LOCK SWITCH CONNECTOR WAS IMPROPERLY ASSEMBLED PRIOR TO VEHICLE ASSEMBLY.

CORRECTION:

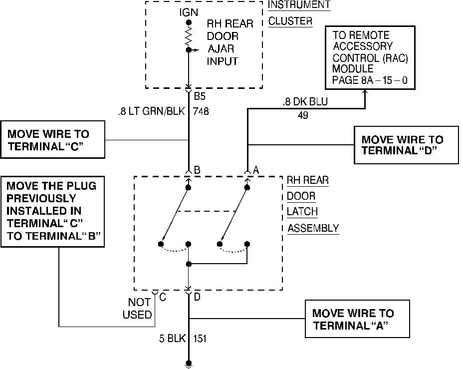
CHANGE PIN-OUT OF THE RH REAR LOCK SWITCH CONNECTOR AS SHOWN IN FIGURE 1.

IMPORTANT: THE RH REAR LOCK SWITCH CONNECTOR HAS FRONT LOAD TERMINALS WHICH REQUIRE THE WIRES BE CUT, TERMINALS REPOSITIONED AND WIRES SPLICED TO CHANGE THE PIN-OUT CONFIGURATION.

FIGURE 2 ILLUSTRATES THE PROPER PIN-OUT OF THE RH REAR LOCK SWITCH CONNECTOR.

WARRANTY INFORMATION:

FOR VEHICLES REPAIRED UNDER WARRANTY, USE:

LABOR OPERATION NUMBER: N6214 LABOR TIME: 0.5 HR

FIGURES: 2 ATTACHMENTS: 0


Object Number: 88077  Size: LF


Object Number: 90775  Size: LF

GENERAL MOTORS BULLETINS ARE INTENDED FOR USE BY PROFESSIONAL TECHNICIANS, NOT A "DO-IT-YOURSELFER". THEY ARE WRITTEN TO INFORM THOSE TECHNICIANS OF CONDITIONS THAT MAY OCCUR ON SOME VEHICLES, OR TO PROVIDE INFORMATION THAT COULD ASSIST IN THE PROPER SERVICE OF A VEHICLE. PROPERLY TRAINED TECHNICIANS HAVE THE EQUIPMENT, TOOLS, SAFETY INSTRUCTIONS AND KNOW-HOW TO DO A JOB PROPERLY AND SAFELY. IF A CONDITION IS DESCRIBED, DO NOT ASSUME THAT THE BULLETIN APPLIES TO YOUR VEHICLE, OR THAT YOUR VEHICLE WILL HAVE THAT CONDITION. SEE A GENERAL MOTORS DEALER SERVICING YOUR BRAND OF GENERAL MOTORS VEHICLE FOR INFORMATION ON WHETHER YOUR VEHICLE MAY BENEFIT FROM THE INFORMATION.

COPYRIGHT 1995 GENERAL MOTORS CORPORATION. ALL RIGHTS RESERVED.