GM Service Manual Online
For 1990-2009 cars only

Removal Procedure


    Object Number: 13589  Size: SH

    Important: There is no service interval for in-line fuel filter replacement. Only replace the in-line fuel filter if it is restricted.

  1. Relieve the fuel system pressure. Refer to the Fuel Pressure Relief Procedure .
  2. Raise the vehicle.
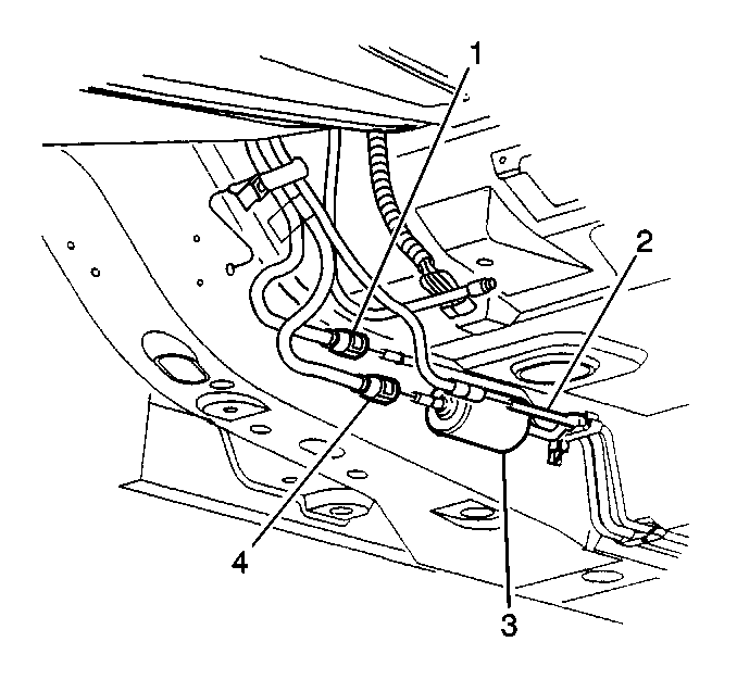
  3. Remove the fuel feed quick-connect fitting (4) at the inlet of the in-line fuel filter (3). Refer to Servicing Quick Connect Fittings .
  4. Remove the threaded fitting at the outlet of the in-pipe fuel filter (3).
  5. Drain any remaining fuel into an approved gasoline container.
  6. Important: Inspect the O-ring on fuel filter outlet pipe for cracks or damage. Replace as required.

  7. Inspect the lines for cuts, swelling, cracks, and distortion. Replace the lines as required.
  8. Inspect the fuel vent pipe (2).
  9. Inspect the fuel return pipe quick connect fitting (1).

Installation Procedure


Object Number: 13589  Size: SH
  1. Remove the protective caps from the new in-line fuel filter.
  2. Install the new plastic connector retainer on the in-line fuel filter inlet.
  3. Install the new plastic connector retainer in the same position as on the old in-line fuel filter.
  4. Slide the in-line fuel filter into place.
  5. Install the quick-connect fitting at the inlet (4) of the in-line fuel filter (3). Refer to Servicing Quick Connect Fittings .
  6. Important: Make sure that the O-ring is installed on the outlet pipe before installing the pipe

  7. Install the threaded fitting at the outlet of the in-line fuel filter (3).
  8. Tighten

    • Use a back-up wrench in order to prevent the in-line fuel filter from turning.
    • Reposition the fuel vent pipe. (2)
    • Tighten the in-line fuel filter outlet nut to 30 N·m (22 lb. ft.).
  9. Lower the vehicle.
  10. Tighten the fuel tank filler pipe cap.
  11. Install the negative battery cable.
  12. Inspect for fuel leaks.
  13. 10.1. Turn the ignition switch to the On position for 2 seconds.
    10.2. Turn the ignition switch to the Off for 10 seconds.
    10.3. Turn the ignition switch to the On position.
    10.4. Check for fuel leaks.