GM Service Manual Online
For 1990-2009 cars only

Object Number: 13341  Size: MF
Engine Controls Components
MIL/DTC
OBD II Symbol Description Notice
ESD Notice

Circuit Description

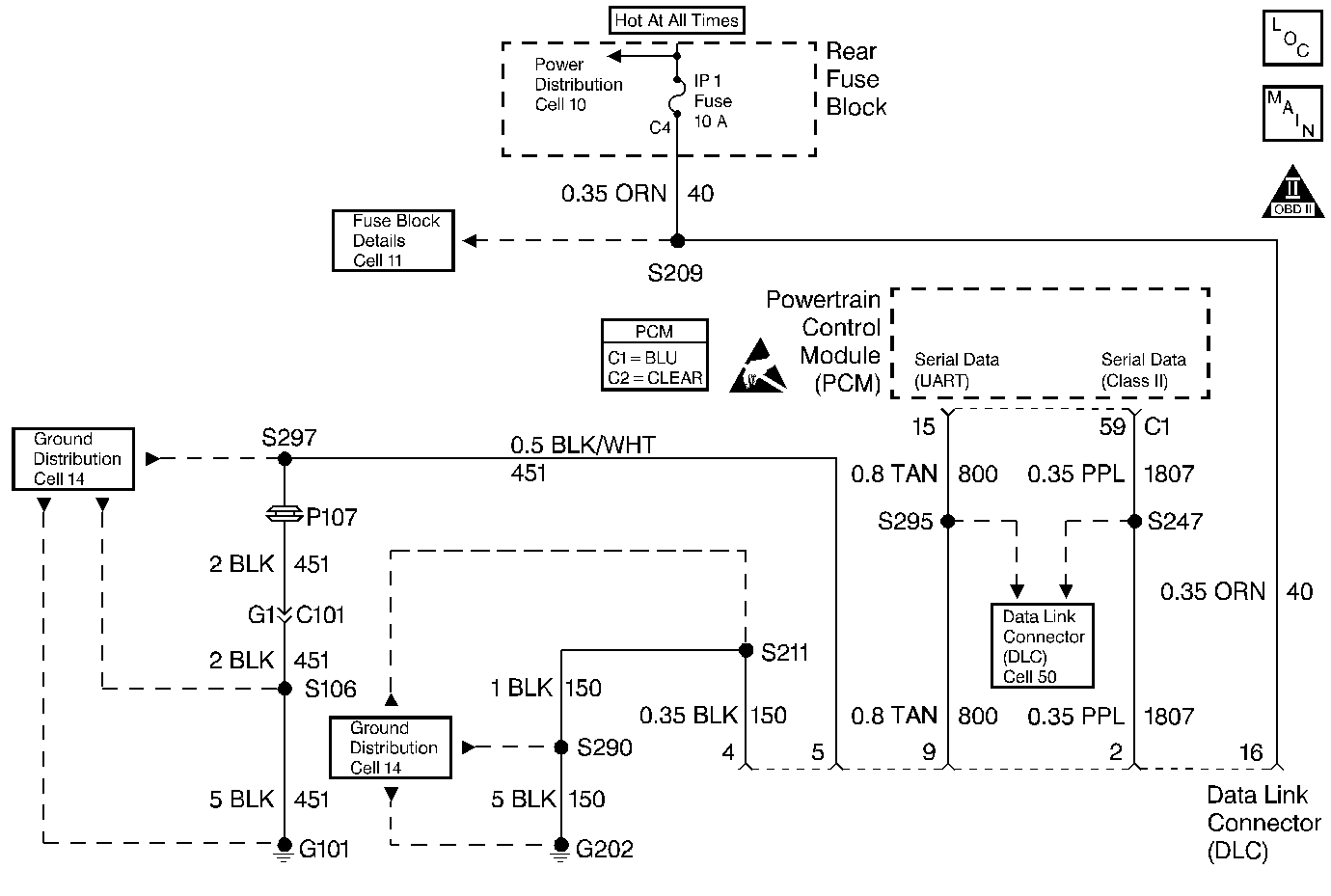
The Data Link Connector check is used to identify the cause of an inoperative scan tool. Possible faults include scan tool non-power up and lack of communication between the scan tool and the PCM. The DLC supplies power to the scan tool through CKT 40 to terminal 16. The ground to the scan tool is supplied through CKT 51 to terminal 5. The serial data (communication) is supplied to the scan tool through CKT 1807 to terminal 2.

Diagnostic Aids

Perform the Powertrain On Board Diagnostic System Check before performing this chart to help prevent miss-diagnosis.

Test Description

Number(s) below refer to the step number(s) on the Diagnostic Table.

  1. Checking the voltage and ground supply to the scan tool.

  2. Checking if the fault is power or ground circuit related.

  3. Terminal 4 of the DLC connector is the ground circuit for scan tool data communications and terminal 5 is the power ground circuit for the scan tool.

  4. If the fuse is blown check for a short to ground in CKT 40. If fuse is OK check for open in CKT 40 or lack of voltage to the fuse.

  5. If communication is present between the scan tool and PCM then the fault is not present or was poor terminal contact at the DLC connector.

  6. Checking if the fault is vehicle or scan tool related.

Step

Action

Value(s)

Yes

No

1

Was the Powertrain On-Board Diagnostic System Check performed?

--

Go to Step 2

Go to A Powertrain On Board Diagnostic (OBD) System Check

2

Perform the PCM Power and Ground Check table and the Powertrain Ground Check table and return to this step.

Was a repair made in either table?

--

Go to A Powertrain On Board Diagnostic (OBD) System Check

Go to Step 3

3

  1. Ensure battery is fully charged and tested.
  2. Using DVM J 39200, measure voltage between DLC terminals 5 and 16.
  3. Using DVM J 39200, measure voltage between DLC terminals 4 and 16.

Is the voltage read at both terminals the same or higher than the value shown?

10.0 Volts

Go to Step 7

Go to Step 4

4

Measure voltage to ground on DLC terminal 16.

Is the voltage read the same or higher than the value shown?

10.0 Volts

Go to Step 5

Go to Step 6

5

Repair the open in the ground circuit that had no or low voltage. Refer to Test Descriptions .

Is the repair complete?

--

Go to Step 7

--

6

  1. Repair open or short to ground in CKT 40 between DLC terminal 16 and B+.
  2. Replace fuse if blown.

Is the repair complete?

--

Go to Step 7

--

7

Turn the ignition ON.

Does the scan tool display data?

--

Go to A Powertrain On Board Diagnostic (OBD) System Check

Go to Step 8

8

Connect the scan tool to another vehicle.

Does the scan tool now display data?

--

Go to Step 9

Go to Step 13

9

  1. Return to original vehicle.
  2. Store fluid life, turn the key to OFF and wait 30 seconds, disconnect PCM connector C1.
  3. Using DVM J 39200 measure the resistance between PCM connector C1 terminal 59 and the DLC connector terminal 2.

Is the resistance more than the value specified?

5 ohms

Go to Step 11

Go to Step 10

10

  1. Disconnect the Remote Accessory Control (RAC) module.
  2. Measure the resistance to ground at the DLC connector terminal 2.

Is the resistance less than the value specified?

10K ohms

Go to Step 12

Go to Step 14

11

Repair the open in CKT 1807.

Is the repair complete?

--

Go to A Powertrain On Board Diagnostic (OBD) System Check

--

12

Repair the short to ground in CKT 1807.

Is the repair complete?

--

Go to A Powertrain On Board Diagnostic (OBD) System Check

--

13

Replace the defective scan tool.

Is the replacement complete?

--

Go to A Powertrain On Board Diagnostic (OBD) System Check

--

14

Reconnect the PCM and check for data with the RAC module disconnected.

Is data now present?

--

Go to Step 17

Go to Step 15

15

  1. Check terminal contact at PCM connector C1 terminal 59.
  2. Repair terminal contact if needed.

Was terminal contact repaired?

--

Go to A Powertrain On Board Diagnostic (OBD) System Check

Go to Step 16

16

Replace the PCM. Refer to PCM Replacement/Programming .

Is the replacement complete?

--

Go to A Powertrain On Board Diagnostic (OBD) System Check

--

17

Replace the RAC module.

Is the replacement complete?

--

Go to A Powertrain On Board Diagnostic (OBD) System Check

--