GM Service Manual Online
For 1990-2009 cars only

Tech - Rr. Compt. Lid Support Strut Separates from Lid (Repl. Ball Stud)

Subject:Rear Compartment Lid Support Strut Separating from Lid (Replace Ball Stud and Lid Hinge Stop Bumper)

Models:1995-99 Oldsmobile Aurora



This bulletin is being revised to add 1997-1999 model years, part numbers, repair procedures and labor times. Please discard Corporate bulletin Number 63-15-04 (Section 10-Body)


Condition

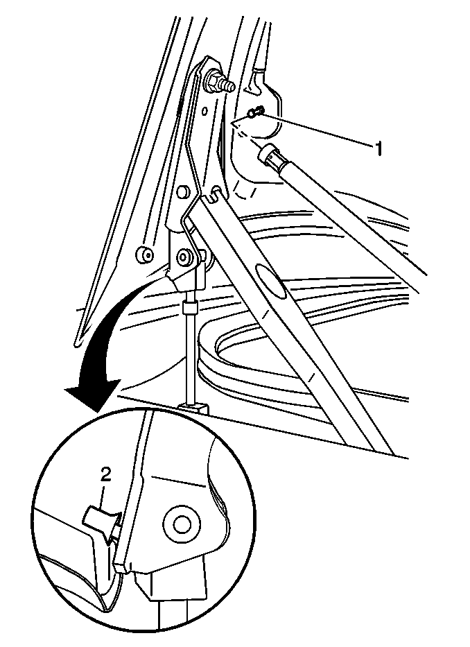
Some customers may comment that the rear compartment lid support strut is separating from the lid. Also, a fracture to the rear compartment lid mounting ball stud may be visible.


Object Number: 625217  Size: MH

Cause

This condition may be due to excessive side load on the ball stud (1) when closing the lid from the side of the vehicle.

Also, it may be due to rubber stop bumpers (2) that are worn or missing from the rear compartment lid hinge allowing the lid to travel beyond it's open position stop.

Correction

To correct the above condition, replace the rear compartment lid support strut mounting ball stud and both the left and right rear compartment lid hinge rubber stop bumpers following the procedure below:

  1. Remove both rear compartment lid support struts from the upper ball studs.
  2. Suitably support the rear compartment lid to the full open position.
  3. Use a die grinder or similar tool and a 3-4 inch cut-off wheel in order to cut through the ball stud. Cut as close to the shoulder as possible, taking care not to damage the mounting bracket, the lid hinge and the rear compartment lid.
  4. Use a buffing wheel or similar attachment to deburr and smooth/flatten the surface.
  5. Locate the position of the hole to be drilled on the smoothed/flattened surface and mark the position distinctly with a center punch.
  6. Use a small drill bit, 3 mm (1/8 in) or smaller, to drill a pilot hole.
  7. Use a 6 mm (1/4 in) drill bit to drill the hole for the new ball stud.

  8. Deburr both sides of the hole and clean away all loose debris.
  9. Repair any exposed metal resulting from the ball stud removal following the repair/refinish information in the appropriate Service Manual and the GM Refinish Material Booklet #4901M-D-99 (English) or #4901M-D-F99 (French).

  10. Install the service ball stud, P/N 25613447, and the nut, P/N 11516075, to the mounting bracket.
  11. Tighten
    Tighten the nut to 5 N·m (44 lb in).

  12. Clean and prepare the ball stud and the nut for painting.
  13. Apply touch-up paint to the new ball stud and the nut.

  14. Install the rear compartment lid support struts to the upper ball studs.
  15. Lower the rear compartment lid assembly halfway.
  16. Remove both the left and right rear compartment lid hinge stop bumpers from the upper mounting bracket of the hinge assembly.
  17. Install both the left and right rear compartment lid hinge stop bumpers, P/N 12536817.
  18. Test the rear compartment lid for proper operation.

Parts Information

P/N

Description

11516075

Nut

12536817

Rr Comp Lid Hinge Stop Bumpers

25613447

Service Ball Stud

Parts are currently available from GMSPO.

Warranty Information

For vehicles repaired under warranty, use:

Labor Operation

Description

Labor Time

B5450

Support, Rear Compartment Lid - Replace (RH)

Use published labor operation time

B5451

Support, Rear Compartment Lid - Replace (LH)

Use published labor operation time

ADD

Replace Rear Compartment Lid Support Ball Stud (Each)

0.3 hr

ADD

Replace Rear Compartment Lid Support Ball Stud (Both)

0.5 hr

ADD

Replace Rear Compartment Lid Hinge Stop Bumper (Both)

0.3 hr