GM Service Manual Online
For 1990-2009 cars only

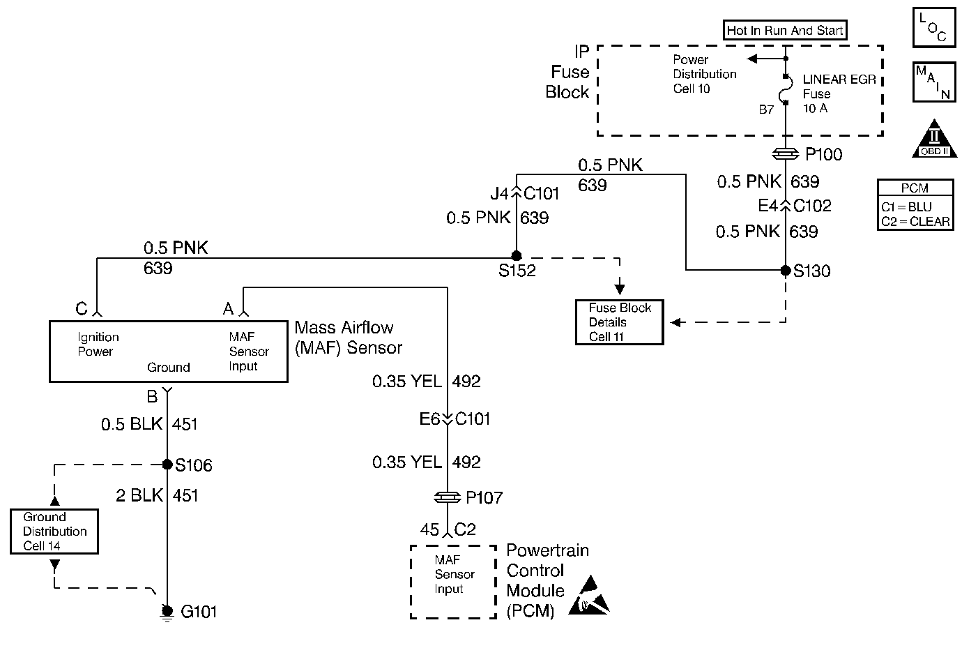
Object Number: 13302  Size: MF
Engine Controls Components
MAF Sensor/ EVAP Components/ Linear EGR Valve
OBD II Symbol Description Notice
ESD Notice

Circuit Description

This diagnostic test is used to determine if the Mass Air Flow sensor signal is too high. The MAF sensor is a high frequency device that measures the rate of air flow through the throttle body. The MAF sensor outputs a series of pulses that vary in frequency with air flow. This signal is used by the PCM for fuel control. MAF readings during acceleration will be much higher than those during deceleration or idle. If the PCM sees a MAF signal higher than could be made by engine operation, DTC P0103 will set.

Conditions for Setting the DTC

Test Conditions

    •  DTC(s) P0122 and P0123 not set.
    •  Engine speed between 0 and 6375 RPM.
    •  Ignition voltage at least 10.5 volts.
    •  Throttle angle 50 degrees or less.

Failure Condition

The MAF sensor signal is greater than 11,000 Hz.

Action Taken When the DTC Sets

    •  PCM disables the EVAP control solenoid.
    •  PCM disables long term fuel trim.
    •  PCM substitutes calculated MAF value, based on engine speed and throttle position for actual MAF.
    •  PCM disables torque management.
    •  PCM maintains transaxle shift adapts at their current levels.
    •  PCM disables torque converter clutch.
    •  The PCM will illuminate the malfunction indicator lamp (MIL) when the diagnostic runs and fails.
    •  The PCM will record operating conditions at the time the diagnostic fails. This information will be stored in the Freeze Frame and Failure Records.

Conditions for Clearing the MIL/DTC

    •  The PCM will turn the MIL OFF after three consecutive drive trips that the diagnostic runs and does not fail.
    •  A Last Test Failed (current) DTC will clear when the diagnostic runs and does not fail.
    •  A History DTC will clear after forty consecutive warm-up cycles with no failures of any emission related diagnostic test.
    • Use a scan tool to clear DTCs.
    • Interrupting PCM battery voltage may or may not clear DTCs. This practice is not recommended. Refer to Clearing Diagnostic Trouble Codes in PCM Description and Operation.

Diagnostic Aids

Check for EMI (electromagnetic interference) on MAF sensor wires, caused by wiring run along side spark plug wires or high power transmitters, like mobile radios, operating in the vicinity. A battery charger may also set the DTC.

Test Description

Number(s) below refer to the step number(s) on the Diagnostic Table.

  1. Using the snapshot data to try to reproduce DTC conditions.

  2. Checking for poor terminal contact at the MAF sensor.

Step

Action

Value(s)

Yes

No

1

Was the Powertrain On-Board Diagnostic (OBD) System Check performed?

--

Go to Step 2

Go to A Powertrain On Board Diagnostic (OBD) System Check

2

  1. Connect a scan tool.
  2. Select Freeze Frame.
  3. Duplicate conditions under which DTC P0103 was set.

Does DTC P0103 reset?

--

Go to Step 3

Fault not present. Refer to Diagnostic Aids

3

  1. Check terminal contact at MAF sensor.
  2. Repair terminal contact if needed.

Was terminal contact repaired?

--

Go to Powertrain Control Module Diagnosis for Verify Repair

Go to Step 4

4

Replace MAF sensor. Refer to MAF Sensor Replacement .

Is the Repair complete?

--

Go to Powertrain Control Module Diagnosis for Verify Repair

--