GM Service Manual Online
For 1990-2009 cars only

Object Number: 13306  Size: SF
ESD Notice
IAT/ ECT/ TP/ MAP Sensors
Engine Controls Components
OBD II Symbol Description Notice
ESD Notice

Circuit Description

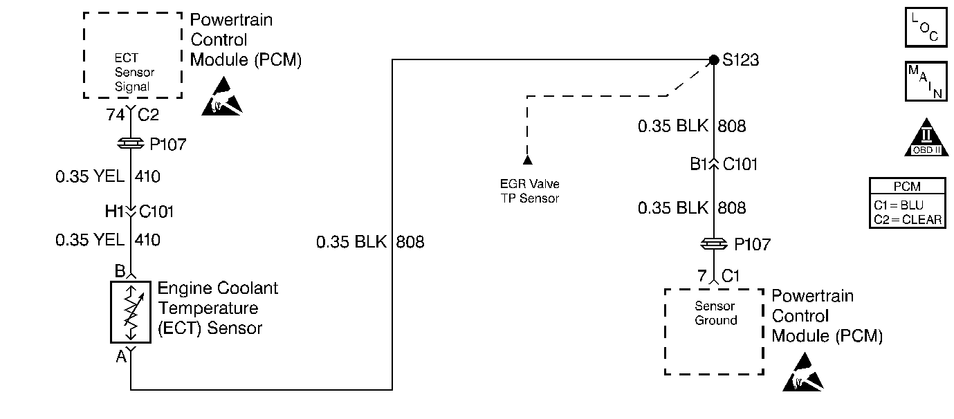
The Engine Coolant Temperature (ECT) sensor is a thermistor, a sensor whose resistance varies with temperature. The ECT sensor signal is on CKT 410 and sensor ground on CKT 808. As the temperature increases, sensor resistance decreases. High coolant temperature will result in low signal voltage on CKT 410. DTC P1115 sets because the coolant temperature cannot be less than -38°C (-36°F) when IAT is greater than -5°C (23°F) or the vehicle has been driving long enough for the ECT temperature to increase above -38°C (-36°F).

Conditions for Setting the DTC

Test Condition

    •  DTCs P0112, P0113, P0117 and P0118 not set.
    •  IAT sensor value -5°C (23°F) or greater.
    •  DTCs P0112, P0113, P0117, P0118, P0122 and P0123 not set.
    •  Engine running and throttle angle 7 degrees or greater for at least 3.5 minutes.

Failure Condition

ECT -38°C (-36°F) or less.

Action Taken When the DTC Sets

    •  The Malfunction Indicator Lamp (MIL) will not illuminate.
    •  No message will be displayed.

Conditions for Clearing the DTC

    •  A History DTC will clear after forty consecutive warm-up cycles with no failures of any non-emission related diagnostic test.
    •  A Last Test Failed (current) DTC will clear when the diagnostic runs and does not fail.
    • Use a scan tool to clear DTCs.
    • Interrupting PCM battery voltage may or may not clear DTCs. This practice is not recommended. Refer to Clearing Diagnostic Trouble Codes in PCM Description and Operation.

Diagnostic Aids

If fault is not present perform Powertrain Ground Check and also review Failure Rec. to determine conditions under which and how long ago the DTC set.

If a faulty sensor is suspected refer to Temperature vs Resistance table.

Test Description

Number(s) below refer to the step number(s) on the Diagnostic Table.

  1. If DTC P0116 is also set, diagnose it first because it may pinpoint a faulty ECT sensor.

  2. Checking for an intermittent open or short to voltage in the ECT sensor signal circuit or the ECT sensor ground circuit that may cause a high ECT sensor reading.

Step

Action

Value(s)

Yes

No

1

Was the Powertrain On-Board Diagnostic (OBD) System Check performed?

--

Go to Step 2

Go to A Powertrain On Board Diagnostic (OBD) System Check

2

Connect the scan tool.

Is DTC P0116 or P0118 also set?

--

Go to DTCs that are set

Go to Step 3

3

  1. Record fluid life indexes, turn the key to OFF and wait 30 seconds.
  2. Disconnect PCM connectors C1 and C2.
  3. Examine terminal 7 of C1 and terminal 74 of C2.
  4. Repair terminal contact if needed.

Was terminal contact repaired?

--

Go to Powertrain Control Module Diagnosis for Verify Repair

Go to Step 4

4

  1. Disconnect ECT sensor connector.
  2. Examine ECT sensor terminals.
  3. Repair terminal contact if needed.

Was terminal contact repaired?

--

Go to Powertrain Control Module Diagnosis for Verify Repair

Go to Step 5

5

  1. Check the ECT sensor signal circuit and the ECT sensor ground circuit for possible open or short to voltage.
  2. Repair circuit(s) if needed.

Was a repair made to any circuit?

--

Go to Powertrain Control Module Diagnosis for Verify Repair

Fault not present. Refer to Diagnostic Aids