GM Service Manual Online
For 1990-2009 cars only

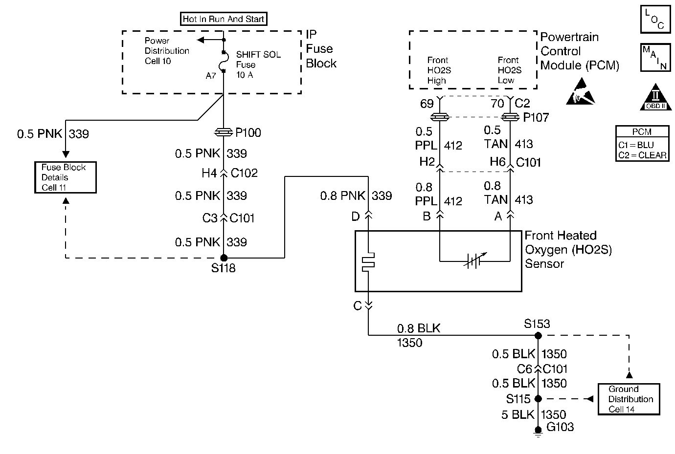
Object Number: 13316  Size: MF
Engine Controls Components
Front and Rear Heated Oxygen Sensors
OBD II Symbol Description Notice
ESD Notice

Circuit Description

The PCM provides a 0.45 volt reference signal to the oxygen sensor on CKT 412. When the oxygen sensor is cold, below 200°C (392°F), the Oxygen Sensor signal voltage will be around 0.45 volt and the PCM will keep the system in Open Loop operation. When the oxygen sensor is warm, above 200°C (392°F), the oxygen sensor will swing from rich to lean rapidly, if the PCM is in good control of the air fuel mixture. DTC P0151 is designed so that if the oxygen sensor stays at a lean voltage for more than 40 seconds during the test conditions, this DTC will set. DTC P0151 will set when:

    •  There is an oxygen sensor circuit fault giving a false lean indication.
    •  The air fuel ratio is actually lean due to a vacuum leak or fuel control system fault.

Conditions for Setting the DTC

Test Conditions

    •  DTCs P0101, P0102, P0103, P0107, P0108, P0117, P0118, P0121, P0122, P0123, P0152 and P0154 not set.
    •  TP sensor between 5.4 and 25 degrees.
    •  Coolant temperature 81.5°C (179°F) or greater.
    •  Closed loop fuel control enabled.
    •  Oxygen sensor ready.
    •  Engine speed 800 RPM or greater.
    •  MAP sensor greater than 32 kPa.
    •  Above conditions met for 3 seconds.
    •  DTC P0131 test runs and passes.

Failure Condition

Oxygen sensor has been lean, 356 mV (0.356V) or less, for 40 seconds out of 50 seconds.

Action Taken When the DTC Sets

    •  PCM enables Evaporative Emission (EVAP) control solenoid if DTC P0131, P0132 or P0134 is also set.
    •  Transaxle shift adapts maintained at current levels.
    •  PCM disables Closed Loop and long term fuel trim operation if DTC P0131, P0132, or P0134 is also set.
    •  PCM uses rear oxygen sensor feedback for Closed Loop and long term fuel trim operation if DTC P0131, P0132, and P0134 are not set.
    •  The PCM will illuminate the malfunction indicator lamp (MIL) when the diagnostic runs and fails.
    •  The PCM will record operating conditions at the time the diagnostic fails. This information will be stored in the Freeze Frame and Failure Records.

Conditions for Clearing the MIL/DTC

    •  The PCM will turn the MIL OFF after three consecutive drive trips that the diagnostic runs and does not fail.
    •  A Last Test Failed (current) DTC will clear when the diagnostic runs and does not fail.
    •  A History DTC will clear after forty consecutive warm-up cycles with no failures of any emission related diagnostic test.
    • Use a scan tool to clear DTCs.
    • Interrupting PCM battery voltage may or may not clear DTCs. This practice is not recommended. Refer to Clearing Diagnostic Trouble Codes in PCM Description and Operation.

Diagnostic Aids

Notice: Do not solder heated oxygen sensor wires. Soldering the wires will result in the loss of the air reference to the sensor. Refer to Engine Electrical for proper wire and connection repair techniques.

Check snapshot data for front and rear long term fuel trim values. If both banks were lean, check for a condition that would cause lean engine operation. If just the front bank was lean, check for a condition that would only cause the front bank to be lean, such as an intermittent short to ground on CKT 412

Test Description

Number(s) below refer to the step number(s) on the Diagnostic Table.

  1. If DTC P0154 is also set, diagnose it first because an oxygen sensor not ready can cause other emission related problems.

  2. If the oxygen sensor is operating correctly, voltage will fluctuate above 0.3 volt. A lean sensor/condition will cause the voltage to remain below 0.3 volt.

  3. If the vehicle runs out of gas, this DTC could set.

  4. Checking for proper operation of the front oxygen sensor.

Step

Action

Value(s)

Yes

No

1.

Was the Powertrain On-Board Diagnostic (OBD) System Check performed?

--

Go to Step 2

Go to A Powertrain On Board Diagnostic (OBD) System Check

2

Connect a scan tool.

Is DTC P0154 also set?

--

Go to DTC P0154 HO2S Circuit Insufficient Activity Bank 2 Sensor 1

Go to Step 3

3

Check with customer the conditions under which the DTC set.

Did the vehicle run out of gas?

--

Clear DTC. System OK

Go to Step 4

4

  1. Start engine, warm-up until engine coolant temperature is the same or more than the value specified.
  2. Check Bnk. 2 Sns. 1 voltage on the scan tool.

Does voltage remain below the value specified for 30 seconds or more?

85°C (185°F)

0.3 volts

Go to Step 5

Fault not present. Refer to Diagnostic Aids

5

  1. Turn the key to OFF.
  2. Disconnect front oxygen sensor connector.
  3. Turn the key ON.
  4. Using DMM J 39200 measure voltage between terminals A and B (sensor side).
  5. Start engine.

Is voltage less than the value specified for 30 seconds or more?

0.3 volts

Go to DTC P0153 HO2S Slow Response Bank 2 Sensor 1

Go to Step 6

6

  1. Record the fluid life indexes, turn the key to OFF and wait 30 seconds.
  2. Disconnect PCM connector C2.
  3. Measure resistance to ground at front oxygen sensor connector terminal B (harness side).

Is resistance greater than the value specified?

10K ohms

Go to Step 7

Go to Step 8

7

Measure the resistance between front oxygen sensor connector terminals A and B (harness side).

Is the resistance the same or less than the value specified?

5 ohms

Go to Step 9

Go to Step 10

8

Repair the short to ground on the Bank 2 HO2S High circuit.

Is the repair complete?

--

Go to Powertrain Control Module Diagnosis for Verify Repair

--

9

Repair Bank 2 HO2S High circuit and Bank 2 HO2S Low circuit shorted together.

Is the repair complete.

--

Go to Powertrain Control Module Diagnosis for Verify Repair

--

10

  1. Check terminal contact at the PCM connector C2 terminals 69 and 70.
  2. Repair terminal contact if needed.

Was terminal contact repaired?

--

Go to Powertrain Control Module Diagnosis for Verify Repair

Go to Step 11

11

Replace the PCM. Refer to PCM Replacement/Programming .

Is the replacement complete?

--

Go to Powertrain Control Module Diagnosis for Verify Repair

--