GM Service Manual Online
For 1990-2009 cars only

Removal Procedure

Caution: When you are carrying an undeployed inflator module:

   • Do not carry the inflator module by the wires or connector on the inflator module
   • Make sure the bag opening points away from you
When you are storing an undeployed inflator module, make sure the bag opening points away from the surface on which the inflator module rests. When you are storing a steering column, do not rest the column with the bag opening facing down and the column vertical. Provide free space for the air bag to expand in case of an accidental deployment. Otherwise, personal injury may result.

  1. Disable the SIR system. Refer to Disabling the SIR System .

  2. Object Number: 192021  Size: SH
  3. Remove the IP carrier. Refer to Instrument Panel Carrier Replacement in Instrument Panel, Gauges, and Console.
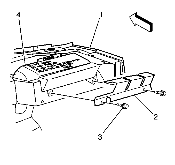
  4. Remove the rear inflatable restraint IP module mounting fasteners (3).

  5. Object Number: 192021  Size: SH
  6. Remove the foam insulator bracket (2) (Oldsmobile only).

  7. Object Number: 192016  Size: SH
  8. Remove the foam insulator (2) (Oldsmobile only).

  9. Object Number: 218611  Size: SH
  10. Remove the forward inflatable restraint IP module fasteners.
  11. Remove the inflatable restraint IP module (1).
  12. Fully deploy the module before disposal. If the module was replaced under warranty, fully deploy and dispose of the module after the required retention period. Refer to Inflator Module Handling, Shipping, and Scrapping .

Installation Procedure


    Object Number: 218611  Size: SH
  1. Install the inflatable restraint IP module (1).
  2. Install the forward inflatable restraint IP module mounting fasteners. Do not tighten them.

  3. Object Number: 192016  Size: SH
  4. Install the foam insulator (2) (Oldsmobile only).

  5. Object Number: 192021  Size: SH
  6. Install the foam insulator bracket (2) (Oldsmobile only).
  7. Notice: Use the correct fastener in the correct location. Replacement fasteners must be the correct part number for that application. Fasteners requiring replacement or fasteners requiring the use of thread locking compound or sealant are identified in the service procedure. Do not use paints, lubricants, or corrosion inhibitors on fasteners or fastener joint surfaces unless specified. These coatings affect fastener torque and joint clamping force and may damage the fastener. Use the correct tightening sequence and specifications when installing fasteners in order to avoid damage to parts and systems.

  8. Install the rear inflatable restraint IP module fasteners (3).
  9. Tighten

        • Tighten the forward fasteners to 24 N·m (18 lb ft).
        • Tighten the rear fasteners to 11 N·m (94 lb in).
  10. Install the IP Carrier. Refer to Instrument Panel Carrier Replacement in Instrument Panel, Gauges, and Console.
  11. Enable the SIR system. Refer to Enabling the SIR System .