GM Service Manual Online
For 1990-2009 cars only

Headlining Trim Panel Replacement Buick

Removal Procedure

Notice: Use care when removing and installing the headliner. If reusing the headliner lay the headliner down flat on a clean surface. Excessive bending will damage the headliner.

  1. Remove the shoulder belt bolts from the B-pillar. Refer to Seat Belt Replacement - Driver or Passenger in Seat Belts.
  2. Remove the upper B-pillar trim.
  3. Remove the courtesy lamp.
  4. Remove the front upper pinchweld lace.
  5. Remove the windshield garnish molding. Refer to Windshield Pillar Garnish Molding Replacement .
  6. Remove the rear sail panels. Refer to Sail Panel Replacement .

  7. Object Number: 289190  Size: SH
  8. Remove the assist handles (2). Refer to Assist Handle Replacement .
  9. Disconnect the electrical connectors to the following components:
  10. • The headliner harness
    • The courtesy lamp
    • The sunshade (4)
  11. Remove the sunshades (4). Refer to Sunshade Replacement .
  12. Remove the map light bezel.
  13. Disconnect the electrical connectors from the mirror and the map light.
  14. Remove the rearview mirror.
  15. Lower the front seat backs.
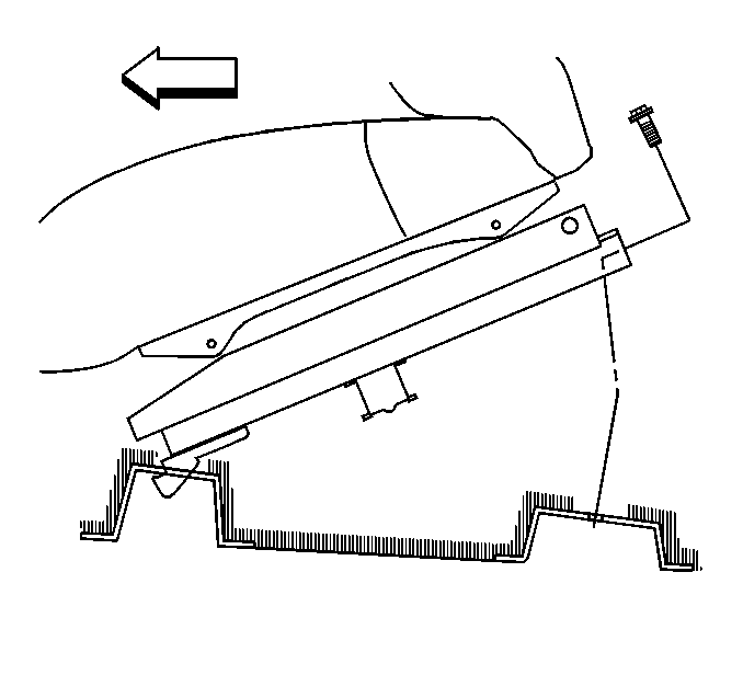
  16. With the aid of an assistant, remove the headliner (1) through the passenger door.

Installation Procedure


    Object Number: 289193  Size: SH

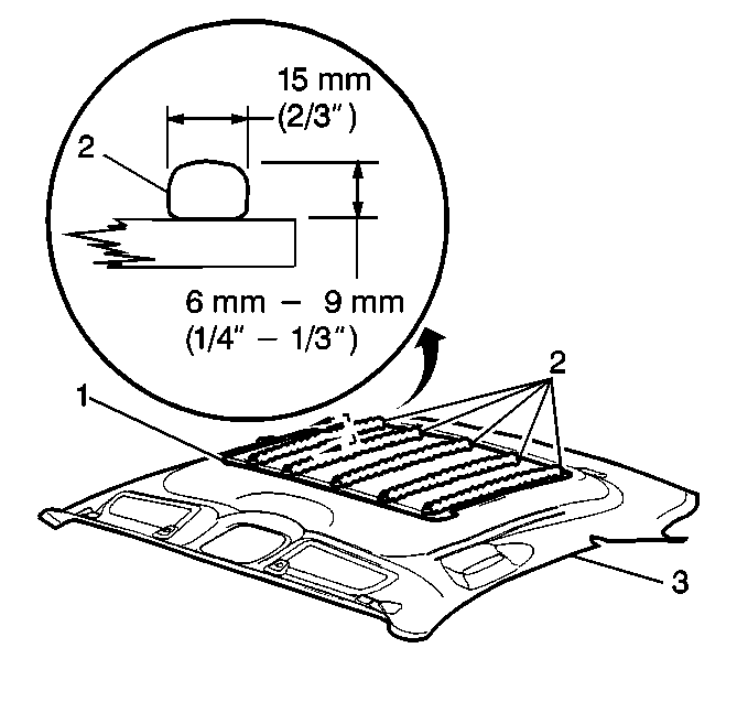
    Notice: If cardboard sound insulator is removed from the roof, reinstall using adhesive. Apply five 6 mm (¼ in) beads of adhesive where it was previously removed.

  1. With the aid of an assistant, install the headliner (1) through the front passenger door.
  2. Connect the connectors to the mirror and to the map light.
  3. Install the map light bezel.

  4. Object Number: 289190  Size: SH
  5. Connect the connectors to the following components:
  6. • The headliner harness
    • The courtesy lamp
    • The sunshade (4)
  7. Install the sunshade (4).
  8. Install the assist handles (2). Refer to Assist Handle Replacement .
  9. Install the rear sail panels. Refer to Sail Panel Replacement .
  10. Install the windshield garnish molding. Refer to Windshield Pillar Garnish Molding Replacement .
  11. Install the front upper pinchweld lace.
  12. Install the courtesy lamp.
  13. Install the upper B-pillar trim.
  14. Install the shoulder belts. Refer to Seat Belt Replacement - Driver or Passenger in Seat Belts.

Headlining Trim Panel Replacement Oldsmobile

Removal Procedure

Notice: Use care when removing and installing the headliner. If reusing the headliner lay the headliner down flat on a clean surface. Excessive bending will damage the headliner.


    Object Number: 287828  Size: SH
  1. Remove the front passenger seat. Refer to Driver or Passenger Seat Replacement in Seats.
  2. Recline the front drivers seat to the full recline position.

  3. Object Number: 185433  Size: SH
  4. Remove the lower pillar garnish moldings. Refer to Lower Pillar Garnish Molding Replacement .

  5. Object Number: 185437  Size: SH
  6. Remove the driver and passenger shoulder belt guide and bolt. Refer to Seat Belt Replacement - Driver or Passenger in Seat Belts.

  7. Object Number: 289241  Size: SH
  8. Remove the upper pillar garnish moldings (3). Refer to Upper Pillar Garnish Molding Replacement .

  9. Object Number: 289241  Size: SH
  10. Remove the windshield pillar garnish moldings (1). Refer to Windshield Pillar Garnish Molding Replacement .
  11. Remove the pinch weld lace (2).

  12. Object Number: 289241  Size: SH
  13. Remove the sail panels (4). Refer to Sail Panel Replacement .

  14. Object Number: 289231  Size: SH
  15. Remove the rear assist handles (4). Refer to Assist Handle Replacement .
  16. Disconnect the headliner electrical harness connector at the sail panel.

  17. Object Number: 289234  Size: SH
  18. Remove the sunshades (1). Refer to Sunshade Replacement .
  19. Remove the right front assist handle. Refer to Assist Handle Replacement .

  20. Object Number: 289261  Size: SH
  21. Remove the map light lens (3), the housing (2), and the bezel (1). Refer to Garage Door Opener Replacement in Garage Door Opener.

  22. Object Number: 289190  Size: SH
  23. Using the aid of an assistant, carefully remove the headliner (1) through the passenger rear door.

Installation Procedure


    Object Number: 289190  Size: SH
  1. Install the headliner (1) into the vehicle through the rear passenger door.

  2. Object Number: 289193  Size: SH

    Notice: If cardboard sound insulator is removed from the roof, reinstall using adhesive. Apply five 6 mm (¼ in) beads of adhesive where it was previously removed.

  3. Apply glue (2) to the headliner (3) in order to secure the cardboard.

  4. Object Number: 289231  Size: SH
  5. Install the rear assist handles (4). Refer to Assist Handle and Rear Coat Hook Replacement .
  6. Install the front assist handles (4). Refer to Assist Handle Replacement .

  7. Object Number: 289261  Size: SH
  8. Install the map light lens (3), the housing (2), and the bezel (1). Refer to Garage Door Opener Replacement in Garage Door Opener.

  9. Object Number: 289234  Size: SH
  10. Install the sunshades. Refer to Sunshade Replacement .
  11. Connect the headliner connector at the sail panel.

  12. Object Number: 289241  Size: SH
  13. Install the sail panels (4). Refer to Sail Panel Replacement .
  14. Install the windshield pillar garnish moldings (1). Refer to Windshield Pillar Garnish Molding Replacement .

  15. Object Number: 289241  Size: SH
  16. Install the upper pillar garnish moldings (3). Refer to Upper Pillar Garnish Molding Replacement .
  17. Install the upper pinch weld laces.

  18. Object Number: 185437  Size: SH
  19. Install the upper seat belt guide and bolts. Refer to Seat Belt Replacement - Driver or Passenger in Seat Belts.

  20. Object Number: 185433  Size: SH
  21. Install the lower pillar garnish moldings. Refer to Lower Pillar Garnish Molding Replacement .

  22. Object Number: 287828  Size: SH
  23. Install the front passenger seat. Refer to Driver or Passenger Seat Replacement in Seats.
  24. Incline the drivers seat to the original position.