GM Service Manual Online
For 1990-2009 cars only

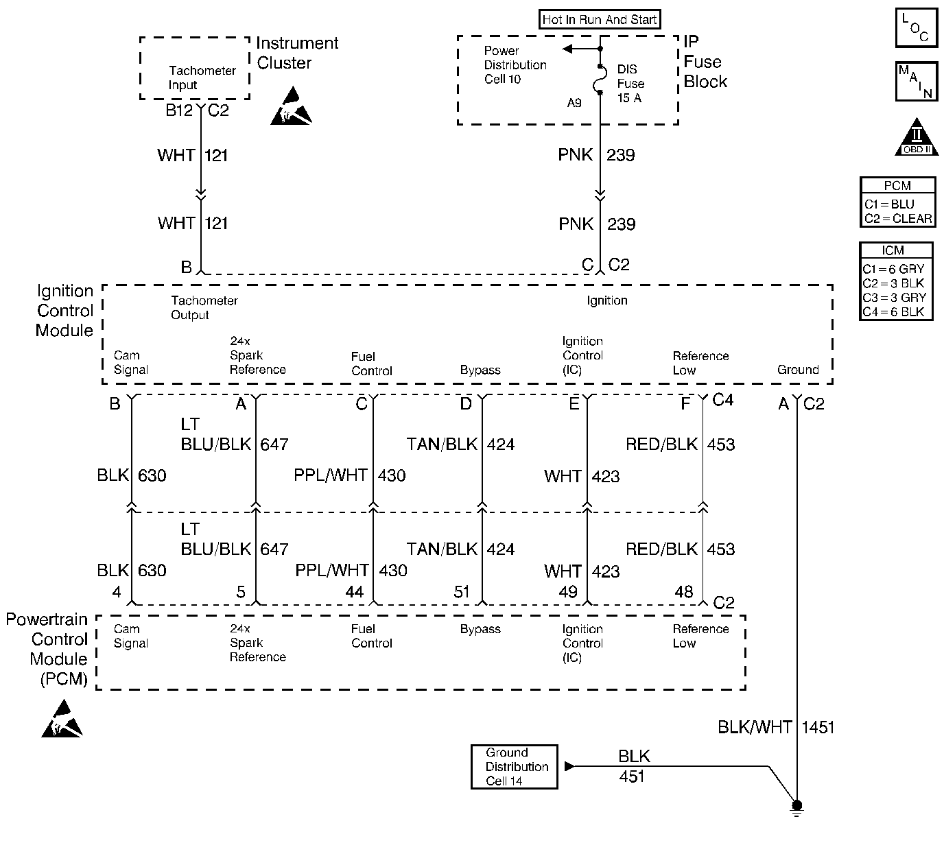
Object Number: 191628  Size: LF
Engine Controls Components
Cell 21: Ignition Control Module
OBD II Symbol Description Notice
ESD Notice
ESD Notice

Circuit Description

The Ignition Control Module creates a 4X signal and a 24X signal that is used by the PCM for ignition and fuel control. If the PCM does not receive 4X reference pulses from the Ignition Control Module for more than 0.4 second while the engine is running, DTC P1320 is set.

Conditions for Running the DTC

    •  DTCs P0232 and P1376 are not set.
    •  Engine speed more than 568 RPM.

Conditions for Setting the DTC

No 4X reference pulse has been received by the PCM for 0.4 second.

Action Taken When the DTC Sets

    •  The Malfunction Indicator Lamp (MIL) will not illuminate.
    •  No message will be displayed.

Conditions for Clearing the DTC

    •  A History DTC will clear after forty consecutive warm-up cycles with no failures of any non-emission related diagnostic test.
    •  A Last Test Failed (current) DTC will clear when the diagnostic runs and does not fail.
    • Use a scan tool to clear DTCs.
    • Interrupting PCM battery voltage may or may not clear DTCs. This practice is not recommended. Refer to Clearing Diagnostic Trouble Codes in Powertrain Control Module Description .

Diagnostic Aids

This DTC may set due to a false start condition in which cranking engine exceeds 568 rpm but does not start.

If no fault present check for intermittent opens/shorts in CKT's 430, 239 and 1451 or EMI interference on CKT 430.

Without 4X reference pulses the vehicle will start although crank time can be extended to as much as 45 seconds. If this DTC is set with a No Start complaint crank the vehicle for 45 seconds before attempting to determine the cause of a No Start condition.

Test Description

The numbers below refer to the step numbers on the Diagnostic Table.

  1. Check to see if DTC P1376 is set because a REF LO problem can cause other ignition problems.

  2. IC module output should be 4.2 volts or more.

  3. IC module frequency output should be 30 Hz or more.

    A diagnostic jumper can be created with the terminals supplied in the J 38125-A Terminal Repair Kit. Assemble the jumpers and terminals and cover the exposed terminals with heat shrink tubing. Do not cover the spade of the male terminals.

Step

Action

Value(s)

Yes

No

1

Did you perform the Powertrain On-Board Diagnostic (OBD) System Check?

--

Go to Step 2

Go to Powertrain On Board Diagnostic (OBD) System Check

2

Is DTC P1376 also set?

--

Go to DTC P1376 Ignition Ground Circuit

Go to Step 3

3

  1. Record fluid life indexes, turn the key to LOCK and wait 30 seconds.
  2. Disconnect IC module connector C4.
  3. Disconnect PCM connector C2.
  4. Using DMM J 39200 measure the resistance to ground at PCM connector C2 terminal 5.

Is the resistance more than the value specified?

10K ohms

Go to Step 4

Go to Step 8

4

Measure the resistance between IC module connector C4 terminal A and PCM connector C2 terminal 5.

Is the resistance the same or less than the value specified?

5 ohms

Go to Step 5

Go to Step 9

5

  1. Reconnect IC module connector C4.
  2. Turn the key ON.
  3. Measure the voltage to ground at PCM connector C2 terminal 5.

Is the voltage more than the value specified?

4.2 volts

Go to Step 6

Go to Step 10

6

  1. Turn the key to LOCK.
  2. Reconnect PCM connector C2.
  3. Disconnect IC module connector C4.
  4. Install diagnostic jumper.
  5. OR:

    • Jumper C4 terminal A to module pin A.
    • Jumper C4 terminal B to module pin B.
    • Jumper C4 terminal C to module pin C.
    • Jumper C4 terminal D to module pin D.
    • Jumper C4 terminal E to module pin E.
    • Jumper C4 terminal F to module pin F.
  6. Set the DMM to 400 mV A/C scale and push the Hz button.
  7. Start the engine.
  8. Connect the DMM between jumper A and ground.

Does the FREQUENCY measure less than the value specified?

200 Hertz

Go to Step 10

Go to Step 7

7

  1. Remove all jumpers.
  2. Reconnect IC module connector C4.
  3. Clear the DTC.
  4. Start and idle engine.
  5. Using a scan tool select DTC Information.

Has DTC P1323 Failed This Ign.?

--

Go to Step 13

Fault not present. Go to Diagnostic Aids

8

Repair the short to ground in the 24X spark reference circuit. Refer to Wiring Repairs in Wiring Systems.

Is the repair complete?

--

Go to Powertrain Control Module Diagnosis for Verify Repair

--

9

Repair the open in the 24X spark reference circuit. Refer to Wiring Repairs in Wiring Systems.

Is the repair complete?

--

Go to Powertrain Control Module Diagnosis for Verify Repair

--

10

  1. Check terminal contact at the IC module.
  2. Repair terminal contact if needed.

Was terminal contact repaired?

--

Go to Powertrain Control Module Diagnosis for Verify Repair

Go to Step 12

12

Replace the ignition control module. Refer to Ignition Control Module Replacement .

Is the replacement complete?

--

Go to Powertrain Control Module Diagnosis for Verify Repair

--

13

  1. Check terminal contact at the PCM connector C2 terminal 5.
  2. Repair terminal contact if needed.

Was terminal contact repaired?

--

Go to Powertrain Control Module Diagnosis for Verify Repair

Go to Step 14

14

Replace the PCM. Refer to Powertrain Control Module Replacement/Programming .

Is the replacement complete?

--

Go to Powertrain Control Module Diagnosis for Verify Repair

--