GM Service Manual Online
For 1990-2009 cars only

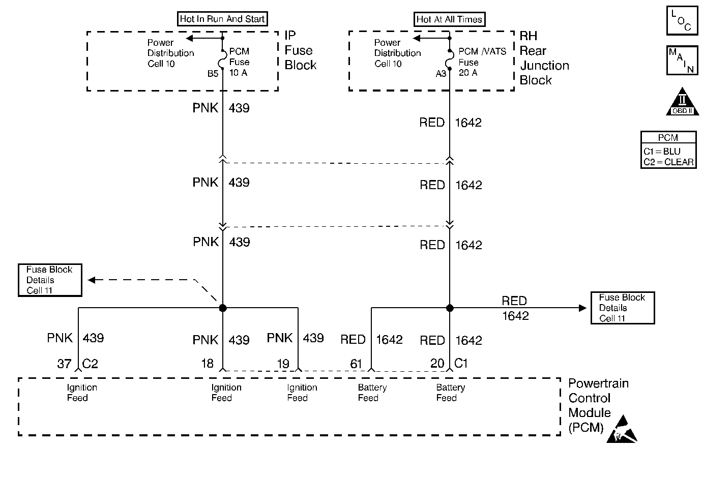
Object Number: 191672  Size: MF
Cell 21: PCM Power and Grounds
Engine Controls Components

Circuit Description

The PCM is powered with 5 power feeds. Two of these feeds are from the battery, the other three are from the ignition switch and are called Ignition 1, Ignition 0 and Ignition Supplement. The ignition feeds are powered any time the key is in the CRANK, RUN or ACC positions. This diagnostic test is used to monitor the Ignition Supplement voltage received at PCM connector C2 terminal 37. The PCM monitors this voltage and if it drops too low for 1 second, DTC P1633 will set.

Conditions for Running the DTC

    •  Engine running
    •  Ignition 1 voltage (PCM connector C1 terminal 19) at least 5.5 volts.

Conditions for Setting the DTC

Ignition Supplement voltage, PCM connector C2 terminal 37, voltage low for 1 second.

Action Taken When the DTC Sets

    •  The Malfunction Indicator Lamp (MIL) will not illuminate.
    •  The PCM will command a message to be displayed.
    •  The PCM may record operating conditions at the time the diagnostic fails. This information will be stored in the Failure Records.

Conditions for Clearing the Message/DTC

    •  The PCM will turn the message OFF after one run and pass of the diagnostic test.
    •  A History DTC will clear after forty consecutive warm-up cycles with no failures of any non-emission related diagnostic test.
    •  A Last Test Failed (current) DTC will clear when the diagnostic runs and does not fail.
    • Use a scan tool to clear DTCs.
    • Interrupting PCM battery voltage may or may not clear DTCs. This practice is not recommended. Refer to Clearing Diagnostic Trouble Codes in PCM Description and Operation.

Diagnostic Aids

If this DTC is intermittent check terminal contact at the PCM and the condition of the CKT 439 splice for an intermittent open condition.

If the Ignition 0 to the PCM is lost the vehicle will still run but some outputs may not function, if the Ignition 1 voltage is lost or goes below 5.5 volts the vehicle will not run but DTC P1634 should set.

Step

Action

Value(s)

Yes

No

1

Did you perform the Powertrain On Board Diagnostic (OBD) System Check?

--

Go to Step 2

Go to Powertrain On Board Diagnostic (OBD) System Check

2

Is DTC P1634 also set?

--

Go to DTC P1634 Ignition 1 Switch Circuit

Go to Step 3

3

  1. Using a scan tool record and write down the Ignition 1 voltage display.
  2. Record the fluid life indexes, turn the key to LOCK and wait 30 seconds.
  3. Disconnect PCM connector C2.
  4. Turn the key ON.
  5. Using DMM J 39200 measure the voltage to ground at PCM connector C2 terminal 37.

Are the two voltages within each other by the value specified?

1.5 volts

Go to Step 4

Go to Step 5

4

  1. Turn the key to LOCK.
  2. Reconnect PCM connector C2.
  3. Turn the key ON.
  4. Using the scan tool, clear this DTC.
  5. Start and idle the engine.
  6. After 10 seconds select DTC Information.

Did this DTC Fail This Ignition?

--

Go to Step 6

Fault not present.

Go to Diagnostic Aids

5

Repair the open in CKT 439 between PCM connector C2 terminal 37 and the splice or poor terminal contact at PCM connector C2 terminal 37.

Refer to Wiring Repairs in Wiring Systems.

Is the repair complete?

--

Go to Powertrain Control Module Diagnosis for Verify Repair

--

6

  1. Check terminal contact at the PCM connector C2 terminal 37.
  2. Repair terminal contact if needed.

Was terminal contact repaired?

--

Go to Powertrain Control Module Diagnosis for Verify Repair

Go to Step 7

7

Replace the PCM. Go to Powertrain Control Module Replacement/Programming .

Is the replacement complete?

--

Go to Powertrain Control Module Diagnosis for Verify Repair

--