GM Service Manual Online
For 1990-2009 cars only
Figure 1:

Center Front of the Engine Compartment


Object Number: 342446  Size: LF
(1)RH Cooling Fan Motor
(2)S143
(3)Cooling Fan Diode
(4)S141
(5)LH Cooling Fan Motor
Figure 2:

Engine Compartment, Right Side


Object Number: 342457  Size: LF
(1)RH Front Strut Tower
(2)P107 (Hidden)
(3)S116
(4)G103
(5)S122
(6)S115
(7)S104
(8)S100
(9)S121
(10)S119
(11)S124
(12)S130
Figure 3:

Right Side of the Engine Compartment


Object Number: 342460  Size: LF
(1)Right Front Wheel House
(2)C105
(3)Windshield Washer Level Switch
(4)Right Front Fender
(5)Windshield Washer Pump
(6)Washer Solvent Container
Figure 4:

Engine Compartment, Left Rear


Object Number: 342486  Size: LF
(1)S110 S109
(2)G106
(3)G104
(4)S101
(5)Harness to the Brake Pressure Modulator Valve (BPMV)
(6)S112
(7)S111
(8)S120
(9)S132
(10)P100
(11)S142
(12)Harness to the Brake Fluid Level Switch
(13)S102
Figure 5:

Center Rear of the Engine Compartment


Object Number: 342494  Size: LF
(1)C102
(2)Cruise Control Module
(3)C101
(4)Brake Fluid Level Switch
(5)ABS Pump Relay
(6)ABS Main Relay
(7)Windshield Wiper/Washer Module
(8)Cooling Fan Relay
Figure 6:

Center Rear of the Engine Compartment


Object Number: 342498  Size: LF
(1)A/C Low Temperature Sensor
(2)S140
(3)Right Front Strut Tower
Figure 7:

Engine, Right Front


Object Number: 342511  Size: LF
(1)G100
(2)C107
(3)Camshaft Position (CMP) Sensor
(4)Water Pump
Figure 8:

Engine, Left Front


Object Number: 342523  Size: LF
(1)C131
(2)Starter Motor
(3)Starter Solenoid
(4)Starter Solenoid
(5)Starter Motor
Figure 9:

Engine Compartment, Left Front


Object Number: 342532  Size: LF
(1)C100
(2)Front Heated Oxygen Sensor (HO2S)
(3)S123
Figure 10:

Rear of the Engine


Object Number: 342575  Size: LF
(1)Ignition Control (IC) Module
(2)S106
(3)Rear Heated Oxygen Sensor (HO2S)
(4)S118
(5)S153
(6)S152
(7)S114
(8)S127
(9)C106
Figure 11:

Engine, Front


Object Number: 342584  Size: LF
(1)Crankshaft Position (CKP) Sensor A
(2)Crankshaft Position (CKP) Sensor B
(3)Manifold Absolute Pressure (MAP) Sensor (Hidden)
(4)Engine Oil Pressure Switch
(5)S105, S108
(6)Generator
(7)Engine Oil Level Switch (Hidden)
Figure 12:

Engine, Right Rear


Object Number: 342587  Size: LF
(1)Engine Oil Pressure Switch
(2)G101 (VIN 1)
Figure 13:

Engine, Right Rear (VIN 1)


Object Number: 342592  Size: LF
(1)G101 (Hidden)
(2)Engine Oil Pressure Switch
(3)Vehicle Speed Sensor (VSS)
(4)Variable Steering Actuator
(5)C111
(6)Knock Sensor Bank 2 (Hidden)
Figure 14:

Rear of the Engine


Object Number: 342607  Size: LF
(1)S106
(2)S131
(3)S126
Figure 15:

Left Front of the Vehicle, in the Wheel Opening


Object Number: 342617  Size: LF
(1)C104, C103
(2)LH Front Wheel Speed Sensor (RH similar)
(3)Wheel Hub
(4)LH Front Wheel Speed Sensor Harness Connector (RH similar)
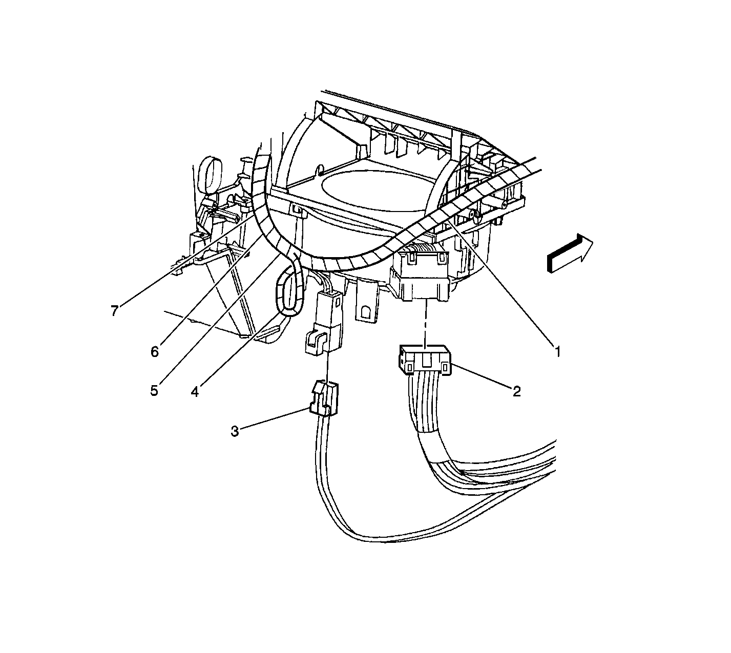
Figure 16:

Behind the Instrument Panel (Oldsmobile shown)


Object Number: 342695  Size: LF
(1)S215
(2)S204
(3)S240
(4)S279
(5)Fuel Door Release Switch
(6)Panel Dimming Control Switch
(7)C209
(8)C208
(9)Fog Lamp Switch
(10)S229
(11)S207
(12)C200
(13)S246
(14)S236
(15)S255
(16)C203
(17)Radio Connector
(18)Instrument Panel Compartment
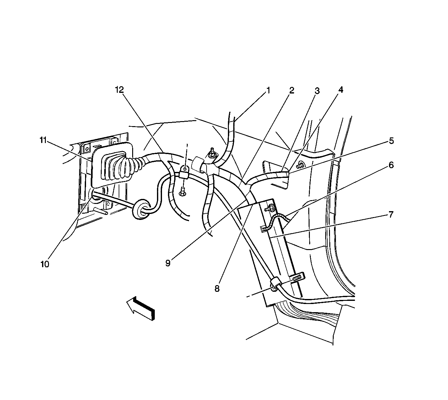
Figure 17:

Passenger Compartment, Behind the Instrument Panel


Object Number: 342704  Size: LF
(1)S264
(2)S256
(3)Headlamp Switch Connector
(4)C213
(5)C200
(6)C203
(7)Radio Connector
(8)C206
(9)S201
(10)S273
(11)IP Compartment
(12)C210
(13)Heater and A/C Control Connector
(14)S204
Figure 18:

Passenger Compartment, Behind the Instrument Panel


Object Number: 342708  Size: LF
(1)S241
(2)S242
(3)S261
(4)S287
(5)S296
(6)S248
(7)S245
(8)Harness to the Powertrain Control Module (PCM)
(9)S297
(10)S285
(11)S259
(12)Harness to C200
(13)S218
(14)S214
(15)S211
(16)S206
(17)S299
(18)Harness to the Park Brake Switch
(19)S263
(20)S258
(21)S237
(22)S220 (Buick) S210 (Oldsmobile)
(23)S292
(24)Harness to the Instrument Cluster
(25)S239
(26)S231
(27)S209
(28)Body Wiring Harness
Figure 19:

Passenger Compartment, Top of the Instrument Panel


Object Number: 342709  Size: LF
(1)Right Solar Sensor (Buick)
(2)Ambient Light Sensor (Oldsmobile)
(3)Right Solar Sensor (Oldsmobile)
(4)S288
(5)C219 (Oldsmobile)
(6)Defrost Grille (Oldsmobile)
(7)Left Solar Sensor (Oldsmobile)
(8)Left Solar Sensor (Buick)
(9)Defrost Grille (Buick)
(10)Ambient Light Sensor (Buick)
Figure 20:

Passenger Compartment, Under the Left Side of the IP


Object Number: 342713  Size: LF
(1)S222
(2)S223
(3)S221
(4)S228
(5)S226
(6)S224
(7)S238
(8)S202
(9)P100
(10)S292
(11)S217
(12)S227
(13)S294
(14)S281
(15)S331
(16)S290
(17)C209
(18)S289
(19)S298
(20)IP Fuse Block
(21)G202
Figure 21:

Passenger Compartment, Under the Left Side of the Instrument Panel


Object Number: 342719  Size: LF
(1)C215
(2)C212
Figure 22:

Passenger Compartment, Under the Left Side of the Instrument Panel


Object Number: 342728  Size: LF
(1)C202
(2)Lamp Control Module (LCM)
(3)Body Control Module (MALL)
(4)Starter Enable Relay
Figure 23:

Passenger Compartment, Under the Right Side of the Instrument Panel


Object Number: 342747  Size: LF
(1)S277
(2)C207
(3)C205
(4)S276
(5)S275
(6)S274
(7)S278
Figure 24:

Passenger Compartment, Under the Right Side of the Instrument Panel


Object Number: 342754  Size: LF
(1)S260
(2)S295
(3)S293
(4)S212
(5)P600
(6)G201
(7)S253
(8)S254
(9)S225
(10)P108
(11)P107
(12)S291
Figure 25:

Passenger Compartment, in the Center Console


Object Number: 342756  Size: LF
(1)Console (Buick)
(2)Shift Interlock Solenoid (Buick)
(3)S315 (Buick)
(4)S227 (Buick)
(5)C203 (Buick)
(6)Console (Oldsmobile)
(7)Shift Interlock Solenoid (Oldsmobile)
(8)C203 (Oldsmobile)
Figure 26:

Passenger Compartment, Under the Center Console


Object Number: 342758  Size: LF
(1)Console Compartment Lamp (Oldsmobile)
(2)Console Compartment Lamp Switch (Oldsmobile)
(3)S316 (Oldsmobile)
(4)S301 (Oldsmobile)
(5)C203 (Oldsmobile)
(6)S302 (Oldsmobile)
(7)S314 (Buick)
(8)PRNDL Indicator Lamp (Buick)
(9)S315 (Buick)
(10)C203 (Buick)
Figure 27:

Passenger Compartment, Under the Left Front Seat


Object Number: 342760  Size: LF
(1)Seat Horizontal Position Sensor
(2)S332
(3)S324
(4)Memory Seat/Mirror Module
(5)S304 (Buick) S310 (Oldsmobile)
(6)C301(LH) C305 (RH)
(7)Memory Seat/Mirror Diagnostic Connector
(8)S306 (Buick)
(9)LH Heated Seat Module (RH similar)
(10)Seat Front Vertical Position Sensor
(11)LH Seat Front Vertical Motor (RH similar)
(12)LH Seat Rear Vertical Motor (RH similar)
(13)LH Seat Horizontal Motor (RH similar)
(14)Seat Rear Vertical Position Sensor
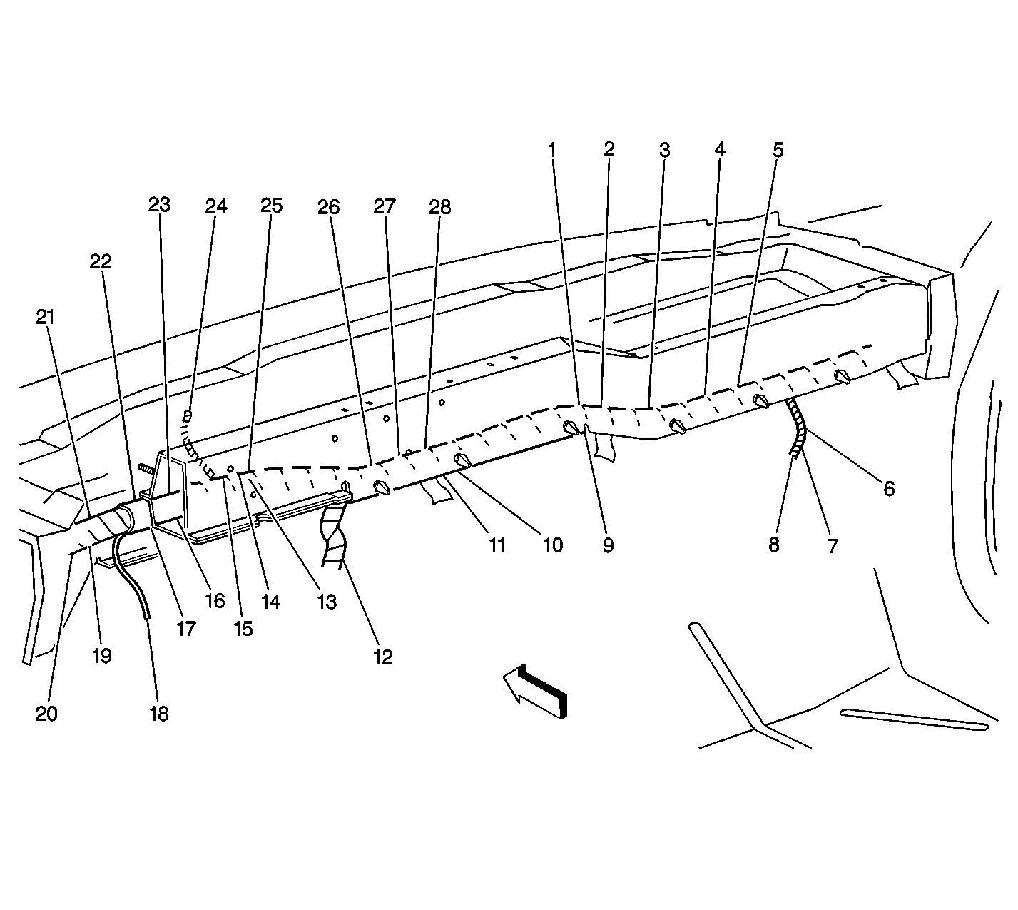
Figure 28:

Passenger Compartment, Left Side Under the Carpet


Object Number: 342762  Size: LF
(1)S353
(2)To left front seat
(3)S349
(4)S350
(5)S351
(6)S352
(7)S346
(8)S348
(9)S347
Figure 29:

Passenger Compartment, Left Side Under the Rear Seat


Object Number: 342816  Size: LF
(1)Perimeter Lighting Contol Relay
(2)S309
(3)G302
(4)S345
(5)LH Sill Channel
Figure 30:

Passenger Compartment, at the Base of the Right Rear Sail Panel


Object Number: 342819  Size: LF
(1)C308
(2)C303
(3)Harness to the RH Rear Reading Lamp Switch (LH Similar)
(4)S319
(5)S320
(6)S286
(7)High Mounted Stop Lamp Connector
Figure 31:

Passenger Compartment, Behind the Right Corner of the Rear Seat


Object Number: 342822  Size: LF
(1)S423
(2)S418
(3)S415
(4)S450
(5)S417
Figure 32:

Passenger Compartment, Under the Rear Seat


Object Number: 342827  Size: LF
(1)S343
(2)S342
(3)RH Rear Fuse Block
(4)S341
(5)S335
(6)S363
(7)S362 (Oldsmobile)
(8)S336
(9)S337
(10)S338
(11)S339
(12)S340
(13)S344
(14)S334
(15)LH Rear Fuse Block
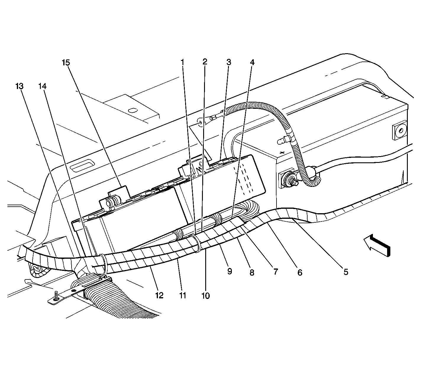
Figure 33:

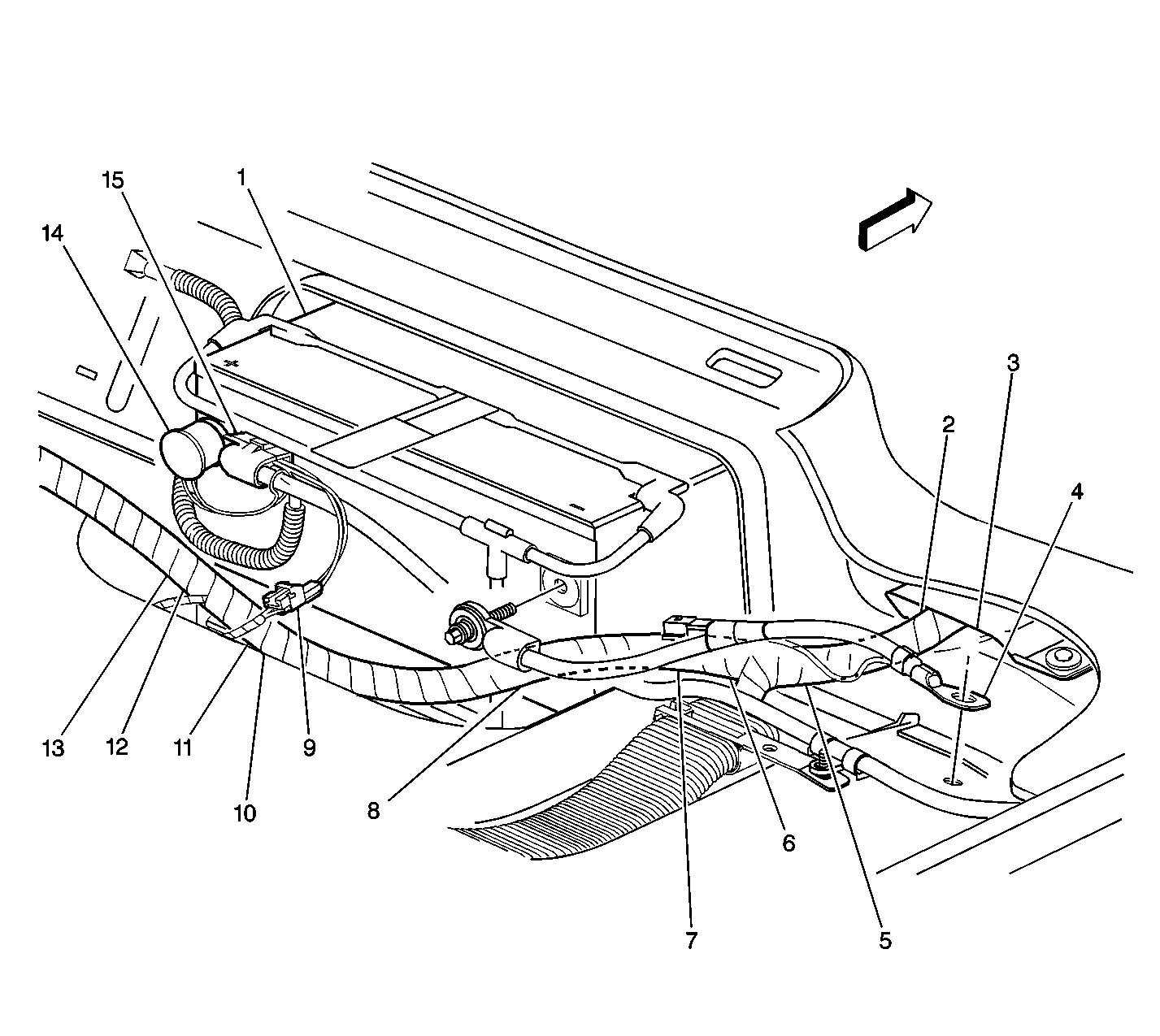
Passenger Compartment, Under the Rear Seat


Object Number: 342830  Size: LF
(1)Battery
(2)S303
(3)RH Sill Channel
(4)G301
(5)S427
(6)S355
(7)S356
(8)S366
(9)S358
(10)S365
(11)S354
(12)S364
(13)S359
(14)Positive Battery Cable
(15)Battery Thermistor
Figure 34:

Left Door (Buick)


Object Number: 342843  Size: LF
(1)Left Front Power Window Motor (RH Similar)
(2)S507
(3)S503
(4)S501
(5)S502
(6)P500 (Left) P600 (Right)
(7)Power Window Control Module
(8)C501 (Left) C600 (Right)
(9)C505 (Left) C605 (Right)
(10)Left Front Door Lock Actuator (Right similar)
Figure 35:

Left Front Door (Oldsmobile Shown, Buick Similar)


Object Number: 342848  Size: LF
(1)S509 (Left), S604 (Right)
(2)S501
(3)S502
(4)P500 (Left) P600 (Right)
(5)Power Window Control Module
(6)S505
(7)S505 (Left), S605 (Right)
(8)S503
(9)C501 (Left), C601 (Right)
(10)Left Front Door Lock Actuator (Right similar)
Figure 36:

Rear Compartment, Under the Rear Shelf Panel


Object Number: 342868  Size: LF
(1)Remote Function Actuator (RFA) Module
(2)Rear Package Shelf
(3)Bose® Amplifier
(4)S223
(5)S232
(6)Bose® Subwoofer
Figure 37:

Rear Compartment, in the Right Rear Corner


Object Number: 342892  Size: LF
(1)S410 (Buick)
(2)C420
(3)P408
(4)S419 (Oldsmobile)
(5)G401
(6)S423
Figure 38:

Rear of the Vehicle, Behind the Left Tail Lamp (Oldsmobile)


Object Number: 342899  Size: LF
(1)C406 (LH) C405 (RH)
(2)S430 (LH) S431 (RH)
(3)S426 (LH) S421 (RH)
(4)P403 (LH) P404 (RH)
(5)LH Tail Lamp (RH Similar)
(6)S437 (LH) S416 (RH)
Figure 39:

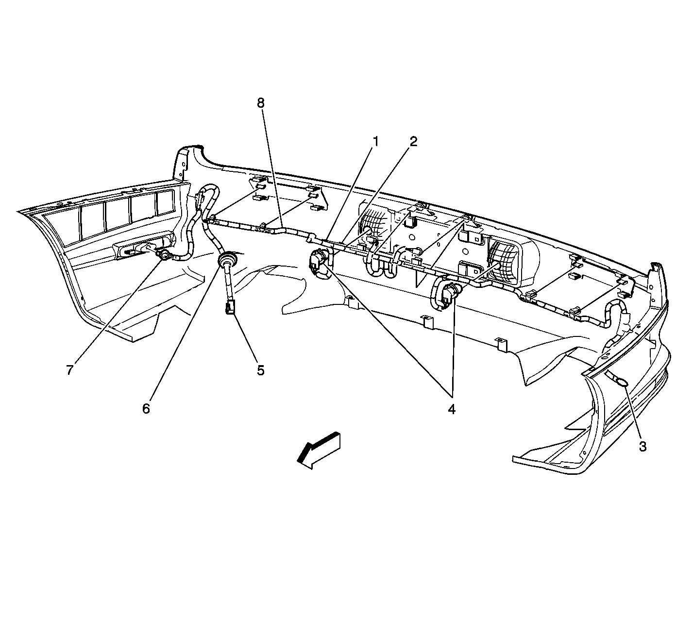
Rear of the Vehicle (Buick Shown)


Object Number: 342903  Size: LF
(1)C407
(2)S429
(3)S420
(4)S431
(5)P401
(6)RH Rear Tail Lamp (LH Similar)
(7)S432
(8)RH Rear Side Marker Lamp
(9)S425
(10)S430
(11)LH Rear Side Marker Lamp
Figure 40:

Rear of the Vehicle, Behind the Rear Fascia (Oldsmobile Shown)


Object Number: 342907  Size: LF
(1)S432
(2)S425
(3)LH Rear Side Marker Lamp
(4)Backup Lamps
(5)C404
(6)P405
(7)RH Rear Side Marker Lamp
(8)S428