GM Service Manual Online
For 1990-2009 cars only

Front Fender Insulator Replacement Oldsmobile

Removal Procedure

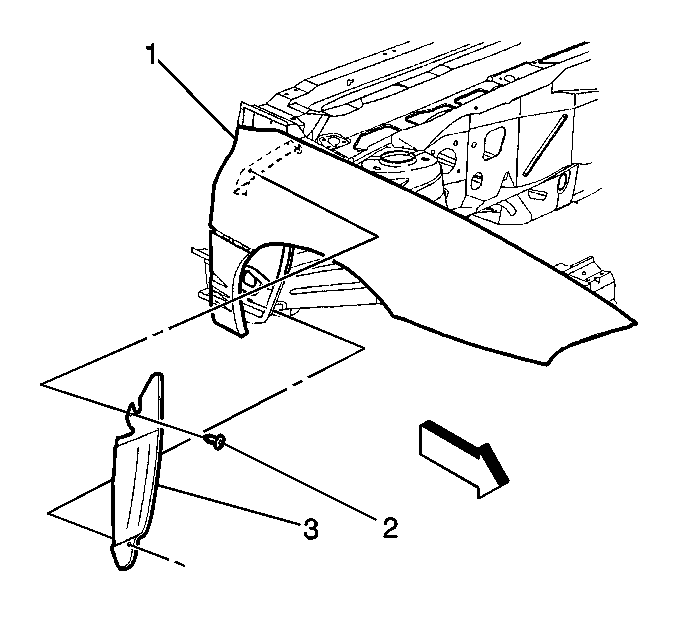
  1. Remove the wheelhouse assembly. Refer to Wheelhouse Panel Replacement .

  2. Object Number: 283599  Size: SH
  3. Remove the push-in retainer (2) from the sound insulator (3).
  4. Remove the fender sound insulator (3).

Installation Procedure


    Object Number: 283599  Size: SH
  1. Install the fender sound insulator (3).
  2. Install the push-in retainer (2).
  3. Install the wheelhouse assembly. Refer to Wheelhouse Panel Replacement .

Front Fender Insulator Replacement Buick

Removal Procedure

  1. Remove the wheelhouse assembly. Refer to Wheelhouse Panel Replacement .

  2. Object Number: 283594  Size: SH
  3. Remove the push-in retainer (2) from the sound insulator (3).
  4. Remove the fender sound insulator (3).

Installation Procedure


    Object Number: 283594  Size: SH
  1. Install the fender sound insulator (3).
  2. Install the push-in retainer (2).
  3. Install the wheelhouse assembly. Refer to Wheelhouse Panel Replacement .