GM Service Manual Online
For 1990-2009 cars only

Refer to

Cell 21: Ignition Control Module


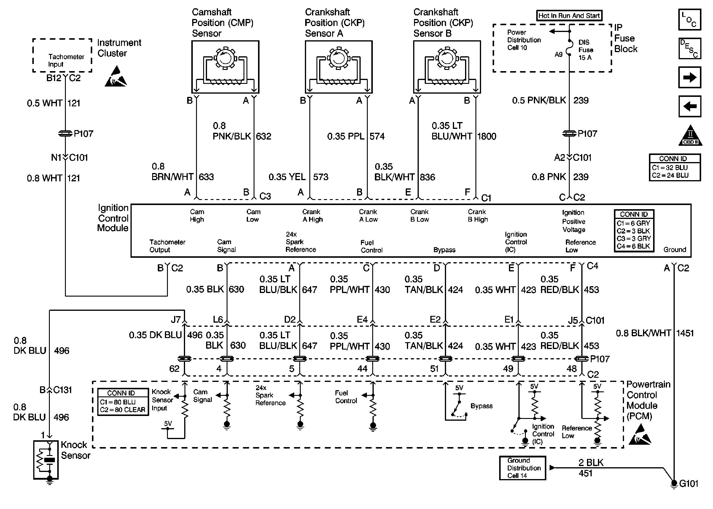
Object Number: 381077  Size: FS
Engine Controls Components
Powertrain Control Module Description
Cell 21: Fuel Pump Control, Theft Deterrent
Cell 21: MIL Control, DLC
OBD II Symbol Description Notice
Handling ESD Sensitive Parts Notice
Power Distribution Schematics
Powertrain Control Module Connector End Views
Handling ESD Sensitive Parts Notice
Ground Distribution Schematics
in Engine Controls Schematic.

Circuit Description

This diagnostic test checks for 24X signal at a logic high condition. The fault could be induced by the failure of either Crankshaft Position A or B Sensor input signal to the Ignition Control Module. Under such a condition, the Ignition Control Module would force the 24X signal high. This DTC will also set if the 24X signal is shorted to voltage externally. If either condition is met DTC P1375 is set.

Conditions for Running the DTC

    •  DTC P1376 is not set.
    •  Engine speed greater than 496 rpm.
    •  At least 7 CAM pulses received since key ON.

Conditions for Setting the DTC

24X signal voltage is high and no 24X reference pulses have been received during the last 8 4X reference pulses.

Action Taken When the DTC Sets

    •  The Malfunction Indicator Lamp (MIL) will not illuminate.
    •  The PCM will command a message to be displayed.
    •  The PCM may record operating conditions at the time the diagnostic fails. This information will be stored in the Failure Records.

Conditions for Clearing the MIL/DTC

    •  The PCM will turn the message OFF after one run and pass of the diagnostic test.
    •  A History DTC will clear after forty consecutive warm-up cycles with no failures of any non-emission related diagnostic test.
    •  A Last Test Failed (current) DTC will clear when the diagnostic runs and does not fail.
    • Use a scan tool to clear DTCs.
    • Interrupting PCM battery voltage may or may not clear DTCs. This practice is not recommended. Refer to Clearing Diagnostic Trouble Codes in Powertrain Control Module Description .

Test Description

Number(s) below refer to the step number(s) on the Diagnostic Table.

  1. Checking for a faulty crank A sensor or circuit failure.

  2. Checking for a faulty crank B sensor or circuit failure.

  3. To ensure acuurate voltage readings, connect the DMM J 39200 to the sensor before recording the Peak Min Max voltage.

  4. To ensure acuurate voltage readings, connect the DMM J 39200 to the sensor before recording the Peak Min Max voltage.

  5. A diagnostic jumper can be created with the terminals supplied in the J 38125-A Terminal Repair Kit. Assemble the jumpers and terminals and cover the exposed terminals with heat shrink tubing. Do not cover the spade of the male terminals.

Step

Action

Value(s)

Yes

No

1

Did you perform the On-Board Diagnostic (OBD) System Check?

--

Go to Step 2

Go to Powertrain On Board Diagnostic (OBD) System Check

2

Is DTC P1376 also set.

--

Go to DTC P1376 Ignition Ground Circuit

Go to Step 3

3

  1. Turn the key to LOCK.
  2. Disconnect IC module connector C1.
  3. Using DMM J 39200 measure the resistance between connector terminals A and B (harness side).

Is the resistance between the range specified?

800 - 1600 ohms

Go to Step 4

Go to Step 11

4

Measure the resistance between connector terminals E and F.

Is the resistance between the range specified?

800 - 1600 ohms

Go to Step 5

Go to Step 14

5

Measure the resistance to ground at IC module connector C1 terminals A then B then E and then F.

Is the resistance at any terminal less than the value specified?

1K ohms

Go to Step 17

Go to Step 6

6

  1. Disconnect IC module connector C2 to disable ignition.
  2. Set DMM to peak min/max, 4 volt scale, 1 ms sampling rate. Refer to Test Descriptions .
  3. Measure the max DC voltage across IC module connector C1 terminals A and B.
  4. Crank the engine for 10 seconds.

Is the voltage measured while cranking greater than the value specified?

0.25 volts

Go to Step 7

Go to Step 19

7

  1. Set DMM to peak min/max, 4 volt scale, 1 ms sampling rate. Refer to Test Descriptions . Measure the max DC voltage across IC module connector C1 terminals E and F.
  2. Crank the engine for 10 seconds.

Is the voltage measured while cranking greater than the value specified?

0.25 volts

Go to Step 8

Go to Step 20

8

  1. Reconnect IC module connectors C1 and C2.
  2. Disconnect IC module connector C4.
  3. Record fluid life indexes, turn the key to LOCK and wait 30 seconds. Disconnect PCM connector C2.
  4. Turn the key ON.
  5. Measure the voltage to ground at PCM connector C2 terminal 5.

Is the voltage less than the value specified?

0.4 volts

Go to Step 9

Go to Step 18

9

  1. Turn the key to LOCK.
  2. Reconnect PCM connector C2.
  3. Install diagnostic jumper at IC module connector C4.
  4. OR:

    • Jumper C4 terminal A to module pin A.
    • Jumper C4 terminal B to module pin B.
    • Jumper C4 terminal C to module pin C.
    • Jumper C4 terminal D to module pin D.
    • Jumper C4 terminal E to module pin E.
    • Jumper C4 terminal F to module pin F.
  5. Connect the DMM between jumper A and ground keeping the DMM leads away from the IC module, ign. coils and secondary ign. wires.
  6. Set the DMM to 4V D/C scale and push the Hz button.
  7. Start the engine.

Does the FREQUENCY measure more than the value specified?

0 Hertz

Go to Step 10

Go to Step 25

10

  1. Clear all DTCs.
  2. Remove just the terminal A jumper.
  3. Start the engine.
  4. Using a scan tool select DTC Information.

Has DTC P1323 Failed This Ign.?

--

Fault not present.

Go to Step 27

11

Was the resistance lower in Step 3 than the range that was specified?

--

Go to Step 12

Go to Step 13

12

  1. Disconnect crank sensor A connector at sensor.
  2. Measure resistance across terminals A and B at the sensor connector (harness side).

Is the resistance lower than the value specified?

10K ohms

Go to Step 21

Go to Step 19

13

  1. Disconnect crank sensor A connector at sensor.
  2. Jumper terminals A and B together at the sensor connector (harness side).
  3. Measure the resistance across IC module connector C1 terminals A and B.

Is the resistance more than the value specified?

5 ohms

Go to Step 22

Go to Step 19

14

Was the resistance lower in Step 4 than the range that was specified?

--

Go to Step 15

Go to Step 16

15

  1. Disconnect crank sensor B connector at sensor.
  2. Measure resistance across terminals A and B at the sensor connector (harness side).

Is the resistance lower than the value specified?

10K ohms

Go to Step 23

Go to Step 20

16

  1. Disconnect crank sensor B connector at sensor.
  2. Jumper terminals A and B together at the sensor connector (harness side).
  3. Measure the resistance across IC module connector C1 terminals E and F.

Is the resistance more than the value specified?

5 ohms

Go to Step 24

Go to Step 20

17

Repair the short to ground in the circuit(s) that measured low in Step 5.

Is the repair complete?

--

Go to Powertrain Control Module Diagnosis for Verify Repair

--

18

Repair the short to voltage on the 24X Spark Reference circuit.

Is the repair complete?

--

Go to Powertrain Control Module Diagnosis for Verify Repair

--

19

Replace crank sensor A. Refer to Crankshaft Position Sensor Replacement .

Is the repair complete?

--

Go to Powertrain Control Module Diagnosis for Verify Repair

--

20

Replace crank sensor B. Refer to Crankshaft Position Sensor Replacement .

Is the repair complete?

--

Go to Powertrain Control Module Diagnosis for Verify Repair

--

21

Repair the Crank A High circuit and the Crank A Low Circuit shorted together.

Is the repair complete?

--

Go to Powertrain Control Module Diagnosis for Verify Repair

--

22

Repair the open in the Crank A High circuit and/or the Crank A Low circuit.

Is the repair complete?

--

Go to Powertrain Control Module Diagnosis for Verify Repair

--

23

Repair the Crank B Low circuit and the Crank B High circuit shorted together.

Is the repair complete?

--

Go to Powertrain Control Module Diagnosis for Verify Repair

--

24

Repair the open in the Crank B Low circuit and/or the Crank B High circuit.

Is the repair complete?

--

Go to Powertrain Control Module Diagnosis for Verify Repair

--

25

  1. Check terminal contact at the IC module connector C1 terminals A, B, E and F.
  2. Repair terminal contact if needed.

Was terminal contact repaired?

--

Go to Powertrain Control Module Diagnosis for Verify Repair

Go to Step 26

26

Replace the Ignition Control module. Refer to Ignition Control Module Replacement .

Is the replacement complete?

--

Go to Powertrain Control Module Diagnosis for Verify Repair

--

27

  1. Check terminal contact at the PCM connector C2 terminal 5.
  2. Repair terminal contact if needed.

Was terminal contact repaired?

--

Go to Powertrain Control Module Diagnosis for Verify Repair

Go to Step 28

28

Replace the PCM. Refer to Powertrain Control Module Replacement/Programming .

Is the replacement complete?

--

Go to Powertrain Control Module Diagnosis for Verify Repair

--