GM Service Manual Online
For 1990-2009 cars only

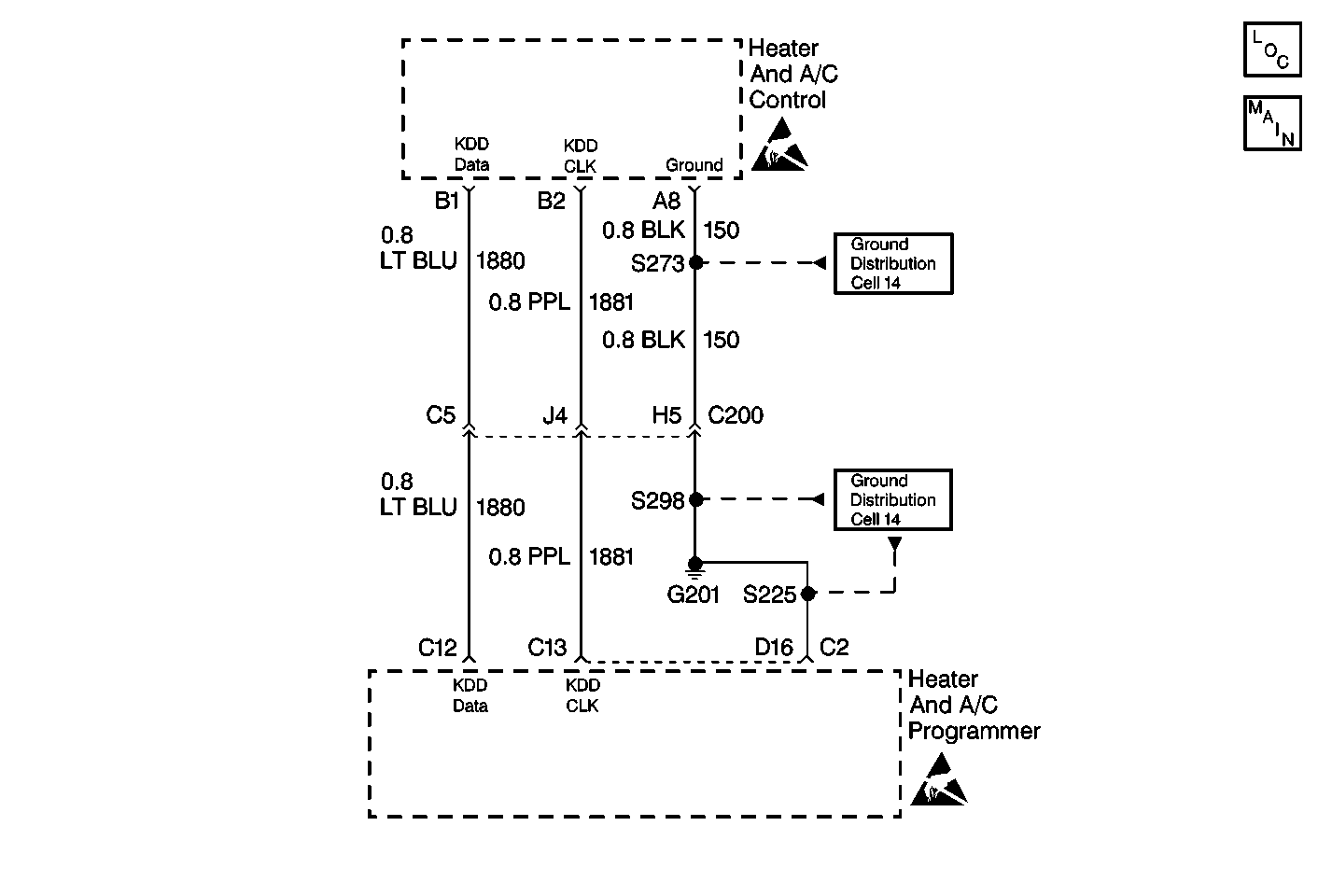
Object Number: 403745  Size: MF
Handling ESD Sensitive Parts Notice
HVAC Components
Handling ESD Sensitive Parts Notice
Cell 68: Passenger Temperature Control
Ground Distribution Schematics
Ground Distribution Schematics

Circuit Description

The HVAC control assembly sends input data through circuit 1880 to the HVAC programmer. The HVAC programmer uses this data to control the actuators on the HVAC module assembly.

Conditions for Setting the DTC

    • The ignition is on.
    • A circuit is open or shorted.

Action Taken When the DTC Sets

Code B1035 is set.

Conditions for Clearing the DTC

    • Using a Scan Tool .
    • A history DTC will clear when 40 consecutive ignition cycles have occurred without a malfunction.
    • HVAC programmer battery voltage is interrupted.

Test Description

  1. Determines if the programmer is the fault or a poor connection exists.

Step

Action

Value(s)

Yes

No

1

  1. Turn the ignition switch ON.
  2. Connect a Scan Tool and set to HVAC DTC.
  3. Measure the voltage between HVAC control assembly terminal B1 and terminal A8.

Refer to Measuring Voltage in Wiring Systems.

Is the voltage approximately equal to or greater than the specified value?

6.5 V

Go to Step 5

Go to Step 2

2

  1. Turn the ignition switch to the OFF position.
  2. Disconnect the HVAC control assembly connector.
  3. Turn the ignition switch ON.
  4. Measure the voltage at terminal B1 and terminal A8 of the harness connector of the HVAC control assembly.

Refer to Measuring Voltage in Wiring Systems.

Is the voltage approximately equal to or greater than the specified value?

8 V

Go to Step 3

Go to Step 4

3

Replace the HVAC control assembly. Refer to Control Assembly Replacement .

Is the repair complete?

--

System OK

--

4

Inspect circuit 1880 (LT BLU) for an open or short.

Was an open or short found and repaired?

--

System OK

Go to Step 7

5

Backprobe terminal B2 and terminal A8 of the HVAC control assembly harness connector.

Refer to Probing Electrical Connectors in Wiring Systems.

Does the voltage approximately equal the specified value?

3.5 V

Go to Step 6

Go to Step 8

6

Inspect for an open in CKT 1881.

Was an open found and the repair completed?

--

System OK

--

7

  1. Inspect the HVAC programmer for proper terminal contact.
  2. If terminal contact is proper, replace the HVAC programmer. Refer to Programmer Replacement .

Is the repair complete?

--

System OK

--

8

  1. Disconnect the HVAC programmer connector.
  2. Measure the voltage from terminal B2 and terminal A8 of the HVAC control assembly harness connector.

Refer to Measuring Voltage in Wiring Systems.

Does the voltage approximately equal the specified value?

3.5 V

Go to Step 10

Go to Step 11

9

  1. Inspect for proper terminal contact.
  2. If terminal contact is proper, replace the HVAC control assembly. Refer to Control Assembly Replacement .

Is the repair complete?

--

System OK

--

10

  1. Inspect the HVAC programmer harness connector for proper terminal contact.
  2. If terminal contact is proper, replace the HVAC programmer. Refer to Programmer Replacement

Is the repair complete?

--

System OK

--

11

Inspect for a short to ground in CKT 1881.

Refer to Testing for Short to Ground in Wiring Systems.

Was A short found and the repair completed?

--

System OK

Go to Step 9