GM Service Manual Online
For 1990-2009 cars only

Object Number: 403742  Size: MF
Handling ESD Sensitive Parts Notice
HVAC Components
Cell 68: Passenger Temperature Control
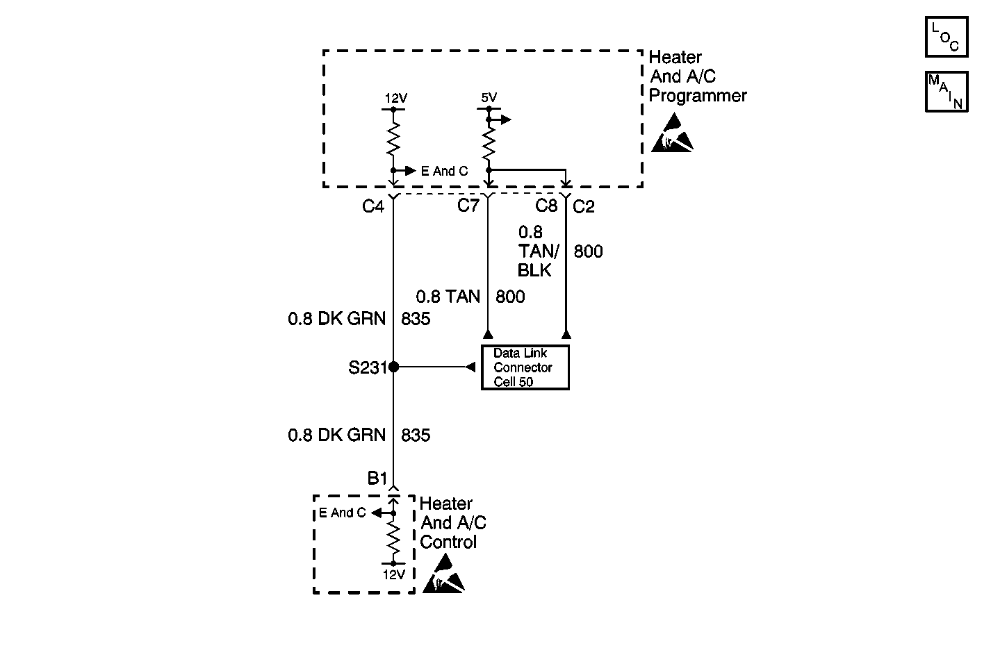
Data Link Connector Schematics
Handling ESD Sensitive Parts Notice

Circuit Description

The HVAC control assembly receives a 12 volt signal through circuit 835 from the HVAC programmer.

Conditions for Running the DTC

    • The ignition is ON.
    • The circuit is open or shorted.

Action Taken When the DTC Sets

    • Code DTC B1035 is set.
    • The HVAC control assembly will not operate.

Conditions for Clearing the DTC

    • Using a Scan Tool .
    • A history DTC will clear when 40 consecutive ignition cycles have occurred without a malfunction.

Step

Action

Value(s)

Yes

No

1

  1. Turn the ignition switch to the RUN position.
  2. Connect a Scan Tool .
  3. Enter the E and C component identification.

Does the Scan Tool display one of the following conditions?

    • E and C bus short to ground
    • E and C bus short to battery

--

Go to Scan Tool Does Not Communicate with E and C Data Line in Data Link Communications.

Go to Step 2

2

Observe the Scan Tool display.

Does the Scan Tool identify any components?

--

Go to Step 3

Go to Scan Tool Does Not Communicate with E and C Data Line In Data Link Communications

3

Observe the Scan Tool display.

Does the Scan Tool identify the HVAC control assembly?

--

Go to Step 5

Go to Step 4

4

  1. Turn the ignition switch to the OFF position.
  2. Disconnect the HVAC control assembly.
  3. Inspect terminal B1 of the harness connector for proper terminal contact.

Does proper terminal contact exist?

 

Go to Step 6

Go to Step 7

5

  1. Turn the ignition switch to the OFF position.
  2. Disconnect the HVAC programmer.
  3. Disconnect HVAC control assembly.
  4. Test the continuity between terminal C4 of the HVAC programmer and terminal B1 of the HVAC control assembly. Refer to Testing for Continuity in Wiring Systems.

Is continuity present?

--

Go to Step 10

Go to Step 11

6

  1. Use the J-38125 in order to remove terminal B1 from the harness connector.
  2. Reconnect the climate control/DIC.
  3. Turn the ignition switch to the RUN position.
  4. Measure the voltage between terminal 4 of the DLC and cavity B1.

Refer to Measuring Voltage in Wiring Systems.

Is battery voltage present?

--

Go to Step 9

Go to Step 8

7

Repair the faulty terminal contact.

Refer to Repairing Connector Terminals in Wiring Systems.

Is the repair complete?

--

System OK

--

8

Replace the HVAC control assembly. Refer to Control Assembly Replacement .

Is the repair complete?

--

System OK

--

9

Repair the open in CKT 835.

Refer to Wiring Repairs in Wiring Systems.

Is the repair complete?

--

System OK

--

10

Inspect terminal C4 of the programmer harness connector and terminal B1 of the HVAC control assembly for proper terminal contact.

Does proper terminal contact exist?

--

Go to Step 12

Go to Step 13

11

Repair the open in CKT 835.

Refer to Wiring Repairs in Wiring Systems.

Is the repair complete?

--

System OK

--

12

Replace the HVAC programmer. Refer to Programmer Replacement .

Is the repair complete?

--

System OK

--

13

Repair the faulty terminal contact.

Refer to Repairing Connector Terminals in Wiring Systems.

Is the repair complete?

--

System OK

--