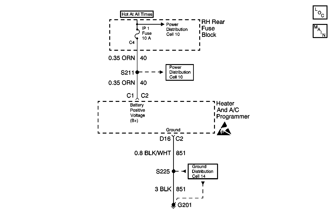
The HVAC programmer receives battery voltage through circuit 40 from the I/P fuse block , fuse 1.
| • | The ignition is ON. |
| • | The circuit is open or shorted. |
| • | Code B1052 is set. |
| • | The HVAC programmer will not operate. |
| • | Using a Scan Tool . |
| • | A history DTC will clear when 40 consecutive ignition cycles have occurred without a malfunction. |
Step | Action | Value(s) | Yes | No |
|---|---|---|---|---|
1 | Was the battery disconnected or recently discharged? | -- | Go to Step 3 | Go to Step 2 |
2 | Use the Scan Tool to clear DTC B1052. Does DTC B1052 reset when cleared using the scan tool ? | -- | Go to Step 4 | System OK |
3 | Use the Scan Tool to clear DTC B1052. Is the procedure complete? | -- | System OK | -- |
4 | Inspect the right rear fuse block IP 1 fuse and the IP fuse block HVAC CONT fuse. Are the fuses in proper condition? | -- | Go to Step 5 | Go to Step 6 |
5 |
Refer to Measuring Voltage in Wiring Systems. Is battery voltage present? | -- | Go to Step 7 | Go to Step 9 |
6 | Inspect CKT 40 for one of the following conditions.
Refer to Testing for Short to Ground or Testing for Continuity in Wiring Systems. Was a problem found? | -- | Go to Step 9 | Go to Step 11 |
7 |
Refer to Measuring Voltage in Wiring Systems. Is battery voltage present? | -- | Go to Step 8 | Go to Step 10 |
8 |
Is the repair complete? | -- | System OK | -- |
9 | Repair CKT 40. Refer to Wiring Repairs in Wiring Systems. Is the repair complete? | -- | System OK | -- |
10 | Repair the open in CKT 41. Refer to Wiring Repairs in Wiring Systems. Is the repair complete? | -- | System OK | -- |
11 | Repair the open in CKT 851. Refer to Wiring Repairs in Wiring Systems. Is the repair complete? | -- | System OK | -- |