GM Service Manual Online
For 1990-2009 cars only
Makes
🢒
Oldsmobile
🢒
2001
🢒
Aurora
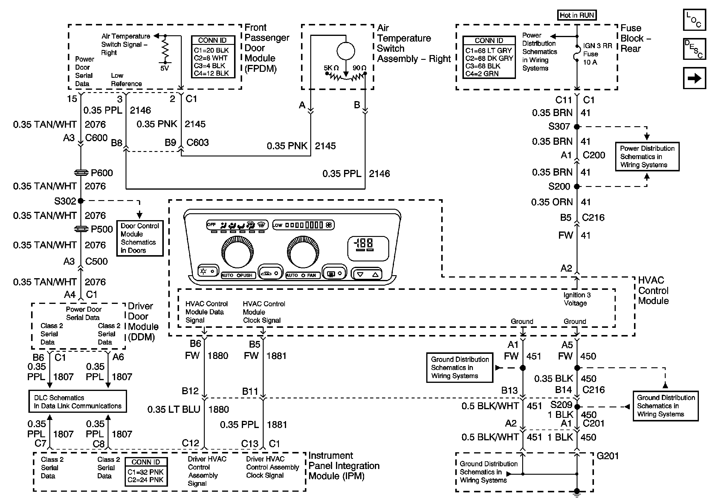
🢒 Heater AC Control
Heater AC Control
Heater AC Control
Master Electrical Component List
Air Delivery Description and Operation
Blower Control
IGN 3 RR, ABS, HVAC Fuses (Fuse Block-Rear)
Battery Feed to the Fuse Block-Rear
Serial Data Class 2
G201 (1 of 2)
G201 (1 of 2)
Engine Oil and Oil Filter Replacement
G201 (1 of 2)