GM Service Manual Online
For 1990-2009 cars only
Makes
🢒
Oldsmobile
🢒
2002
🢒
Aurora
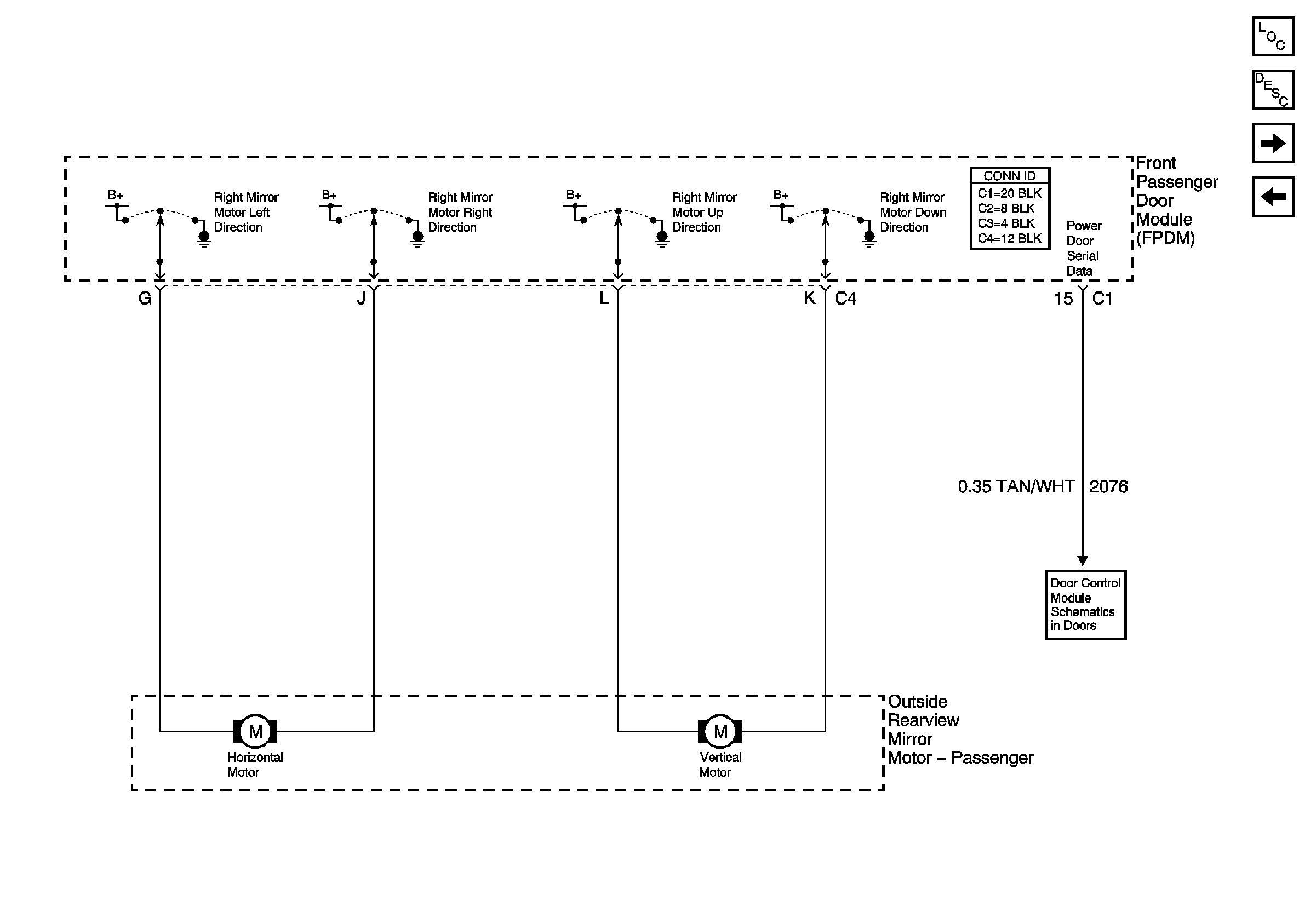
🢒 Front Passenger Outside Rearview Mirror
Front Passenger Outside Rearview Mirror
Front Passenger Outside Rearview Mirror
Outside Mirror Description and Operation
Driver Outside Rearview Mirror (W/A45)
Driver Outside Rearview Mirror
Power Door Serial Data
Master Electrical Component List