GM Service Manual Online
For 1990-2009 cars only
Makes
🢒
Oldsmobile
🢒
2002
🢒
Aurora
🢒 Controlled/Monitored Subsystem References
Controlled/Monitored Subsystem References
Controlled/Monitored Subsystem References
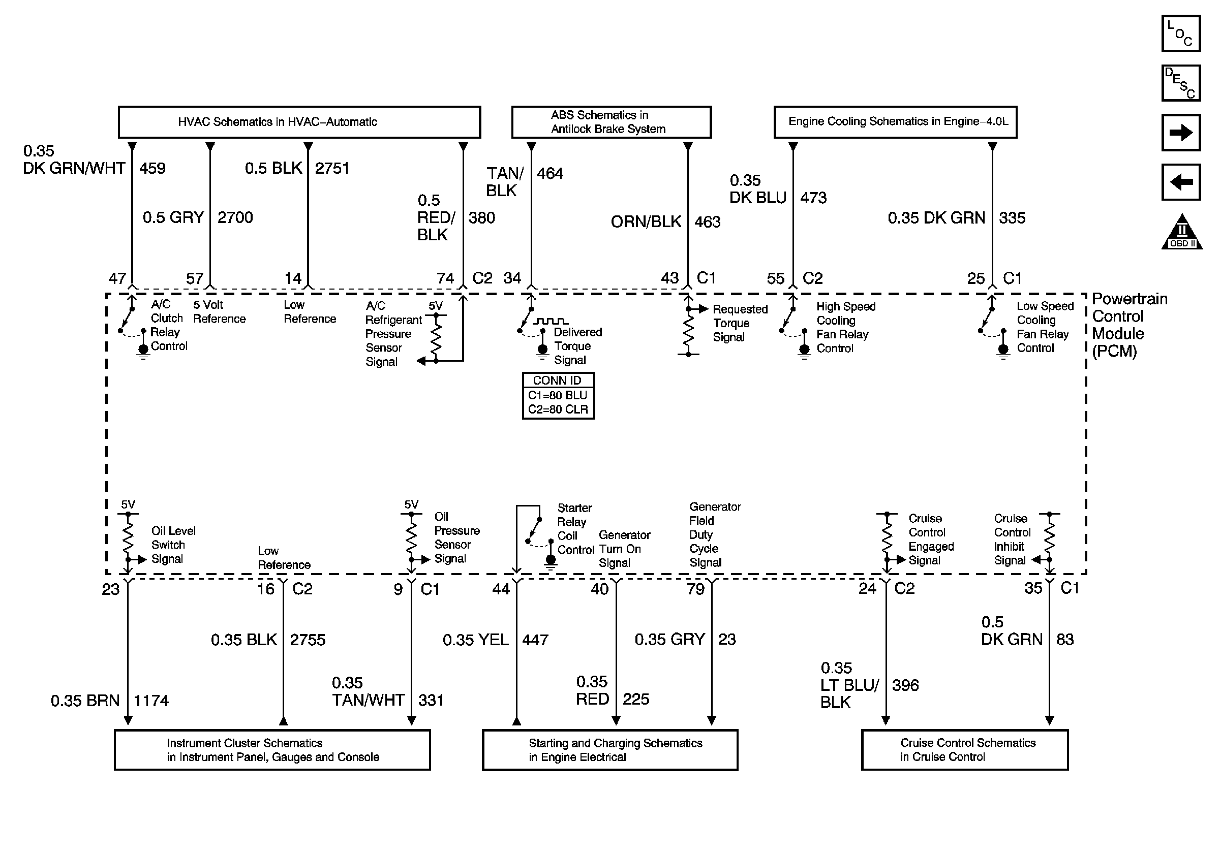
Master Electrical Component List
Powertrain Control Module Description
Transmission Controls - A/T
Device Controls (Dual Secondary Air Injection)
OBD II Symbol Description Notice
Cooling Fans and Relays
Compressor Control W/L47 (V8)
Indicators
Starter Solenoid Controls
CCM, PCM Controls and Vehicle Speed Input