GM Service Manual Online
For 1990-2009 cars only
Makes
🢒
Oldsmobile
🢒
2002
🢒
Aurora
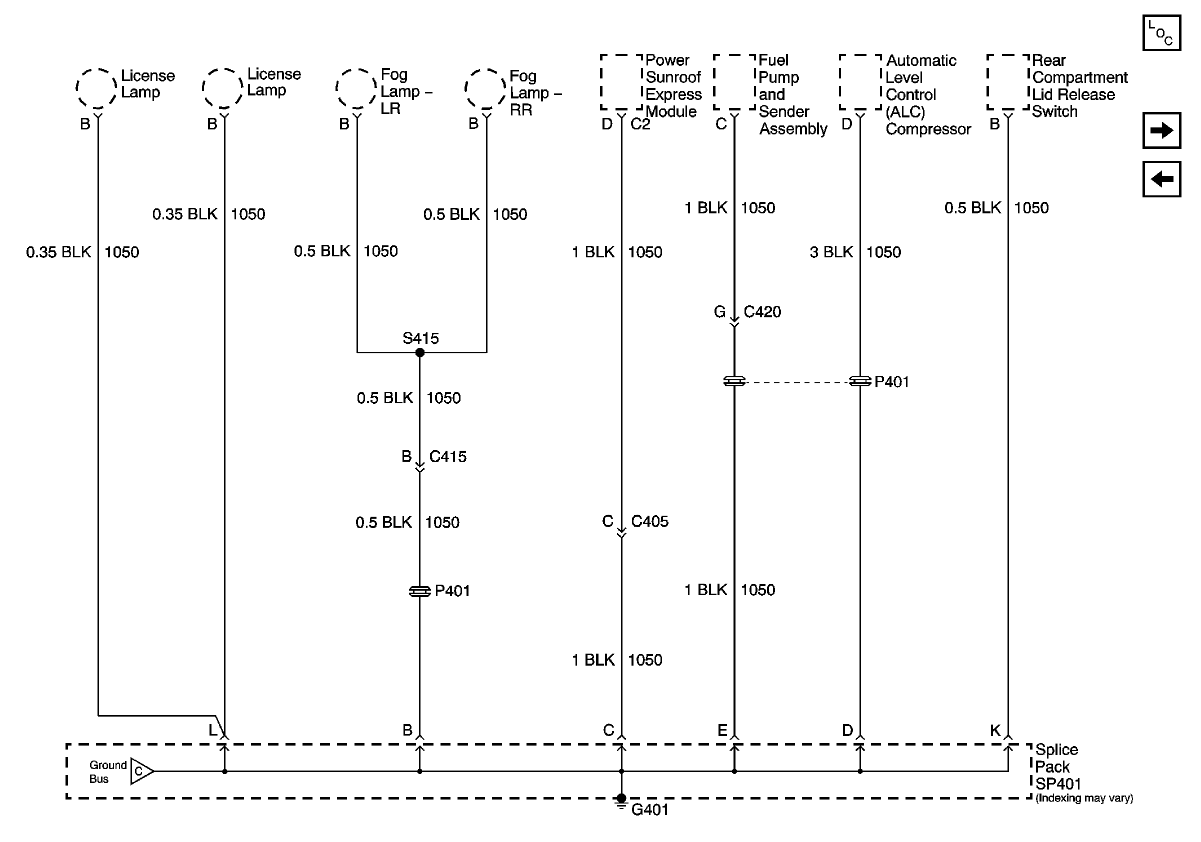
🢒 G401 (1 of 2)
G401 (1 of 2)
G401 (1 of 2)
Master Electrical Component List
G401 (2 of 2)
G303, G305, G310 and G404
G401 (2 of 2)