GM Service Manual Online
For 1990-2009 cars only
Makes
🢒
Oldsmobile
🢒
2002
🢒
Aurora
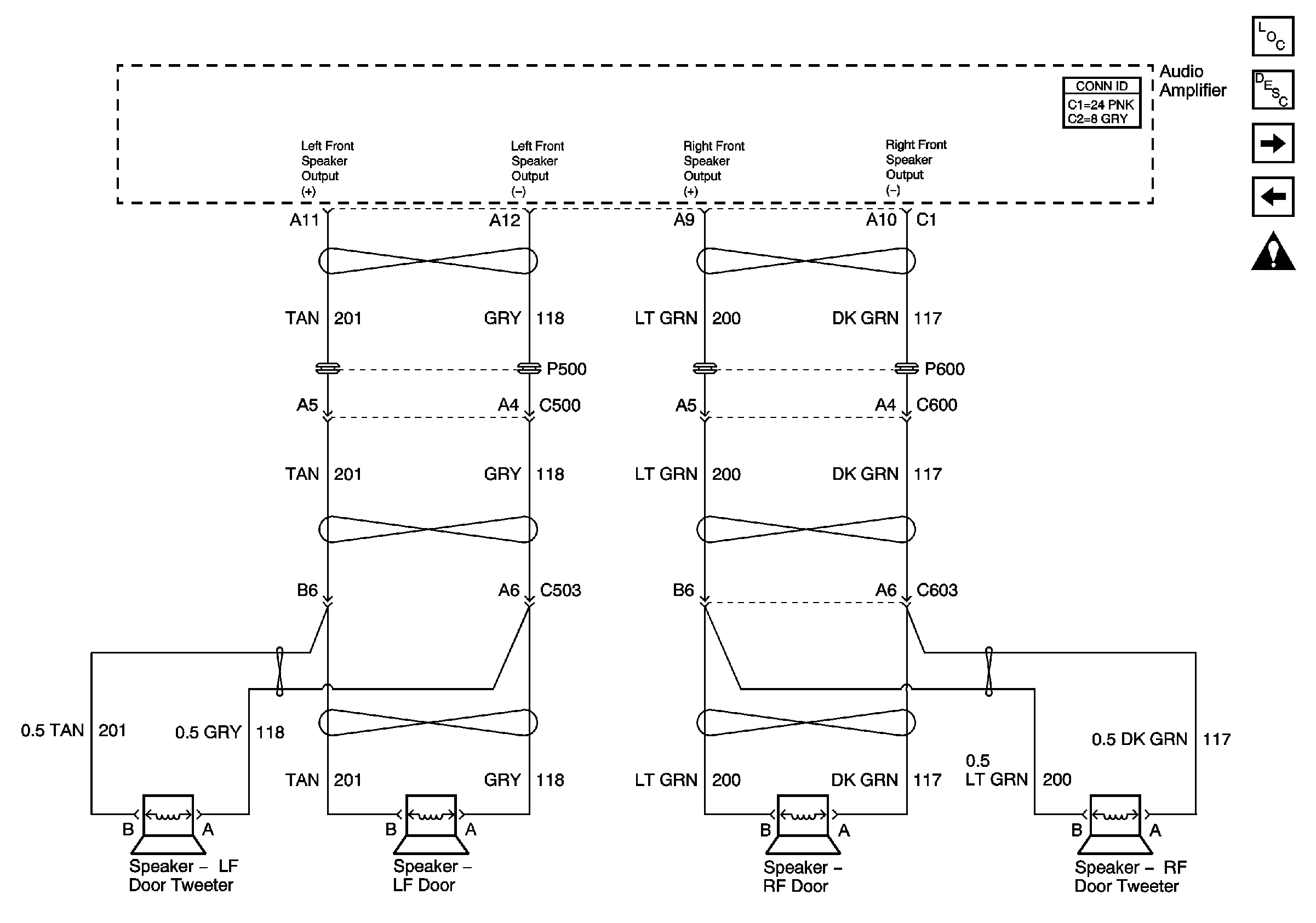
🢒 Front Speakers (U80)
Front Speakers (U80)
Front Speakers (U80)
Master Electrical Component List
Radio/Audio System Description and Operation
Rear Speakers (U80)
Radio Output (U80)