GM Service Manual Online
For 1990-2009 cars only
Makes
🢒
Oldsmobile
🢒
2002
🢒
Aurora
🢒 Audible Warnings
Audible Warnings
Master Electrical Component List
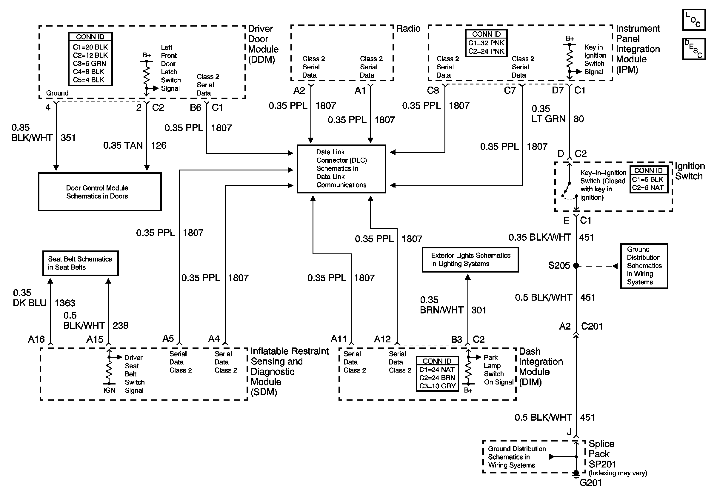
Driver Door Module (DDM) Inputs/Outputs
Serial Data Class 2
G201 (2 of 2)
G201 (2 of 2)