GM Service Manual Online
For 1990-2009 cars only
Makes
🢒
Oldsmobile
🢒
2002
🢒
Aurora
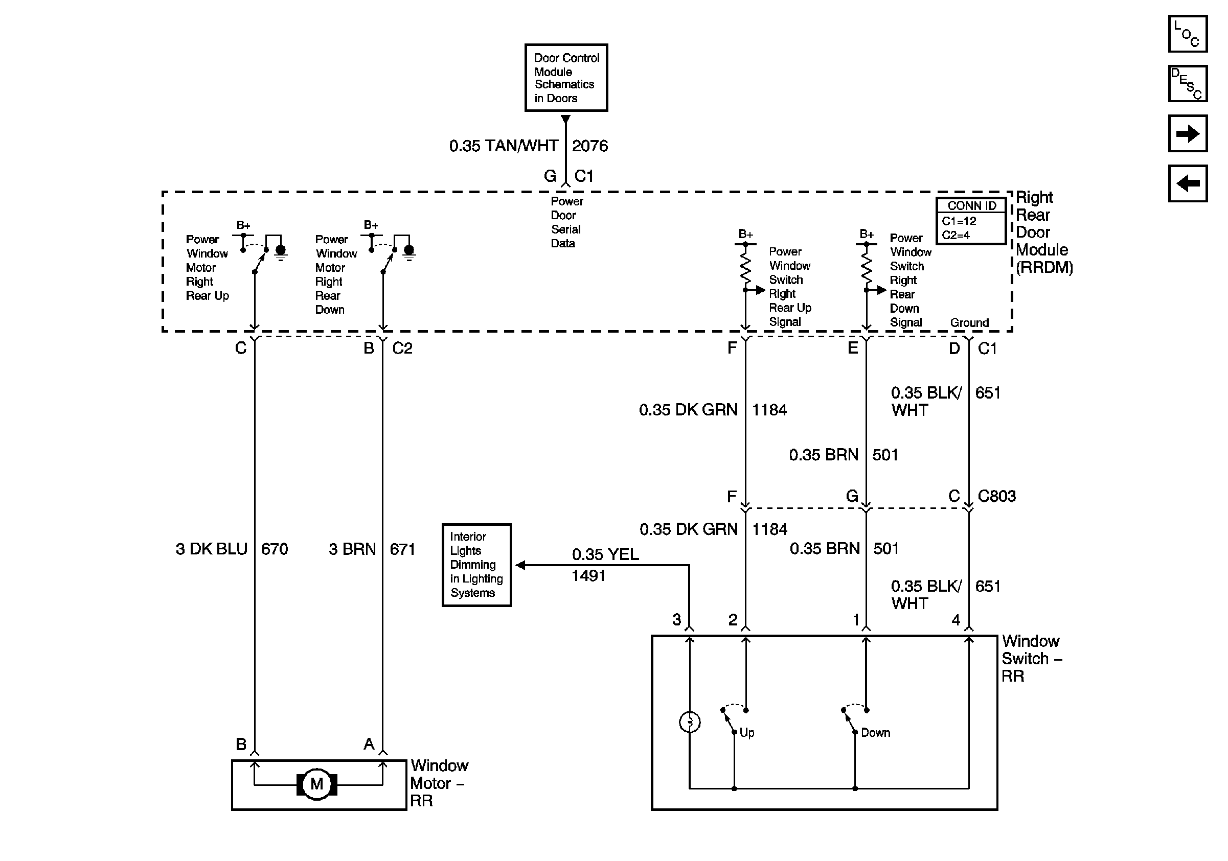
🢒 Right Rear Window Switch and Window Motor
Right Rear Window Switch and Window Motor
Right Rear Window Switch and Window Motor
Master Electrical Component List
Power Windows Description and Operation
Left Rear Window Switch and Window Motor
Driver Door Switch Assembly
Power Door Serial Data
Rear Door Dimming