GM Service Manual Online
For 1990-2009 cars only
Makes
🢒
Oldsmobile
🢒
2002
🢒
Aurora
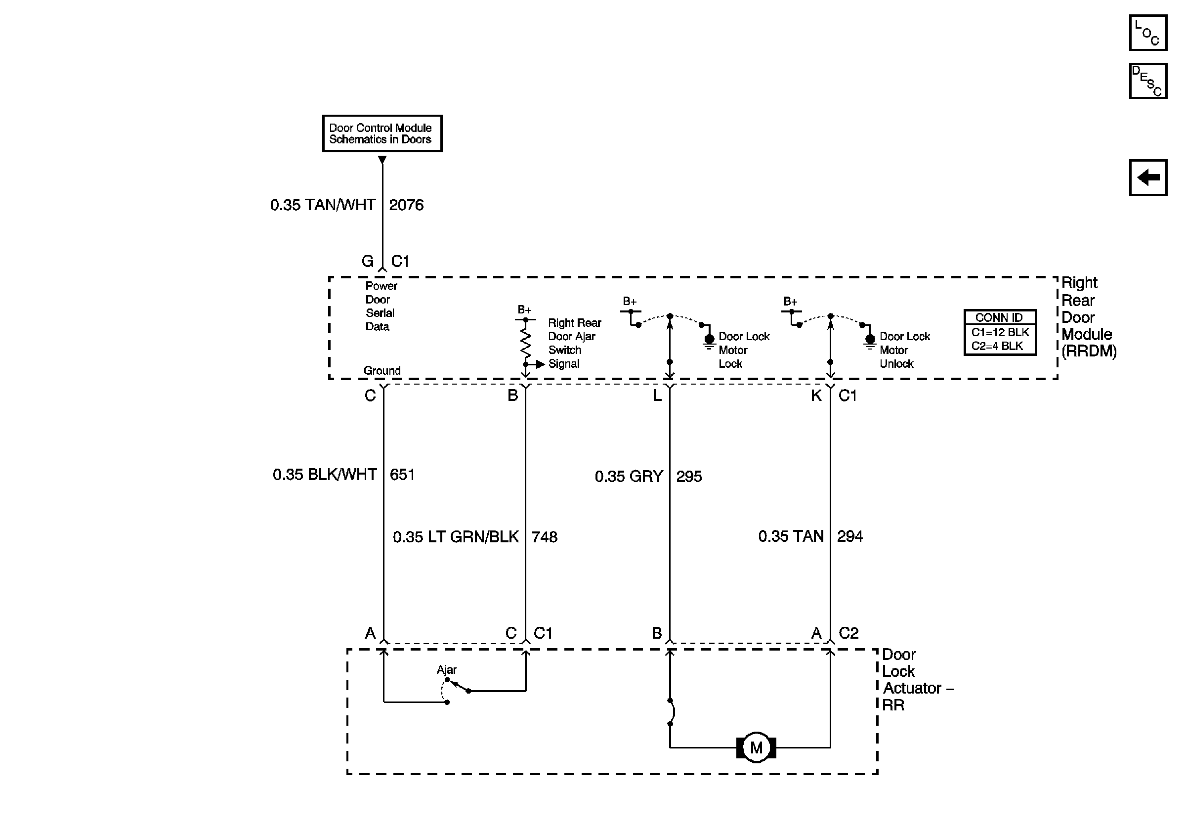
🢒 Right Rear Door Lock Actuator
Right Rear Door Lock Actuator
Right Rear Door Lock Actuator
Master Electrical Component List
Door Ajar Indicator Description and Operation
Rear Door Lock Actuator
Power Door Serial Data