GM Service Manual Online
For 1990-2009 cars only

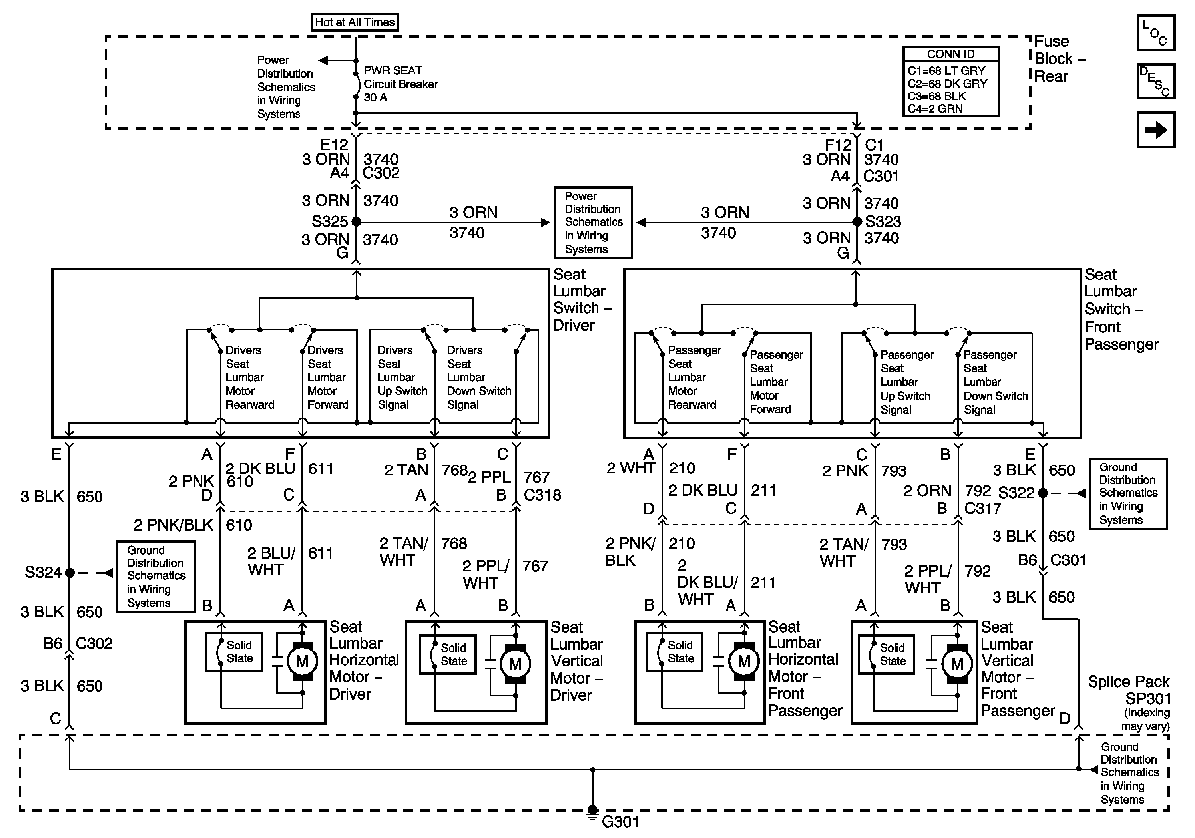
Lumbar Support (w/o A45)

Lumbar Support (w/o A45)


Object Number: 524697  Size: FS
Master Electrical Component List
Lumbar Support Description and Operation w/o A45
Driver Seat Lumbar (w/ A45)
PWR WDO and PWR SEAT Circuit Breakers (Fuse Block-Rear)
G301 (2 of 2)
G301 (2 of 2)
G301 (2 of 2)
Battery Feed to the Fuse Block-Rear