GM Service Manual Online
For 1990-2009 cars only
Makes
🢒
Oldsmobile
🢒
2002
🢒
Aurora
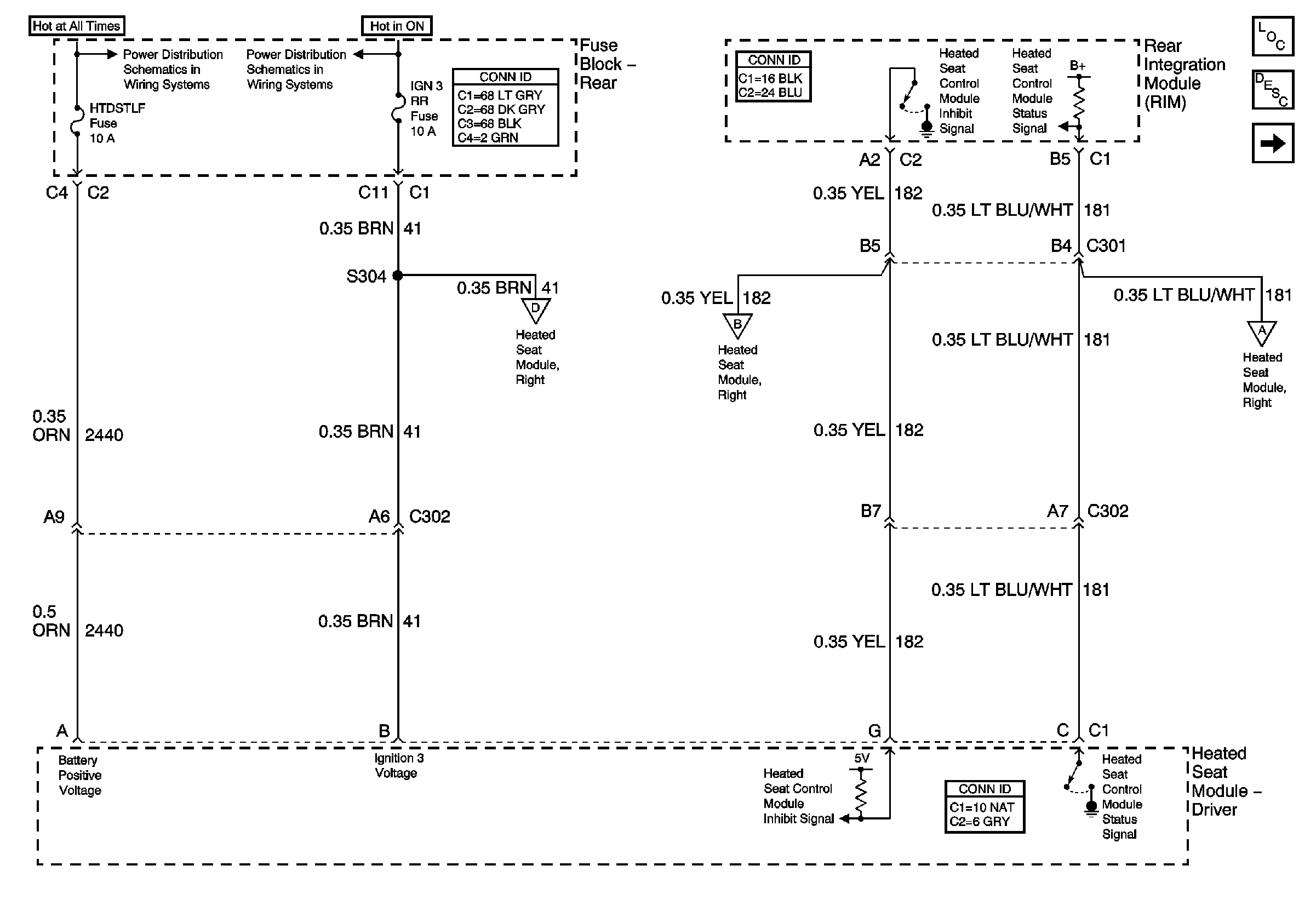
🢒 Front Heated Seats (Partial)
Front Heated Seats (Partial)
Front Heated Seats (Partial)
Master Electrical Component List
Heated Seats Description and Operation
LH Heated Seat Switch
Battery Feed to the Fuse Block-Rear
Battery Feed to the Fuse Block-Rear