GM Service Manual Online
For 1990-2009 cars only

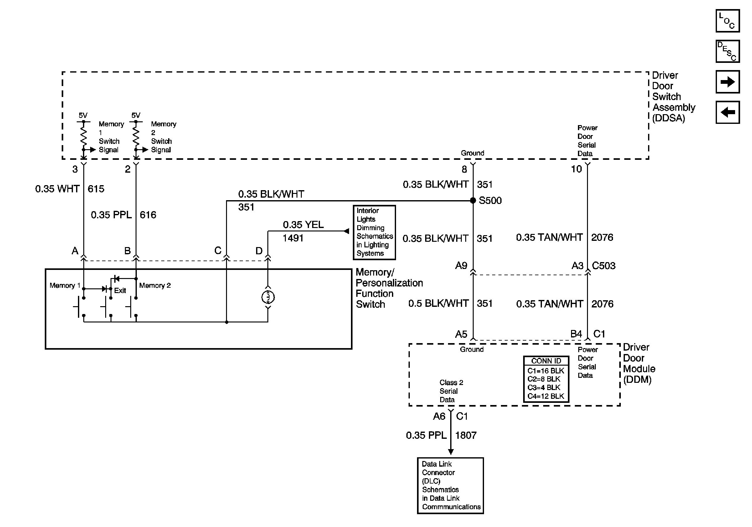
Memory Function Switch

Memory Function Switch


Object Number: 765568  Size: FS
Master Electrical Component List
Memory Seats Description and Operation
Power, Ground, Driver Seat Adjuster Switch and MSM
Serial Data Class 2
Front Door Dimming