GM Service Manual Online
For 1990-2009 cars only

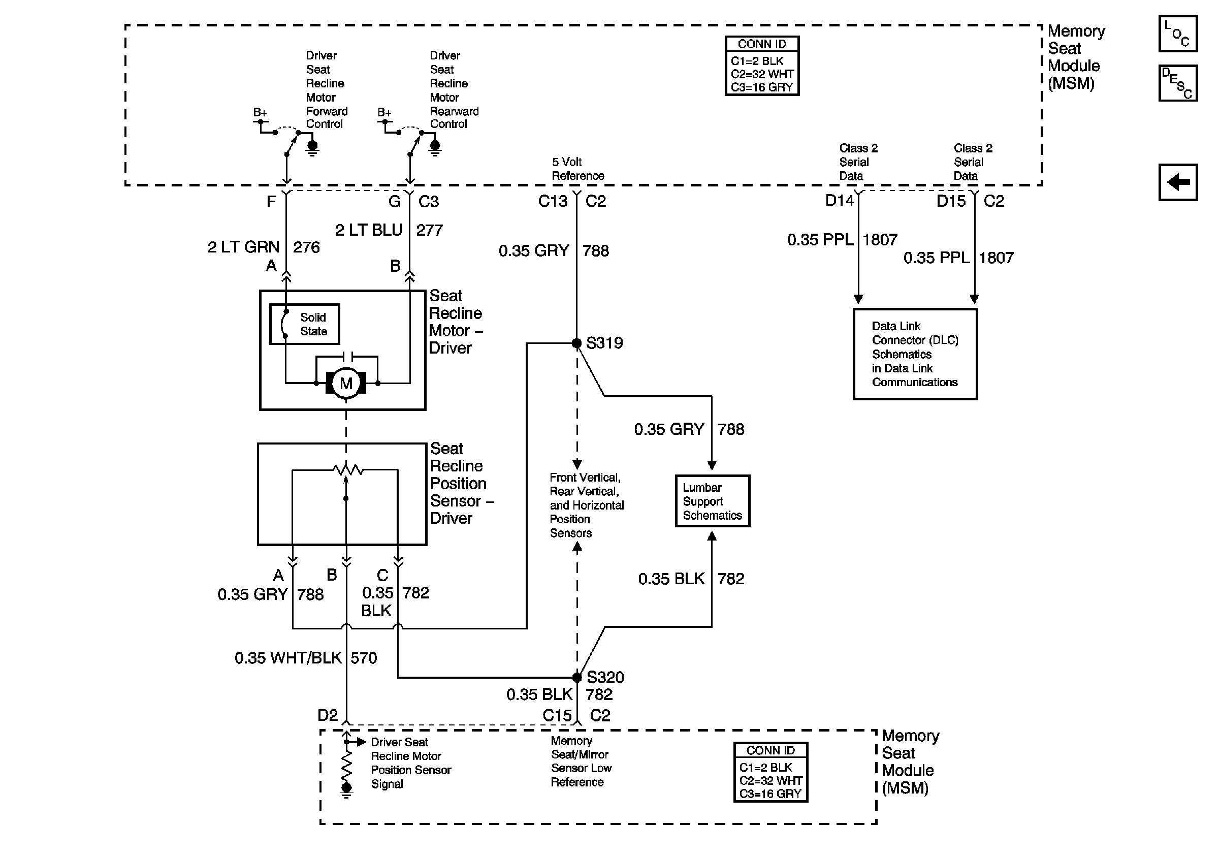
Driver Seat Recline Motor and Sensor

Driver Seat Recline Motor and Sensor


Object Number: 814213  Size: FS
Master Electrical Component List
Memory Seats Description and Operation
Driver Seat Vertical and Horizontal Motors and Sensors
Serial Data Class 2
Driver Seat Lumbar (w/ A45)