GM Service Manual Online
For 1990-2009 cars only
Figure 1:

Engine Covers and Component Assemblies (1 of 2)


Object Number: 880539  Size: LF
(1)Fuel Injector Sight Shield
(2)Intake Manifold Assembly
(3)Engine Lift Bracket
(4)EGR Valve Inlet Pipe
(5)Water Crossover Gasket
(6)Water Crossover Assembly
(7)Water Pump Drive Belt Shield Bolt
(8)Water Pump Drive Belt Shield
(9)Water Pump Drive Belt Shield Nut
(10)Water Crossover Assembly Bolt
(11)Water Pump Drive Belt Tensioner
(12)Water Pump Drive Belt Tensioner Bolt
(13)Water Pump Drive Pulley
(14)Water Pump Drive Pulley Cap
(15)Water Pump Drive Belt
(16)Camshaft Seal Bolt
(17)Camshaft Seal
(18)Left Camshaft Cover Assembly
(19)Oil Pan Gasket
(20)Oil Pan
(21)Oil Level Sensor
(22)Oil Pan Bolt
(23)Oil Pan Drain Plug
(24)Oil Pan Assembly Bolt
(25)Drive Belt Tensioner
(26)Drive Belt Tensioner Bolt
(27)Engine Front Cover Bolt
(28)Crankshaft Balancer Bolt
(29)Crankshaft Balancer
(30)Engine Front Cover
(31)Engine Front Cover Gasket
(32)Oil Pump Assembly
(33)Engine Block Assembly
(34)Right Camshaft Cover Assembly
(35)Crankcase Ventilation Tube
(36)Intake Manifold Bolt
(37)Fuel Injector Sight Shield Nut
Figure 2:

Engine Covers and Component Assemblies (2 of 2)


Object Number: 880542  Size: LF
(1)Right A.I.R. Control Valve Bolt
(2)Right A.I.R. Control Valve
(3)Right A.I.R. Control Valve Pipe Bolt
(4)Right A.I.R. Control Valve Pipe Gasket
(5)Starter Motor Wiring Harness
(6)Starter Motor Bolt
(7)Starter Motor
(8)Knock Sensor Wiring Harness
(9)Engine Block Assembly
(10)Transaxle Alignment Pin
(11)Oil Level Indicator Tube Nut
(12)Oil Level Indicator and Tube
(13)Left A.I.R. Control Valve Bolt
(14)Left A.I.R. Control Valve
(15)Left A.I.R. Control Valve Pipe Bolt
(16)Left A.I.R. Control Valve Pipe Gasket
(17)Left Exhaust Manifold Bolt
(18)Left Exhaust Manifold
(19)Exhaust Crossover Pipe
(20)Exhaust Crossover Pipe Bolt - to Oil Pan
(21)Left Exhaust Manifold Gasket
(22)Exhaust Crossover Pipe Bolt
(23)Oil Filter
(24)Oil Filter Adapter Assembly Bolt
(25)Oil Filter Adapter Assembly
(26)Oil Filter Adapter Assembly Gasket
(27)Oil Pump Suction Tube Nut
(28)Oil Pump Suction Tube Bolt
(29)Oil Pump Suction Tube
(30)Right Exhaust Manifold
(31)Right Exhaust Manifold Nut
(32)Right Exhaust Manifold Gasket
Figure 3:

Camshaft Cover Assembly


Object Number: 784983  Size: MF
(1)Oil Fill Cap
(2)Spark Plug Boot
(3)PCV Fitting
(4)Ignition Coil Assembly Bolt
(5)Ignition Module Screw
(6)Ignition Module
(7)Ignition Coil Assembly
(8)Ignition Module Ground/RFI Spring
(9)Spark Plug
(10)Camshaft Cover Bolt
(11)Grommet
(12)Left Camshaft Cover
(13)Ignition Module Ground/RFI Spring Port Seal
(14)Left Camshaft Cover Gasket
(15)Spark Plug Port Seal
(16)Right Camshaft Cover Gasket
(17)Right Camshaft Cover
(18)Ignition Module Screw
(19)Ignition Coil Assembly
(20)Ignition Module
(21)Sight Shield Bracket
(22)Sight Shield Bracket Bolt
Figure 4:

Camshaft Timing Components


Object Number: 637065  Size: LF
(1)Right Secondary Camshaft Drive Chain Guide
(2)Left Secondary Camshaft Drive Chain Tensioner Bolt
(3)Left Secondary Camshaft Drive Chain Tensioner
(4)Left Secondary Camshaft Drive Chain Shoe Bolt
(5)Left Secondary Camshaft Drive Chain Shoe
(6)Left Secondary Camshaft Drive Chain
(7)Left Intake Camshaft Sprocket
(8)Left Exhaust Camshaft Sprocket
(9)Left Secondary Camshaft Drive Chain Guide
(10)Left Secondary Camshaft Drive Chain Guide Bolt
(11)Camshaft Intermediate Drive Shaft
(12)Camshaft Intermediate Drive Shaft Bolt
(13)Camshaft Intermediate Drive Shaft Sprocket
(14)Camshaft Intermediate Drive Shaft Sprocket Bolt
(15)Crankshaft Sprocket
(16)Primary Camshaft Drive Chain Guide
(17)Primary Camshaft Drive Chain Guide Bolt
(18)Primary Camshaft Drive Chain
(19)Primary Camshaft Drive Chain Tensioner
(20)Primary Camshaft Drive Chain Tensioner Bolt
(21)Right Secondary Camshaft Drive Chain Tensioner Bolt
(22)Right Secondary Camshaft Drive Chain Tensioner
(23)Right Secondary Camshaft Drive Chain Shoe Bolt
(24)Right Secondary Camshaft Drive Chain Shoe
(25)Camshaft Sprocket Bolt
(26)Right Exhaust Camshaft Sprocket
(27)Right Intake Camshaft Sprocket
(28)Secondary Camshaft Drive Chain
(29)Right Secondary Camshaft Drive Chain Guide Bolt
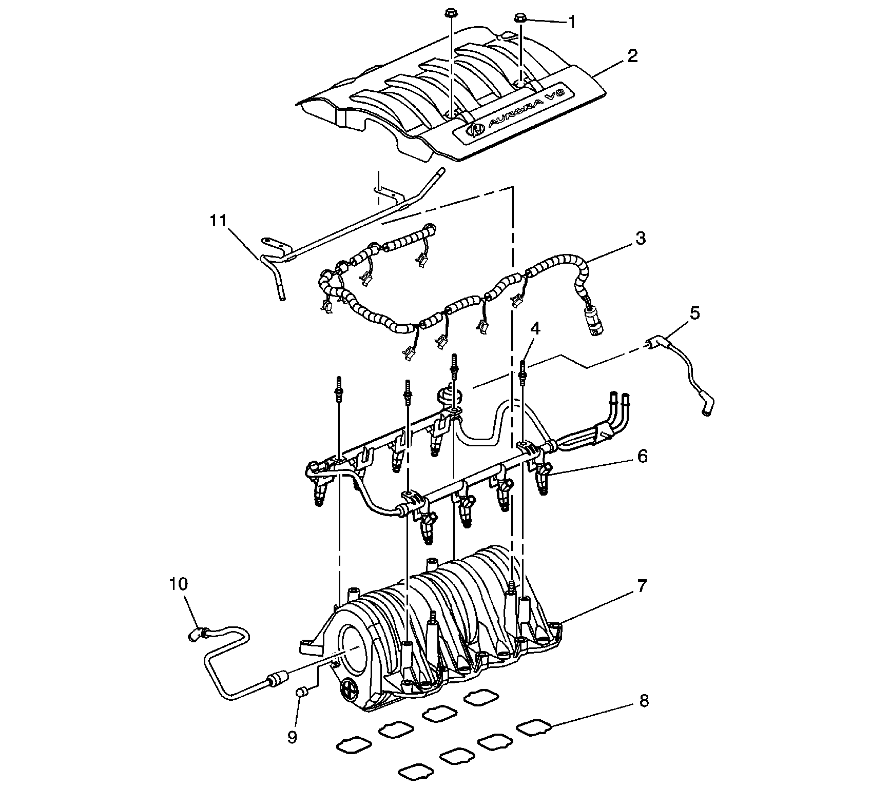
Figure 5:

Intake Manifold


Object Number: 880545  Size: LF
(1)Fuel Injector Sight Shield Nut
(2)Fuel Injector Sight Shield
(3)Fuel Injector Wiring Harness
(4)Fuel Injector Rail Bolts
(5)Fuel Pressure Regulator Vacuum Hose
(6)Fuel Injector Rail
(7)Intake Manifold
(8)Intake Manifold Seal
(9)Vacuum Cap
(10)PCV Air Tube
(11)Generator Coolant Pipe
Figure 6:

Cylinder Head Assemblies


Object Number: 880547  Size: MF
(1)Camshaft Position Sensor Bolt
(2)Camshaft Position Sensor
(3)Camshaft Position Sensor O-Ring
(4)Right Secondary Camshaft Drive Chain Guide Bolt Access Plug
(5)Right Secondary Camshaft Drive Chain Shoe Bolt Access Plug
(6)Right Exhaust Camshaft
(7)Right Intake Camshaft
(8)ECT Sensor
(9)Right Cylinder Head
(10)Cylinder Head Bolt -M6
(11)SHLA - Stationary Hydraulic Lifter Adjuster
(12)Valve Stem Oil Seal
(13)Valve Spring
(14)Valve Spring Retainer
(15)Valve Lock Keepers
(16)Follower - Rocker Arm
(17)Left Intake Camshaft
(18)Camshaft Thrust Bearing Cap
(19)Camshaft Thrust Bearing Cap Bolt
(20)Camshaft Bearing Cap
(21)Camshaft Bearing Cap Bolt
(22)Left Exhaust Camshaft
(23)Exhaust Camshaft Thrust Bearing Cap Bolt
(24)Exhaust Camshaft Thrust Bearing Cap
(25)Cylinder Head Bolt - M11
(26)Oil Gallery Plug
(27)Left Cylinder Head
(28)Oil Gallery Plug
(29)Intake Valve
(30)Left Secondary Camshaft Drive Chain Guide Bolt Access Plug
(31)Left Secondary Camshaft Drive Chain Shoe Bolt Access Plug
Figure 7:

Water Crossover and Throttle Body Assembly


Object Number: 637055  Size: MF
(1)Engine Coolant Fitting
(2)Engine Lift Bracket
(3)Engine Lift Bracket Bolt
(4)Map Sensor
(5)EGR Valve Gasket
(6)EGR Valve
(7)EGR Valve Bolt
(8)EGR Valve Heat Shield
(9)EGR Valve Heat Shield Nut
(10)Plenum Duct and Clamp
(11)EVAP Purge Solenoid
(12)EVAP Purge Solenoid Bolt
(13)EGR Valve Inlet Pipe Bolt
(14)EGR Valve Inlet Pipe
(15)Heater inlet Pipe Fitting
(16)Water Crossover
(17)Throttle Body Bolt
(18)Throttle Body
(19)Accelerator Bracket Bolt
(20)Accelerator Bracket
(21)Thermostat
(22)Thermostat Housing
(23)Thermostat Housing Bolt
(24)Water Pump Cover Bolt
(25)Water Pump Cover
(26)Water Pump Cover Seal
(27)Water Pump
(28)Water Pump Seal
Figure 8:

Oil Pump


Object Number: 637054  Size: MF
(1)Oil Pump Housing
(2)Oil Pump Plunger
(3)Oil Pump Spring
(4)Oil Pump Pressure Relief Valve Cap O-ring
(5)Oil Pump Pressure Relief Valve Cap
(6)Oil Pump Alignment Pin
(7)Oil Pump Pressure Relief Valve Cap Retaining Pin
(8)Oil Pump Driven Rotor
(9)Oil Pump Drive Rotor
(10)Oil Pump Cover
(11)Oil Pump Drive Spacer
(12)Oil Pump Cover Bolts
Figure 9:

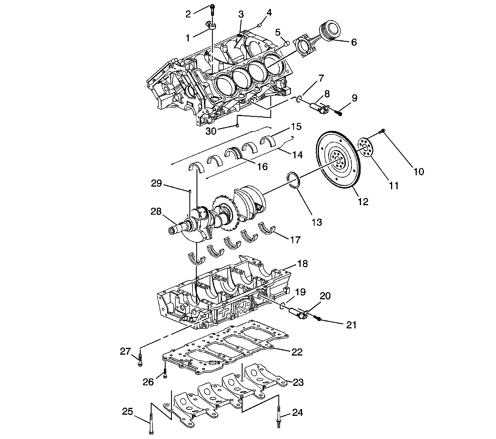
Engine Block Assembly


Object Number: 880548  Size: LF
(1)Crankshaft Position Sensor
(2)Crankshaft Position Sensor Bolt
(3)Engine Block
(4)Engine Block Dowel Pins
(5)Cylinder Head Dowel Pins
(6)Piston, Rings and Connecting Rod Assembly
(7)Upper Knock Sensor O-ring
(8)Upper Knock Sensor
(9)Upper Knock Sensor Bolt
(10)Engine Flywheel Bolt
(11)Engine Flywheel Retainer
(12)Engine Flywheel
(13)Crankshaft Rear Oil Seal
(14)Lower Crankcase-to-Engine Block Seal
(15)Crankshaft Upper Bearings
(16)Crankshaft Upper Thrust Bearing
(17)Crankshaft Lower Bearings
(18)Lower Crankcase
(19)Lower Knock Sensor O-ring
(20)Lower Knock Sensor
(21)Lower Knock Sensor Bolt
(22)Engine Oil Manifold
(23)Engine Oil Pan Baffle
(24)Lower Crankcase Stud - Oil Pump Suction Pipe
(25)Lower Crankcase Bolt
(26)Engine Oil Manifold Bolt
(27)Lower Crankcase Perimeter Bolt
(28)Crankshaft
(29)Crankshaft Pin
(30)Lower Crankcase-to-Engine Block Pin
Figure 10:

Piston, Rings, Bearing and Connecting Rod Assembly


Object Number: 880551  Size: LF
(1)Piston Pin Retainer
(1)Piston Pin Retainer
(2)Piston Pin
(3)Upper Compression Ring
(4)Lower Compression Ring
(5)Upper Oil Control Ring
(6)Oil Control Ring Expander
(7)Lower Oil Control Ring
(8)Piston
(9)Connecting Rod Piston Pin Bushing
(10)Connecting Rod
(11)Upper Connecting Rod Bearing
(12)Lower Connecting Rod Bearing
(13)Connecting Rod Cap
(14)Connecting Rod Bolt
Figure 11:

Oil Filter Adapter


Object Number: 880560  Size: SH
(1)Oil Filter Adapter Gasket
(2)Oil Filter Adapter
(3)Oil Pressure Switch
(4)Bypass Hole Plug
(5)Oil Filter Fitting