GM Service Manual Online
For 1990-2009 cars only

Object Number: 1042099  Size: LF
Master Electrical Component List
Automatic Transmission Controls Schematics
OBD II Symbol Description Notice

Circuit Description

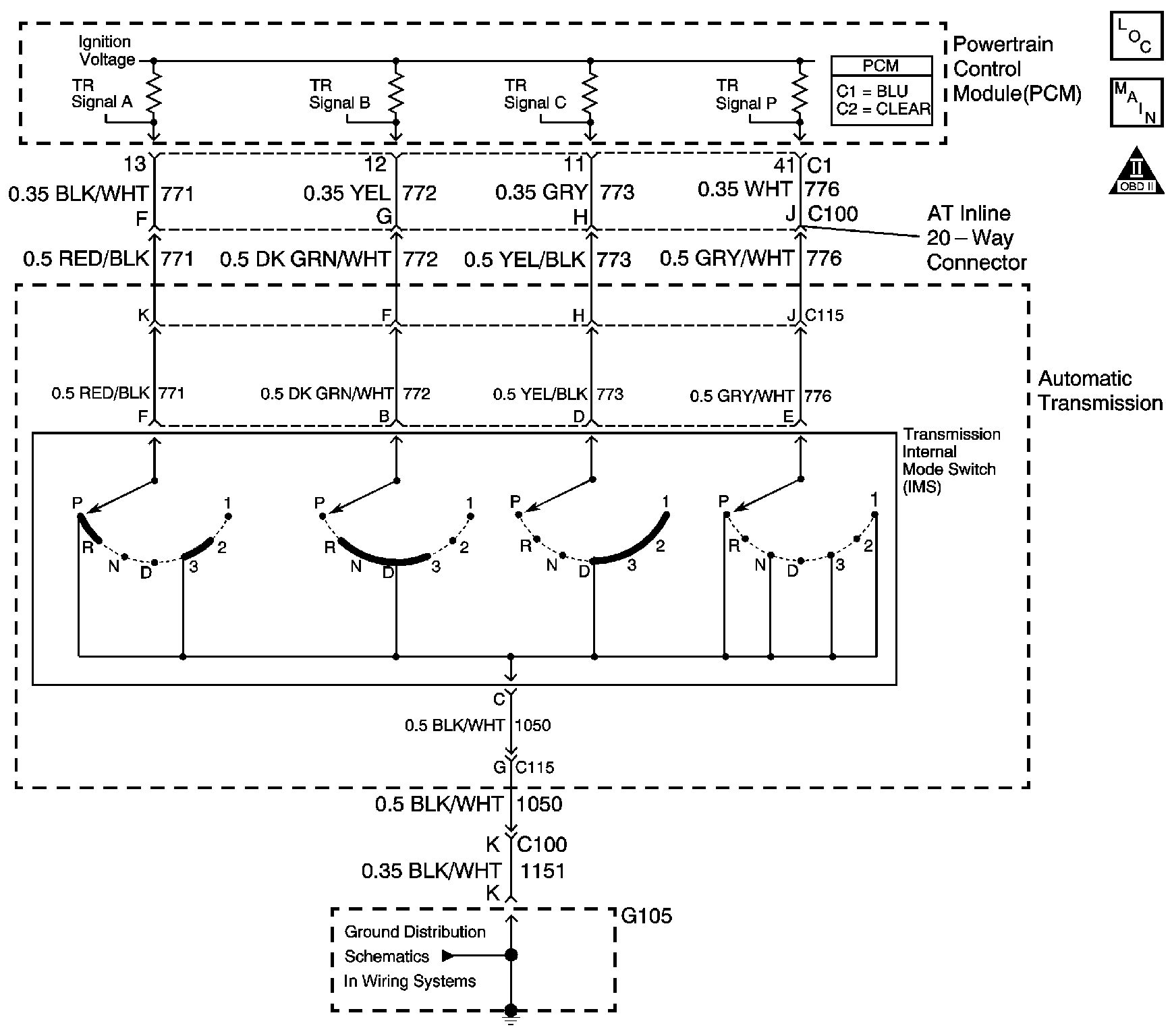
The transmission internal mode switch (IMS) is a sliding contact switch attached to the lower control valve body, within the transmission. The manual valve link assembly then connects the IMS to the manual valve. The four inputs to the PCM from the IMS indicate which position is selected by the transmission selector lever. This information is used for engine controls as well as determining the transmission shift patterns. The input voltage level at the PCM is high, ignition voltage, when the IMS is open and low when the switch is closed to ground. The state of each input is available for display on the scan tool. The four input parameters represented are Signal A, Signal B, Signal C and Signal P, Parity.

If the PCM detects a combination of IMS inputs that are invalid, then DTC P1825 sets. DTC P1825 is a type B DTC.

Conditions for Running the DTC

The engine run time is greater than 5 seconds.

Conditions for Setting the DTC

The PCM detects an invalid IMS range for 5 seconds.

Action Taken When the DTC Sets

    • The PCM illuminates the malfunction indicator lamp (MIL) during the second consecutive trip in which the Conditions for Setting the DTC are met.
    • The PCM commands maximum line pressure.
    • The PCM assumes a D4 shift pattern.
    • The PCM freezes transmission adaptive functions.
    • The PCM records the operating conditions when the Conditions for Setting the DTC are met. The PCM stores this information as Freeze Frame and Failure Records.
    • The PCM stores DTC P1825 in PCM history during the second consecutive trip in which the Conditions for Setting the DTC are met.

Conditions for Clearing the MIL/DTC

    • The PCM turns OFF the MIL during the third consecutive trip in which the diagnostic test runs and passes.
    • A scan tool can clear the MIL/DTC.
    • The PCM clears the DTC from PCM history if the vehicle completes 40 warm-up cycles without an emission-related diagnostic fault occurring.
    • The PCM cancels the DTC default actions when the ignition switch is OFF long enough in order to power down the PCM.

Diagnostic Aids

Refer to Transmission Internal Mode Switch Logic .

Test Description

The numbers below refer to the step numbers on the diagnostic table.

  1. This step tests the IMS for an open ground circuit.

  2. This step tests for correct reference voltage from the PCM.

DTC P1825

Step

Action

Value(s)

Yes

No

1

Did you perform the Diagnostic System Check - Engine Controls?

--

Go to Step 2

Go to Diagnostic System Check - Engine Controls in Engine Controls - 4.0L

2

  1. Install a scan tool.
  2. Turn ON the ignition, with the engine OFF.
  3. Important: Before clearing the DTC, use the scan tool in order to record the Freeze Frame and Failure Records. Using the Clear Info function erases the Freeze Frame and Failure Records from the PCM.

  4. Record the DTC Freeze Frame and Failure Records.
  5. Clear the DTC.
  6. Select IMS on the scan tool.
  7. Place the gear select lever in each transmission range: P, R, N, D4, D3, D2, and D1.

Does each range selected match the scan tool IMS display?

--

Go to Intermittent Conditions in Engine Controls - 4.0L

Go to Step 3

3

  1. Select IMS A/B/C/P on the scan tool.
  2. Place the gear select lever in each transmission range: P, R, N, D4, D3, D2, and D1.

Does the IMS A/B/C/P display match the specified value for each range selected?

HI/HI/HI/HI

Go to Step 13

Go to Step 4

4

  1. Turn OFF the ignition.
  2. Disconnect the AT inline 20-way connector. Additional DTCs may set.
  3. Turn ON the ignition, with the engine OFF.
  4. Select IMS A/B/C/P on the scan tool.

Does the scan tool IMS A/B/C/P parameter indicate HI for all range signal states?

--

Go to Step 5

Go to Step 9

5

  1. Turn OFF the ignition.
  2. Install the J 44152 Jumper Harness (20 pins) on the engine side of the AT inline 20-way connector.
  3. Turn ON the ignition, with the engine OFF.
  4. Using the DMM and the J 35616-A GM Terminal Test Kit, measure the voltage at terminal F of the J 44152 .
  5. Refer to Automatic Transmission Inline 20-Way Connector End View .

  6. Measure the voltage at terminal G of the J 44152 .
  7. Measure the voltage at terminal H of the J 44152 .
  8. Measure the voltage at terminal J of the J 44152 .

Does the voltage measure ignition voltage at all four terminals?

--

Go to Step 6

Go to Step 10

6

Connect a fused jumper wire from terminal F of the J 44152 , signal A circuit, to ground while monitoring the scan tool IMS A/B/C/P parameter.

Refer to Automatic Transmission Inline 20-Way Connector End View .

When the signal A circuit (CKT 771) is grounded, do any other signal circuits indicate LOW?

--

Go to Step 11

Go to Step 7

7

Connect a fused jumper wire from terminal G of the J 44152 , signal B circuit, to ground while monitoring the scan tool IMS A/B/C/P parameter.

Refer to Automatic Transmission Inline 20-Way Connector End View .

When the signal B circuit (CKT 772) is grounded, do any other signal circuits indicate LOW?

--

Go to Step 11

Go to Step 8

8

Connect a fused jumper wire from terminal H of the J 44152 , signal C circuit, to ground while monitoring the scan tool IMS A/B/C/P parameter.

Refer to Automatic Transmission Inline 20-Way Connector End View .

When the signal C circuit (CKT 773) is grounded, do any other signal circuits indicate LOW?

--

Go to Step 11

Go to Step 12

9

Test the signal circuits (CKTs 771, 772, 773, and 776) of the IMS that did not indicate HI for a short to ground between the PCM connector C1 and the AT inline 20-way connector.

Refer to Testing for Short to Ground and Wiring Repairs in Wiring Systems.

Did you find and correct the condition?

--

Go to Step 18

Go to Step 17

10

Test the signal circuits (CKTs 771, 772, 773, and 776) of the IMS that did not indicate ignition voltage for an open between the PCM connector C1 and the AT inline 20-way connector.

Refer to Testing for Continuity and Wiring Repairs in Wiring Systems.

Did you find and correct the condition?

--

Go to Step 18

Go to Step 17

11

Test the affected signal circuits of the IMS for a shorted together condition between the PCM connector C1 and the AT inline 20-way connector.

Refer to Circuit Testing and Wiring Repairs in Wiring Systems.

Did you find and correct the condition?

--

Go to Step 18

Go to Step 17

12

Test the signal circuits (CKTs 771, 772, 773, and 776) of the IMS for an open or shorted condition between the AT inline 20-way connector and the IMS.

Refer to Circuit Testing in Wiring Systems.

Did you find a condition?

--

Go to Step 15

Go to Step 16

13

Test the ground circuit (CKT 1151) of the IMS for an open between the AT inline 20-way connector and the ground distribution block.

Refer to Testing for Continuity and Wiring Repairs in Wiring Systems.

Did you find and correct the condition?

--

Go to Step 18

Go to Step 14

14

Test the ground circuit (CKT 1050) of the IMS for an open between the AT inline 20-way connector and the IMS.

Refer to Testing for Continuity in Wiring Systems.

Did you find a condition?

--

Go to Step 15

Go to Step 16

15

Important: The automatic transmission wiring harness consists of two separate harnesses, the Automatic Transmission Wiring Harness Assembly, GM P/N 15320475, and the Automatic Transmission Wiring Extension Harness Assembly, GM P/N 15320478. In order to avoid the unnecessary replacement of parts, determine which harness contains the fault and replace only that harness.

Replace the automatic transmission wiring harness.

Refer to Input Speed Sensor and Wiring Harness Removal in the 4T80-E section of the Transmission Unit Repair Manual.

Did you complete the replacement?

--

Go to Step 18

--

16

Replace the transmission internal mode switch.

Refer to Control Valve Lower Body Disassemble in the 4T80-E section of the Transmission Unit Repair Manual.

Did you complete the replacement?

--

Go to Step 18

--

17

Replace the PCM.

Refer to Powertrain Control Module Replacement in Engine Controls - 4.0L.

Did you complete the replacement?

--

Go to Step 18

--

18

Perform the following procedure in order to verify the repair:

  1. Select DTC.
  2. Select Clear Info.
  3. Turn ON the ignition, with the engine OFF.
  4. The IMS must indicate a valid range for 5 seconds.
  5. Select Specific DTC.
  6. Enter DTC P1825.

Has the test run and passed?

--

Go to Step 19

Go to Step 2

19

With the scan tool, observe the stored information, capture info. and DTC info.

Does the scan tool display any DTCs that you have not diagnosed?

--

Go to Diagnostic Trouble Code (DTC) List in Engine Controls - 4.0L

System OK