GM Service Manual Online
For 1990-2009 cars only
Makes
🢒
Oldsmobile
🢒
1996
🢒
Bravada
🢒
Engine
🢒
Engine Controls - 4.3L (VIN W)
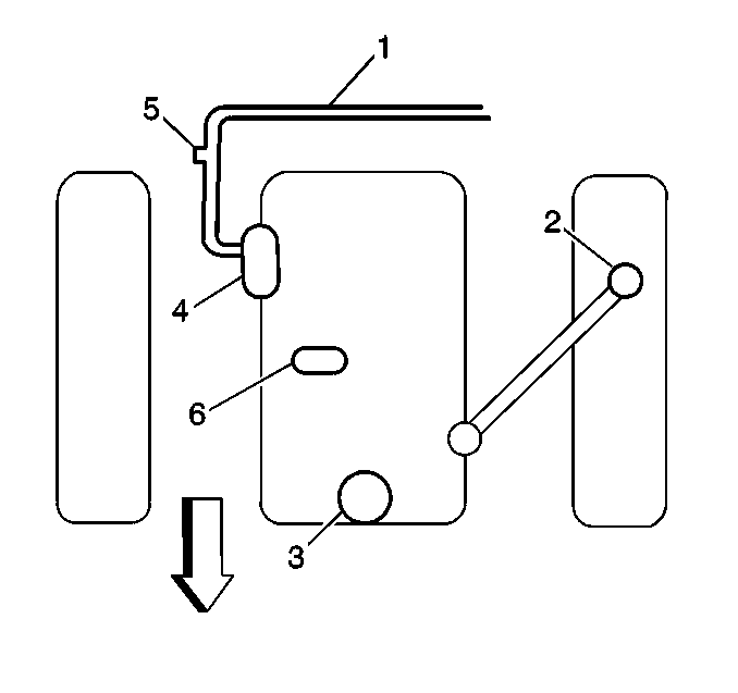
🢒 Emission Hose Routing Diagram
(1)
EVAP purge vacuum hose (to EVAP canister).
(2)
Positive Crankcase Ventilation (PCV) valve.
(3)
Throttle Body.
(4)
EVAP Purge Solenoid.
(5)
EVAP Service Port.
(6)
Manifold Absolute Pressure (MAP) sensor.