GM Service Manual Online
For 1990-2009 cars only
  1. Remove the wiper blade assembly from the wiper arm.

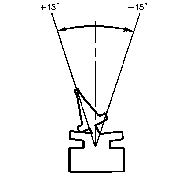
  2. Object Number: 8469  Size: SH
  3. The centerline of the element must be within 15 degrees of the centerline of the blade assembly.
  4. Replace the element if the element is not within specifications. Refer to Wiper Blade Element Replacement .