GM Service Manual Online
For 1990-2009 cars only
Makes
🢒
Oldsmobile
🢒
1998
🢒
Bravada
🢒
Body and Accessories
🢒
Wiring Systems
🢒 Cigar Lighter/Power Outlet Schematics
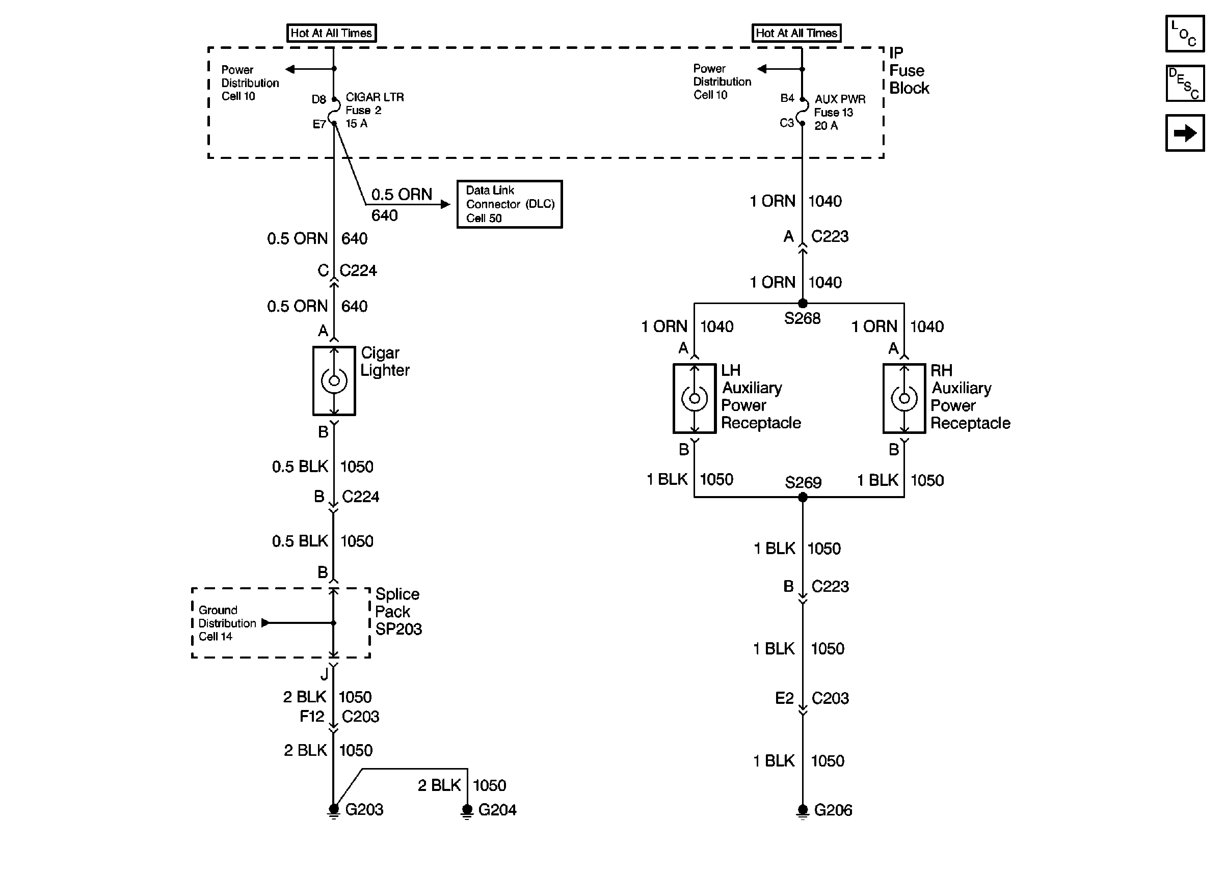
Figure
1:
Cell 19: Cigar Lighter and Auxiliary Power Receptacles
Power and Grounding Components
Cigar Lighter/Auxiliary Outlet Circuit Description
Cell 19: IP Compartment
Power Distribution Schematics
Power Distribution Schematics
Data Link Connector Schematics
Ground Distribution Schematics
Figure
2:
Cell 19: IP Compartment
Power and Grounding Components
Cigar Lighter/Auxiliary Outlet Circuit Description
Cell 19: Cigar Lighter and Auxiliary Power Receptacles
Ground Distribution Schematics
Ground Distribution Schematics
Ground Distribution Schematics
Data Link Connector Schematics
Power Distribution Schematics
Power Distribution Schematics