GM Service Manual Online
For 1990-2009 cars only

Rear of Vehicle Sits Low, Electronic Controlled Air Suspension (ECAS) Compressor Runs - Will Not Lift Rearto Operating Height (Repair ECAS Compressor with Check Valve Service Kit)

Subject:Rear Of Vehicle Sits Low, Electronic Controlled Air Suspension (ECAS) Compressor Runs -- Will Not Lift Rear to Operating Height (Repair ECAS Compressor With Check Valve Service Kit)

Models:2002 GMC Envoy/Envoy XL (New Body Style) with Electronically Controlled Air Suspension (RPO G67)
2002 Oldsmobile Bravada (New Body Style)



Condition

Some customers may comment that the rear of the vehicle sits low and will not return to normal operating height. The customer may be able to hear the ECAS compressor running.

Cause

The compressor check valve may be sticking in the compressor housing, not allowing the ECAS compressor to build pressure and raise the rear of the vehicle.

Correction

Important: Do not replace ECAS compressor P/Ns 15094346 or 15745306.

Follow the service procedure below to correct this condition.

    Caution: A sudden release of pressure may cause personal injury or damage to the vehicle. The air suspension system is under pressure until the air supply lines are disconnected. Use the following precautions when servicing the air suspension system:

       • Wear gloves, ear protection, and eye protection.
       • Wrap a clean cloth around the air supply lines.

    Important: 

       • Depressurize the air suspension system only after the rear axle is supported and is set between D- Height and Full Jounce.
       • Remove the air suspension system fuse before working on the rear suspension components or the rear axle. Failure to remove the air suspension system fuse could cause the calibration of the air suspension leveling sensor to change and the air suspension system not to function properly.

  1. Remove the #1 30 amp ECAS fuse from the UBEC.
  2. Lower the spare tire (Envoy XL model ONLY).
  3. Raise and support the vehicle. Refer to Lifting and Jacking the Vehicle in General Information (SI Document ID #744862).
  4. Remove the air spring compressor to frame mounting bolts.
  5. Disconnect the air inflator switch electrical connections, the air supply lines and the air spring compressor vent hose from the air spring compressor.
  6. Remove the air spring compressor from the vehicle.
  7. Clean the ECAS cylinder head area with Brake Cleaner, P/N 12377982 (Canadian P/N 12377981) or equivalent and compressed air.

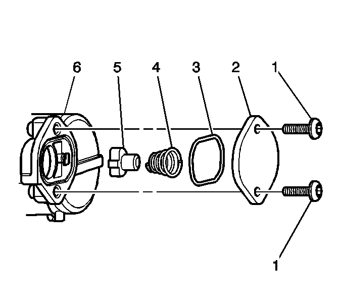
  8. Object Number: 865940  Size: SH
  9. Remove the air compressor valve cylinder head screws (1) using a T25 TORX® bit and remove the cylinder head (2).
  10. Remove the O-ring (3), the spring (4) and the check valve (5).
  11. Important: DO NOT allow any foreign material to fall into the compressor head.

  12. Clean the old thread locking compound from the aluminum body (6) tapped holes using a M5 x 0.8 thread cleaning tool.
  13. Clean any foreign material away from the sealing area.
  14. Important: 

       • The new check valve (5) and O-ring (3) come pre-greased. DO NOT add additional grease.
       • The groove in the cylinder head (2) must be installed facing the compressor (6) in order to properly retain the O-ring.

  15. Install the new pre-greased check valve (5), the spring (4), the O-ring (3), the cylinder head (2) and the screws (1) from the service kit, P/N 15183676.
  16. Tighten
    Tighten the cylinder head screws (1) to 5 N·m(44 lb in).

    Important: Ensure that the color on the air supply lines match the color on the air spring compressor for reassembly. The right side line is clear and the left side line is black. Right and left is also indicated on the compressor.

  17. Install the air supply lines with existing fittings to the air spring compressor.
  18. Tighten
    Tighten the air supply line fittings to 2.25 N·m (18.5 lb in).

  19. Connect the air inflator switch electrical connections, the air supply line and the air spring compressor vent hose to the air spring compressor.
  20. Install the air spring compressor to frame mounting bolts.
  21. Tighten
    Tighten the air spring compressor to frame mounting bolts to 25 N·m(18 lb ft).

    Important: Inspect the rear air springs for proper seating before inflating the rear air springs.

  22. Lower the vehicle.
  23. Install the spare tire (Envoy XL model).
  24. Install the #1 30 amp ECAS fuse in the UBEC.
  25. Start the engine and run for approximately 1-3 minutes to ensure that the air spring leveling system is functioning properly.
  26. Inspect the D height. Refer to Trim Height Inspection Procedure in the Suspension General Diagnosis sub-section (SI Document ID #742595).
  27. Inspect for air leaks. Refer to Corporate Bulletin Number 01-03-99-001 (SI Document ID #815500) for assistance on leak diagnosis.

Parts Information

Part Number

Description

15183676

ECAS Compressor Service Kit

Parts are currently available from GMSPO.

Warranty Information

For vehicles repaired under warranty, use:

Labor Operation

Description

Labor Time

E6015

Compressor Asm, Rear Air Suspension - R

1.0 hr

Add

Rebuild Compressor w/ service kit

0.2 hr

Add

For Envoy XL Model

0.1 hr