GM Service Manual Online
For 1990-2009 cars only
Figure 1:

Front Lamps, GMC


Object Number: 748374  Size: MF
(1)Headlamp-Left
(2)Headlamp Connector
(3)Marker Lamp
(4)Park/Turn Signal Lamp
Figure 2:

Fog Lamp and Cornering Lamp, GMC


Object Number: 748375  Size: MF
(1)Fog Lamp
(2)Cornering Lamp
Figure 3:

Fog Lamp, Chevrolet


Object Number: 748376  Size: MF
(1)Forward Lamp Harness
(2)Fog Lamp
Figure 4:

Front Lamps, Chevrolet


Object Number: 748377  Size: MF
(1)Headlamp-Left
(2)Headlamp Connector
(3)Fog Lamp Connector
(4)Park/Turn Signal Lamp
(5)Marker Lamp
Figure 5:

Front Lamps, Oldsmobile


Object Number: 748378  Size: MF
(1)Headlamp Connector
(2)Fog Lamp
(3)Cornering Lamp
(4)Marker Lamp
(5)Forward Lamp Harness
(6)Park/Turn Lamp
Figure 6:

Automatic Transmission, Left Side


Object Number: 747523  Size: MF
(1)Backup Switch
Figure 7:

Courtesy Lamp and Headlamp Switch Connectors


Object Number: 748381  Size: MF
(1)Courtesy Lamp
(2)Headlamp Switch Connectors
Figure 8:

Stop Lamp Switch


Object Number: 748384  Size: MF
(1)Stop Lamp Switch
Figure 9:

Multi-function Switch


Object Number: 748385  Size: MF
(1)Multi-function Switch
(2)C201
Figure 10:

Hazard Switch


Object Number: 760534  Size: MF
(1)Hazard Switch
(2)Steering Column
Figure 11:

Cutaway View of Left Sunshade


Object Number: 1228674  Size: MF
(1)Vanity Mirror Lamps, LF
Figure 12:

Turn Signal/Hazard Flasher Module


Object Number: 783110  Size: MF
(1)Left IP Harness
(2)Turn Signal/Hazard Flasher Module
Figure 13:

Courtesy/Reading Lamps and Cargo Lamps (Short Wheelbase Shown, Long Wheelbase Similar)


Object Number: 1214788  Size: MF
(1)Courtesy/Reading Lamp-LF
(2)Courtesy/Reading Lamp-LR
(3)Cargo Lamp
(4)Headliner
(5)Courtesy/Reading Lamp-RR
(6)Courtesy/Reading Lamp-RF
Figure 14:

Door Jamb Switch, Miniwedge-LR


Object Number: 748389  Size: MF
(1)Door Jamb Switch, Miniwedge-LR
Figure 15:

Tail Lamp


Object Number: 906360  Size: MF
(1)Body Harness
(2)Tail Lamp Connector
(3)Tail Lamp
Figure 16:

Backup Lamps


Object Number: 748430  Size: MF
(1)Backup Lamps
Figure 17:

Center High-Mounted Stop Lamp


Object Number: 906359  Size: MF
(1)Frame Above Body Back Opening
(2)Tail Lamp Connector
(3)Tail Lamp
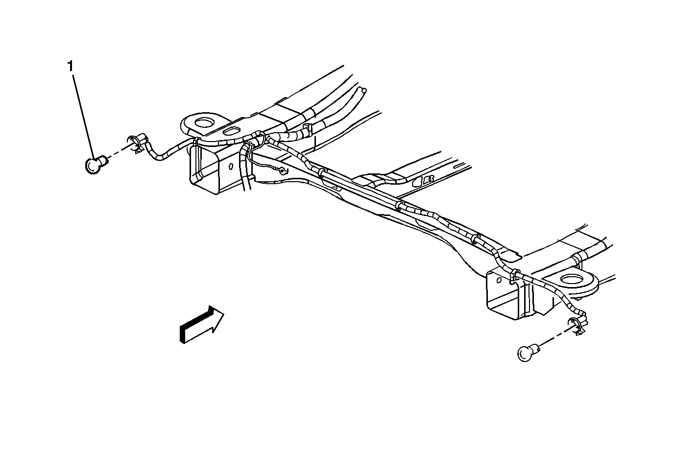
Figure 18:

Trailer Connector


Object Number: 754942  Size: MF
(1)Trailer Connector