GM Service Manual Online
For 1990-2009 cars only
Makes
🢒
Oldsmobile
🢒
1998
🢒
Cutlass
🢒
Body and Accessories
🢒
Wiring Systems
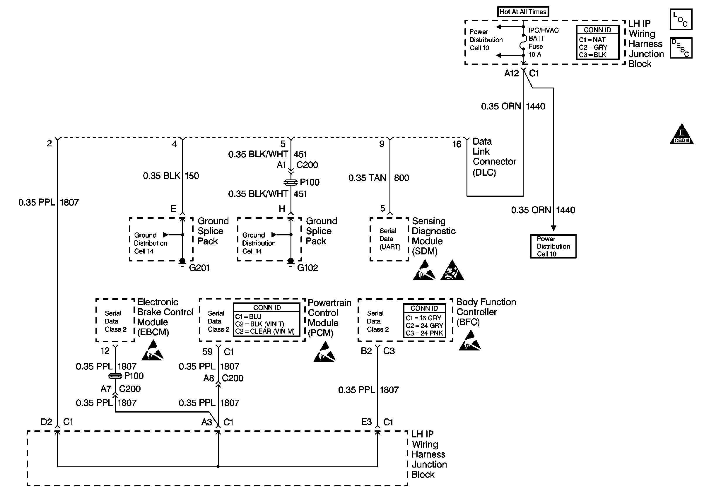
🢒 Data Link Connector Schematics
Cell 50
Power Distribution Schematics
Power Distribution Schematics
Data Link Communications Components
Data Link Communications Circuit Description
OBD II Symbol Description Notice
SIR Handling Caution
Ground Distribution Schematics
Ground Distribution Schematics
Handling ESD Sensitive Parts Notice
Handling ESD Sensitive Parts Notice
Handling ESD Sensitive Parts Notice
Handling ESD Sensitive Parts Notice